УАБ США (программа 'Пэйв Уэй")
США являются лидером в разработке ВТО, в том числе УАБ. Начало разработки УАБ на базе штатных неуправляемых бомб Мк 82, Мк 83, Мк 84 было положено двумя аналогичными прораммами: "Скиппер", которая осуществлялась фирмами "Эмерсон Электрик" и "Аэроджет Дженерал", и "Пэйв Уэй", которая осуществлялась фирмой "Тексас Инструменте". Хотя первоначально эти программы были задуманы как конкурирующие, но затем они превратились во взаимодополняющие. Действительно, УАБ AGM-123A ("Скиппер") фирмы "Эмерсон" является одним из образцов семейства УАБ "Пэйв Уэй".
Образцы УАБ с лазерными полуактивными СН, разработанные в США по программе "Пэйв Уэй", являются стандартом для разработки своих УАБ в других странах. Предложенная в 1963 г. в США концепция по созданию УАБ с полуактивной лазерной ГСН на базе штатных авиабомб в 1965 г. была выбрана Управлением вооружения ВВС США в качестве основной и ей было дано приоритетное развитие. Программа "Пэйв Уэй" продемонстрировала удивительную жизнеспособность и полностью себя оправдала. Надо отметить, что такой устойчивый интерес к УАБ с лазерными ГСН связан с их исключительной простотой и надежностью, как в изготовлении, так и в боевом применении, а также относительно низкой стоимостью.
|
|
|
Указанные УАБ применялись в боевых действиях в Юго-Восточной Азии и Вьетнаме для поражения ЗРК ПВО, электростанций, железнодорожных узлов и станций, складов ГСМ, нефтехранилищ, мостов, бункеров, фортификационных сооружений и других объектов, значительная доля которых является малоразмерными и прочными целями.
Семейство УАБ, разработанное по программе "Пэйв Уэй" постоянно совершенствуется и успешно развивается. Бомбы данного семейства, являются базовыми образцами, по которым сравниваются вновь разрабатываемые.
В зависимости от использования базового варианта БЧ УАБ получили следующее обозначение:
семейство «Пейв Уэй-I»
на базе Мк 82 - GBU-12A/B; на базе Мк 84 - GBU-10/B, GBU-10A/B;
на базе М118 - GBU-11A/B; на базе SUU-54/B - GBU-2/B ("Рокай-И"Мк 20);
семейство «Пейв Уэй-II»
на базе Мк 82 - GBU-12D/B. Е/В; на базе Мк 83 - GBU-16B/B, С/В; на базе Мк 84 - GBU-10E/B, F/B; на базе МС 1000 - Мк 13/18; на базе HSM - GBU-17/B;
семейство «Пейв Уэй-III»
на базе Мк 82 - GBU-22/B; на базе Мк 83 - GBU-23; на базе Мк 84 - GBU-24/B; на базе BLU-109 - GBU-24A/B; на базе Мк 83 с ракетным двигателем - AGM-123 "Скиппер"; на базе Мк 84 - GBU-27; на базе BLU-109 - GBU-27/B. на базе BLU-113 - GBU-28/B.
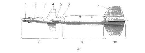
Разработка и испытания первых образцов УАБ с лазерной флюгерной ГСН на базе штатных неуправляемых авиабомб Мк 82, Мк 83, Мк 84, М117 (рисeyjr 80), М118 были выполнены в период 1965-1968 гг. в рамках программ "Пэйв Уэй" и "Скиппер", которые затем были приняты на вооружение. УАБ, созданные в рамках программ "Пэйв Уэй-1, -II, -III", разрабатывались по единым принципам на базе существующих обычных АБ и отличались лишь качественными и некоторыми конструктивными характеристиками, повышающими их боевые возможности. УАБ, созданные по этим программам, конструктивно-компоновочно практически одинаковы (рисунок 10.20): передний отсек со стандартным лазерным флюгерным координатором цели, блоком наведения, блоком управления с источником питания, рулями и приводом рулей; боевая часть штатной АБ; хвостовая часть с аэродинамическими поверхностями элементов конструкции, сопрягаемые с БЧ, отличаются друг от друга размерами в зависимости от калибра. Все остальные элементы системы идентичны. УАБ имеют аэродинамическую схему "утка" и общую с обычными АБ систему подвески на носитель.
|
|
|
Внешний вид типовых образцов УАБ II поколения GBU-12 и GBU-10 представлен на рисунках.10.21, 10.22, а семейство УАБ "Пэйв Уэй II" (в сопоставительном виде) - на рисунке 10.23.
Для наведения бомбы с лазерной ГСН необходимо, чтобы цель непрерывно подсвечивалась лучом лазера, причем точность бомбометания в большей степени определяется тем, насколько стабильно удерживается луч лазера на цели.
После отделения бомбы от самолета приемное устройство, расположенное в ГСН, начинает принимать отраженный от цели сигнал лазера подсветки. При всяком отклонении бомбы от курса, заданного ей отраженным лучом лазера, на выходе приемного устройства вырабатывается сигнал рассогласования, который воздействует на приводы рулей бомбы, возвращающие ее на заданный курс.


Рисунок 10.20 Конструктивно-компоновочная схема УАБ по программам "Пэйв Уэй-I (а) и "Пэйв Уэй-1I (б):
- оптическая головка обнаружения цели;
- отсек приемника отраженной энергии;
- отсек вычислительного устройства;
4 - рули (по схеме "утка");
5 - отсек управления;
6 - кольцевой переходник;
7 - удлинитель крыла;
8 - система наведения и управления с ЭВМ;
9 - корпус боевой части;
10 - крыльевой отсек

Рисунок. 10.21. Управляемая авиационная бомба GBU-12 (программа "Пэйв Уэй-II")
|
Рисунок. 10.22. Управляемая авиационная бомба
GBU-10 (программа "Пэйв Уэй-И")

Рисунок. 10.23. Семейство управляемых авиационных бомб с полуактивной флюгерной лазерной системой наведения:
GBU-10 (Mk 84), Мк 13/20. GBU-12 (Мк 82), GBU-16 (Мк 83)
(программа "Пэйв Уэй-II")
Наличие дымки или тумана снижает дальность действия СН бомбы и уменьшает вероятность попадания. По мнению иностранных специалистов, это один из существенных недостатков бомбы с лазерной ГСН.
К недостаткам можно отнести большую нижнюю границу высот боевого применения (бомбометание с горизонтального полета требовало полета высоты более 1,5 км, с пикирования УАБ применялись с 1,2...2,2 км при углах сбрасывания 25...40°), что объяснялось особенностями метода наведения и необходимостью лазерной подсветки цели, вплоть до момента подрыва БЧ. Кроме того, было сложно обеспечить одновременное наведение нескольких УАБ на расположенные рядом цели, так как относительно большое поле зрения ГСН приводило к "захвату" бомбой другой цели и срыву выполнения боевой задачи.
Особое место среди этих УАБ занимает авиабомба GBU-17 с лазерным наведением, разработка которой была завершена в 1982 г. Эта специальная авиабомба предназначена для поражения особо прочных целей с толщиной железобетонного перекрытия до 1,2 м (заглубленных командных пунктов, узлов связи, тоннелей, складов, укрытий подземного и полуподземного типов, особо защищенных пусковых установок ракет, фортификационных сооружений и т.д.). Она снаряжается БЧ двойного действия HSM, заключенной в особо прочный корпус. При попадании авиабомбы в цель сначала срабатывает головной кумулятивный заряд, пробивающий в преграде глубокий канал, в который затем проникает заряд БЧ фугасного типа. Его подрыв происходит с некоторым замедлением. Испытания показали, что авиабомба, оснащенная двумя ракетными ускорителями, может без рикошетирования разрушать бетонные плиты толщиной до 4,5 м.
|
|
|






