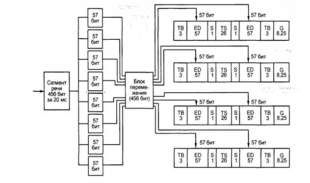
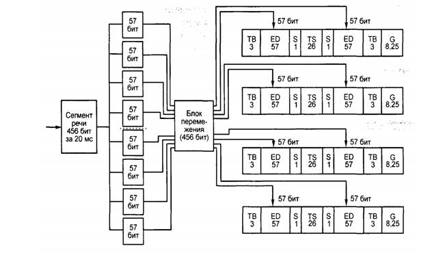
Схема блочного диагонального перемежения в стандарте GSM.
Структурная схема кодера канала стандарта GSM.
Пример действия перемежения на практике
На практике часто применяют несколько ступеней интерливинга. После первичного перемежения, затем берется кадр, включающий в себя несколько первых кадров интерливинга, после чего еще раз проводят процедуру. Подобная двойная схема перестановки позволяет очень хорошо защитить сигнал и избежать практически всех длительных ошибок в канале связи.
Также к положительным эффектам процедуры Interleaving можно отнести повышение помехоустойчивости канала связи. Дело в том, что схемы интерливинга могут меняться со временем. Это усложняет для противника процесс выделения полезного сигнала и требует больших временных и вычислительных ресурсов.
Использование перемежения - одна из характерных особенностей сотовой связи, и это является следствием неизбежных глубоких замираний сигнала в условиях многолучевого распространения, которое практически всегда имеет место, особенно в условиях плотной городской застройки. При этом группа следующих один за другим символов, попадающих на интервал замирания (провала) сигнала, с большой вероятностью оказывается ошибочной. Если же перед выдачей информационной последовательности в радиоканал она подвергается процедуре перемежения, а на приемном конце восстанавливается прежний порядок следования символов, то пакеты ошибок с большой вероятностью рассыпаются на одиночные ошибки. Известно несколько различных схем перемежения и их модификаций - диагональная, блочная, свёрточная и другие.
|
|
|
Кодер канала следует после кодера речи и предшествует модулятору.
Главной его задачей является помехоустойчивое кодирование речевого сигнала, то есть такое кодирование, которое позволяет обнаруживать и в значительной мере исправлять ошибки, возникающие при распространении сигналов по радиоканалу от передатчика к приемнику, например, от передатчика MS к приемнику BTS и наоборот.
Помехоустойчивое кодирование осуществляется за счет введения в состав передаваемого сигнала достаточно большого объема избыточной информации, при этом может реализоваться кодирование с упреждающей коррекцией ошибок — FEC coding {Forward Error Correcting coding).
В сотовых системах связи помехоустойчивое кодирование выполняется в виде трех процедур:
- блочного кодирования (block coding);
- сверточного кодирования (convolutional coding);
- перемежения (interleaving).
Кроме того, кодер канала выполняет еще ряд функций:
- добавляет управляющую информацию, которая, в свою очередь, подвергается помехоустойчивому кодированию;
|
|
|
- упаковывает подготовленную к передаче информацию и сжимает ее во времени;
- осуществляет шифрование передаваемой информации

В кодеке канала кодируются/декодируются как речевая информация, так и информация каналов управления, то есть информация каналов трафика ТСН и информация каналов управления ССН.
В то время как в информации канала трафика кодируется лишь часть битов, информация каналов управления кодируется в полном объеме.
Рассмотрим кодирование сегмента речевого сигнала, полученного на выходе кодера речи и имеющего:
- параметр фильтра STP — 36 бит,
- параметр фильтра LTP — 36 бит,
- параметр сигнала возбуждения (СВ) — 188 бит, то есть за 20 мс передаются в сегменте речевого сигнала 260 бит.
В кодере канала 260 бит информации разделяются на 2 класса:
- класс 1 — в него включено 182 бита, защищаемых помехоустойчивым кодированием;
- класс 2 — в него включены оставшиеся 260- 182 = 78 бит, которые передаются без помехоустойчивого кодирования.

Рис. Обобщенная схема кодирования в полноскоростном речевом канале
Информация подкласса 1a кодируется блочным кодом, обнаруживающим ошибки, - укороченным систематическим циклическим кодом (53, 50), дающим 3-битовый код четности. Затем вся информация класса 1 переупаковывается, располагаясь в следующей последовательности: биты с четными индексами, код четности подкласса 1a, биты с нечетными индексами в обратной последовательности, четыре добавочных нулевых бита - всего 189 бит. Эти 189 бит подаются на сверточный кодер (2, 1, 5) со скоростью кодирования R=1/2 и длиной ограничения K= В результате 378 бит с выхода сверточного кодера вместе с 78 битами класса 2 составляют 456 бит, т.е. поток информации речи на выходе кодера равен 456 бит/20 мс, или 22,8 кбит/c. Структурная схема канального кодирования изображена на рис. 4.
При декодировании информации речи также сначала выполняется сверточное декодирование информации класса 1, и при этом исправляются ошибки в пределах возможностей кода свертки. Затем по коду четности проверяется наличие остаточных ошибок в информации подкласса 1a, и, если такие ошибки обнаруживаются, информация данного сегмента не идет в последующую обработку, а заменяется интерполированной информацией смежных сегментов.
Перед выдачей в канал связи закодированная информация речи также подвергается перемежению. В стандарте GSM используется сложная схема блочно-диагонального перемежения.
В стандарте GSM используется достаточно сложная и совершенная схема блочного диагонального перемежения. Полученные 456 бит информации одного 20-миллисекундного сегмента речи разбиваются на 8 подсегментов по 57 бит каждый(456/8=57).

Далее в блоке перемежения реализуется алгоритм перемежения, обла-
дающий свойствами квазислучайности, так что смежные биты исходной
последовательности разделяется непостоянным числом бит, причем после
перемежения 57 бит одного подсегмента распределяются между смежны-
ми восемью подсегментами таким образом, что смежными с каждым конкретным битом оказываются соответствующие ему по положению биты,
отстоящие от него до перестановки на 4 подсегмента, причем на четные и нечетные (после перестановки) битовые позиции подсегмента ставятся биты из смежных сегментов.
Таблица перемежения для речевой последовательности бит имеет вид:

После перемежения бит информации одного речевого сегмента распределяются по одноименным слотам (временным интервалам) четырех последовательных кадров канала трафика: два поля по 57 бит в слоте и каждое 57-битовое поле снабжается дополнительным скрытым флажком S,помечающим информацию речи.

Рис. Структура кадра и мультикадра в стандарте GSM.
Алгоритм перемежения обладает свойствами квазислучайности, так что смежные биты исходной последовательности оказываются разделенными непостоянным числом бит, что является преимуществом в борьбе с периодическими битовыми ошибками.
|
|
|
После перемежения 456 бит информации одного сегмента распределяются по одноименным слотам четырех последовательных кадров канала трафика - два поля по 57 бит в слоте, и каждое 57-битовое поле снабжается дополнительным скрытым флажком, помечающим информацию речи (в отличие от информации управления канала FACCH, который кодируется иначе).
Информация каналов управления подвергается блочному и сверточному кодированию в полном объеме. Для кодирования информации каналов SACCH, FACCH, FCCH, PCH, AGCH, SDCCH используется блочный кодер (224, 184), сверточный кодер (2, 1, 5), и та же схема перемежения, что и для каналов трафика. В каналах RACH, SCH используются другие схемы блочного кодирования, а также сверточные кодеры (2, 1, 5), отличающиеся от сверточных кодеров перечисленных ранее каналов управления. При ПД используются более сложные схемы сверточного кодирования и перемежения, обеспечивающие более высокое качество передачи информации.
Длительность слота канала трафика, с учетом добавления вспомогательной и служебной информации, составляет 156,25 бит, и, так как информация одного 20-мс сегмента речи занимает по одному слоту в четырех последовательных кадрах, результирующий поток информации составляет 625 бит/20 мс, или 31,25 кбит/с. Эта информация сжимается во времени в 8 раз, так что на протяжении одного кадра длительностью 4,615 мс передается информация восьми временных слотов, в результате чего частота битовой последовательности возрастает до 250 кбит/с. На каждые 12 кадров канала трафика, несущих информацию речи добавляется по одному кадру с информацией управления канала SACCH (кадры 13 и 26 мультикадра). Таким образом, частота информационной битовой последовательности на выходе кодера канала составляет 270,833 кбит/с.
Полученные 456 бит за 20мс разбиваются на 8 подсегментов по 57 бит каждый.

В блоке перемежения 456 бит на выходе переупакованы(перемежены).
|
|
|
Алгоритм обладает свойствами квазислучайности,чтобы защититься от групповых ошибок.
Смежные биты исходной последовательности разделяются не постоянным числом бит при чем после перемежения 57бит одного подсегмента,биты распределяются таким образом что смежными т.е. соседними битами с каждым конкретным битом оказывается соответствующие ему по положению биты, отстоящие от него до перестановки на 4 подсегмента при чем на четные и нечетные битовые позиции рассматриваемого подсегмента, становятся биты из смежных сегментов.
Сегмент- 20мс на которые мы разбиваем речь.
После перемежения 456бит одного речевого сегмента распределяются по одноименным слотам (временной интервал) 4х последовательных кадров канала трафика.
1кадр=8слотов.
Два поля по 57бит в слоте снабжаются дополнительным скрытым флагом S помечающим тип логического канала 1-речь, 0- информация служебных каналов(при передачи служебной информации, т.е. канал управления информацией будет кодироваться иначе) т.о. длина слота канала трафика с учетом добавления вспомогательной или служебной информации.
TS-26бит-тестовая последовательность, чтобы узнать состояние канала.
3+57+1+26+1+57+3+8,25=156,25бит
Информация одного 20мс сегмента речи занимает по одному слоту в 4х кадрах. Скорость результирующего потока информации составляет:

Эта информация сжимается во времени восемь раз, так что на протяжении одного кадра длительностью 4,615мс передается информация восьми временных слотов, следовательно частота битовой последовательности возрастает в 8раз и равно 250кбит/с

Информация каналов управления подвергается более мощному блочному и сверточному кодированию SACCH,FACCH,AGCCH,SDCCH.
Для кодирования этих каналов используется блочный кодер (n=224,k=184),сверточный кодер (n=2,k=1,K=5), а так же схема перемежения аналогичная сжеме перемежения по речевому каналу.
В каналах синхронизации и случайного доступа используются другие схемы блочного кодирования, а также сверточные кодеры отличающиеся от выше перечисленных.
В характеристиках стандарта используется такой показатель как эффективность использования полосы частот, которая характеризует скорость передачи информации приходящийся на 1Гц полосы занимаемой этим каналом.

По сравнению с американским стандартом DAMPS=1,62.
Контрольные вопросы.
1)Что такое перемежение?
2)Что представляет собой помехоустойчивое кодирование речевого сигнала?
3)Алгоритм перемежения.
Список используемой литературы.
1. https://e.lib.vlsu.ru/bitstream/123456789/1283/1/769.pdf
2. https://bibliofond.ru/view.aspx?id=539017
3. https://celnet.ru/peremez.php






