8.2. Измерение длин линий землемерной лентой
Измерение длины линии АВ осуществляют два исполнителя следующим образом. Задний исполнитель берет одну шпильку из комплекта, остальные шпильки берет передний мерщик.
Закрепив шпилькой задний конец ленты в начальной точке А, задний исполнитель ориентирует переднего таким образом, чтобы лента легла строго в створе измеряемой линии. Передний исполнитель, слегка встряхнув ленту, натягивает ее и закрепляет передний конец ленты шпилькой в точке 1. После этого задний исполнитель вынимает шпильку, а передний оставляет свою в земле, и оба перемещаются вперед на длину ленты. Затем задний исполнитель закрепляет конец ленты за шпильку, оставленную передним исполнителем, и ориентирует его по створу измеряемой линии. Передний исполнитель, встряхнув и натянув ленту, закрепляет шпилькой ее передний конец в точке 2, и процесс измерения повторяется. Таким образом, число шпилек в руке заднего исполнителя соответствует количеству отложенных лент.
|
|
|
После того, как в руке переднего исполнителя не остается ни одной шпильки, задний исполнитель, вынув последнюю шпильку из земли и оставив ленту на месте, передает ему шпильки. Каждая такая передача фиксируется производителем работ. Число передач шпилек задним исполнителем переднему соответствует количеству отложенных 100- или 200-метровых отрезков от начала измеряемой прямой (см. рис.41).
Поскольку расстояние между измеряемыми точками, как правило, не кратно числу уложенных лент, то всегда остается отрезок от последней шпильки до конечной точки измеряемой линии. Этот отрезок называют остатком (домером). Его измеряют по метровым и дециметровым меткам ленты.
Линию для контроля измеряют дважды, в прямом и обратном направлении, и в качестве окончательного результата принимают среднее арифметическое двух измерений. При выполнении измерений в благоприятных условиях расхождение между двумя измерениями не должно превышать относительной ошибки 1:2000. Для контрольного измерения нередко используют другой мерный прибор.
Общую длину измеренной линии при комплекте из 6 шпилек определяют по формуле:
Д=5ℓn + ℓm + r,
где ℓ - длина ленты; n – число передач шпилек от заднего исполнителя переднему; m – число шпилек в руке заднего исполнителя, не считая находящейся в земле; r – длина остатка.
Во избежание поломок, деформаций и ржавления при пользовании стальными землемерными лентами следует соблюдать следующие обязательные правила:
· при разматывании ленты с кольцевой оправы нельзя допускать образования петель;
· нельзя складывать ленту восьмеркой или кругами;
|
|
|
· при работе на дорогах нельзя допускать проезда транспорта по ленте;
· при переноске ленты исполнители должны держать ее за ручки, а не волочить по земле;
· перед наматыванием ленты на кольцевую оправу ее нужно насухо протереть;
· при укладке на продолжительное время хранения ленту необходимо смазать машинным маслом.
![]() | |||||||||||||||
![]() | ![]() | ![]() | ![]() | ![]() | ![]() | ![]() | |||||||||
В
А 1 2 3 4 5 1
Рис. 41. Измерение длины линии землемерной лентой
Для того чтобы получить горизонтальное проложение линии местности, необходимо в измеренную длину линии ввести поправки (рис. 42).
![]() |
Д
h
![]() |
ν
![]() |
d
Рис. 42. Определение поправок для вычисления горизонтального проложения измеренной линии
Д – измеренная длина линии местности;
d – ее горизонтальное проложение;
ν – угол наклона;
h – превышение.
Из рисунка 42 видно: d=Дcosν.
Поправка за наклон ∆ν=Д-d=Д – Дcosν=Д (1-cosν)=2Дsin2
. Эта поправка вводится в измерения всегда со знаком «-».
Поправка за температуру ∆t=α∙(t-t0)∙Д, где α – коэффициент линейного расширения металла, из которого изготовлен мерный прибор; t – температура воздуха при измерении длины линии; t0 – температура при компарировании мерного прибора. Для стали α=12·10-6. Данная поправка вводится в том случае, если (t-t0)>8ºС.
Поправка за компарирование ∆К. Компарированием мерного прибора называется сравнение его длины с длиной эталона или компаратора (линия на бетонном или цементном основании, которая разбита на равные отрезки, закрепленными металлическими метками и измеренными с высокой точностью).
∆К=ℓ-ℓ0, где
ℓ - длина мерного прибора: ℓ0 – длина эталона или компаратора.
Таким образом, если длина мерного прибора меньше длины эталона, поправка вводится со знаком «-», если больше – со знаком «+».
Горизонтальное проложение линии местности вычисляют следующим образом:
d=Д+∆ν+∆t+∆К.
Если линия местности имеет неравномерный уклон, то аналогичные действия выполняют для каждого участка уклона, и горизонтальное проложение линии вычисляют следующим образом: d=d1 + d2 + …dn, где n – число участков разных уклонов на данной линии местности.
8.3. Косвенные линейные измерения
Выполняют при помощи дальномеров геометрического типа, физических дальномеров и путем вычислений по формулам тригонометрии.
8.3.1. Дальномеры геометрического типа
Длину линии получают из решения параллактического треугольника, в котором измеряют параллактический (горизонтальный) угол и сторону – базу (см. рис. 43).
![]() | |||
![]() | |||
Б
ε

ε Б

L L
L=Б ctgε ≈
.
Рис. 43. Принцип измерения длины линии дальномерами
геометрического типа
Оптические дальномеры бывают с постоянным параллактическим углом и с переменной базой в виде вертикальной рейки, устанавливаемой вне прибора (нитяной дальномер), и с переменным параллактическим углом и с постоянной базой (дальномеры двойного изображения, в настоящее время мало применяемы). Номограммные тахеометры – база в виде вертикальной рейки вне прибора. На рисунке 45 показан принцип измерения длины линии местности этими дальномерами.
В настоящее время выпускают лазерные дальномеры (лазерные рулетки). Лазерный дальномер (рис. 44) позволяет измерять расстояния от 0.05 до 200 метров и более с максимальной погрешностью в ± 1 мм. Встроенная память на 20 измерений и одна константа, помимо функций Пифагора (вычисления высоты, ширины), расчета неприступных отрезков, площади, объема, сложения, вычитания, значительно расширяют возможности лазерной рулетки. Появляется возможность измерять наклоны в пределах ±45°, вычислять горизонтальное расстояние по датчику наклона, рассчитывать углы стыка стен, выносить в натуру проектные размеры.
|
|
|
Дальномер оборудован резьбой для установки на штатив и может вести отсчет от задней и передней поверхности дальномера.

Рис. 44. Leica Disto А5
Многофункциональная откидная скоба на торце прибора позволяет производить измерения из внутренних углов, щелей и от различных краев и уступов. Положение откидной скобы прибор автоматически отслеживает и задает соответствующие поправки к результатам замера, это позволяет избежать ошибок при замерах.
Автоматический датчик освещения дальномера включает подсветку дисплея и кнопки "DIST" в условиях плохой освещенности.
С постоянным углом С постоянной базой
![]() | |||
![]() | |||








Б3

ε1

Б1 Б2




ε Б ε2 Б ε3 Б


L1 L2 L1 L2 L3
L3



Рис. 45. Принцип измерения длины линии дальномерами различного типа
Теорию нитяного дальномера можно рассмотреть на примере нитяного дальномера теодолита, который состоит из средней горизонтальной нити и двух дальномерных нитей – верхней и нижней. В качестве постоянного базиса используют нивелирную рейку.
Из рисунка 46, поясняющего теорию нитяного дальномера, видно, что если визирный луч перпендикулярен базе (рейке), то расстояние между теодолитом и рейкой равно произведению С – коэффициента дальномера на количество сантиметровых делений между дальномерными нитями. Постоянной дальномера – с можно пренебречь из – за ее малой величины. У современных приборов С = 100, это значит, что одному сантиметровому делению рейки на местности соответствует 1метр.
Рассмотрим случай, когда визирный луч не перпендикулярен базису (рис. 47). Тогда
dАВ = L·cosν; L = К·n'; n' = n·cosν; отсюда L = К·n·cosν; окончательно получаем, что горизонтальное проложение d=K·n·cosν·cosν=K·n·cos2ν = L· cos2ν, где К – коэффициент дальномера, n – количество сантиметровых делений между верхней и нижней дальномерными нитями, ν – угол наклона линии АВ.
Точность измерения расстояний нитяным дальномером относительно невелика и составляет порядка 1:300 измеряемого расстояния. Однако для многих практических задач инженерной геодезии (прежде всего для выполнения теодолитных и топографических съемок) этой точности оказывается достаточно.
|
|
|
рейка

объектив




О
окуляр рейка
![]() | |||
![]() | |||













верх. дальн.
нить
Р F n
ниж. дальн.
нить
АВ = m+f+D;
(m+f) = с;
D =
; О m f D
L = АВ = С·n + с.
![]() | ![]() |
А В
L
Рис. 46. Теория нитяного дальномера: визирный луч перпендикулярен базису




рейка
ν
n' n
верхняя и нижняя дальномерные нити
![]() |
визир. луч В

теодолит ν
горизонт.





плоскость L
![]() | |||
![]() | |||
ν


dАВ
А
Рис.47. Теория нитяного дальномера: визирный луч
не перпендикулярен базису
8.3.2. Физические дальномеры
По области применения светодальномеры бывают (по ГОСТ 19223-82):
а) СГ – светодальномеры геодезические для измерения длин линий в государственных геодезических сетях, дальность действия до 50 км, точность 6÷110мм. Марки СГ-50 (10, 20, 50 км), СГ-20, СГ-10.
б) СТ – светодальномеры топографические, применяемые для измерений в геодезических сетях сгущения и для выполнения топографических съемок, дальность действия до 15 км, точность 5÷80 мм. Выпускаются СТ-15, СТ-10, СТ-5.
в) СП – светодальномеры, применяемые для измерений длин линий при решении задач прикладной геодезии и маркшейдерии, дальность действия до 3 км, точность 0,3÷11 мм. Выпускаются марки СП-2, СП-3.
Радиодальномеры:
«Луч» - дальность действия 50 км, точность измерений ±15 см, масса 21 кг, 60Вт,12В.
«Волна» - дальность действия 15км, точность измерений ±3 см, масса 10 кг, 10Вт, 12В.
«Трап» - дальность действия 15 км, точность измерений ±3 см, масса <10 кг, 10Вт, 12В.
Светодальномеры и радиодальномеры различают по принципу действия:
а) Импульсные
отражатель

светодальномер

А В
Рис. 48. Принцип измерения длины линии светодальномерами
Длину линии вычисляют следующим образом:
АВ=
где с – скорость распространения электромагнитной волны; t – время. Если средняя квадратическая ошибка времени mt=1·10-6сек., то средняя квадратическая ошибка измерения длины линии mАВ≈300 м.
б) Фазовые
Длина линии равна: АВ=N
∆φ измеряют фазометром; N – количество полуволн.
в) Частотные.
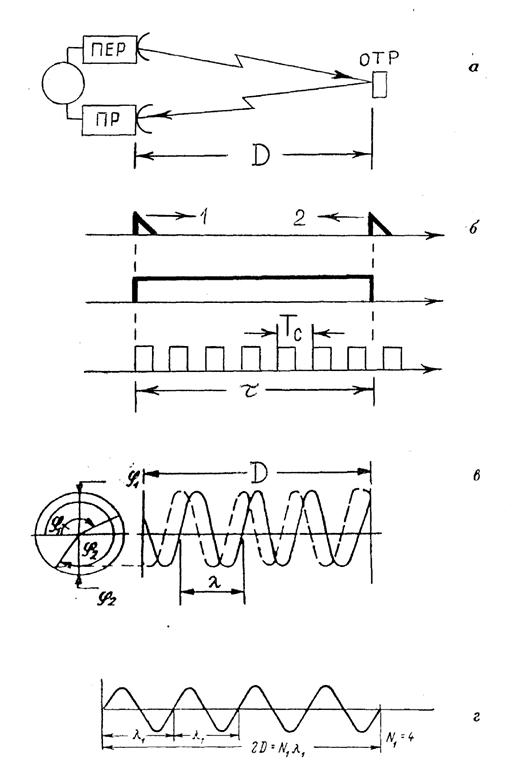
Принцип работы светодальномеров базируется на определении времени τ распределения электромагнитных волн видимого или инфракрасного излучения вдоль измеряемого расстояния 13 (рис. 49,а), на одном конце которого установлен приемо-передатчик ПР-ПЕР, а на другом – светоотражатель ОТР. Поскольку световые сигналы проходят двойное расстояние 2D, то
D =с ∙τ/2n,
где с - скорость распространения световых волн в вакууме, равная 299792456 м/сек; n – показатель преломления воздушной среды, зависящий от ее температуры, плотности и влажности.
Определение времени прохождения электромагнитными волнами измеряемого расстояния производится импульсным и фазовым методами (или их комбинацией).
В импульсных светодальномерах (рис. 49, б) счет времени ведется в первом варианте непосредственным измерением интервала между высланным на дистанцию импульсом 1 и принятым отраженным импульсом 2. Точность измерения времени 1-10 нс., а ошибка в измеренном расстоянии достигает 10 м.
Повышение точности достигнуто во втором варианте - импульсный метод с преобразованием временного интервала (счетно-импульсный метод). Сущность метода состоит в том (рис. 49, б низ), что промежуток времени между импульсами 1 и 2, соответствующий расстоянию 2D, преобразуется в непрерывный прямоугольный импульс, длительностью τ. Полученный прямоугольный импульс заполняется с помощью генератора счетными импульсами высокой частоты и малого периода Тс которые поступают на специальный счетчик импульсов. Таким образом, время распространения сигнала в прямом и обратном направлениях будет равно:
τ=Тс ∙n,
где n – число счетных импульсов генератора, полученное со счетчика импульсов.
В фазовых светодальномерах вместо индикатора времени применен индикатор разности фаз. Существует два типа фазовых светодальномеров:
с фиксированной (рис. 49, в) и с плавно изменяющейся частотой (рис. 49,г). В первом типе дальномеров имеющееся в приборе фазоизмерительное устройство измеряет разность фаз Δφ=(φ2-φ1) для высланного на дистанцию (φ1) и принятого с дистанции (φ2) сигналов. Эта разность фаз соответствует домеру к измеряемому расстоянию ΔD =λ∙Δφº/360º, а измеряемое расстояние будет:
D =(λ/2)∙(N+Δφº/360º),
где N – целое число волн, уложившихся в 2D; λ – длина волны.
Во втором типе фазовых светодальномеров частоту модуляции плавно изменяют до тех пор, пока в двойном расстоянии от приемопередатчика до отражателя не уложится целое число N волн или полуволн. Тогда:
D=λ∙N/2.
Для определения числа N измерения ведут на нескольких частотах.

Рис. 49. Принцип действия импульсных и фазовых светодальномеров
Светодальномер 2СТ-10 предназначен для измерения линий в полигонометрических ходах, при сгущении геодезических сетей с длинами сторон до 10 км. Его можно устанавливать как на самостоятельной подставке, так и на теодолитах серий 2Т и 3Т. В светодальномере 2СТ-10 использован импульсный метод измерения расстояний с преобразованием временного интервала (рис. 49).

Рис. 50. Светодальномер 2 СТ-10
1 – цифровое табло, 2 – лицевая панель, 3 – ручка КО, 4 – ручка
; 5 – ручка СИГНАЛ, 6 – крышка, 7 – переключатель НАВЕД-СЧЕТ, 8 – рукоятка наводящего устройства, 9 – рукоятка закрепительного устройства, 10 – винт юстировочный, 11 – стойка, 12 – винт-фиксатор, 13 – рукоятка наводящего устройства, 14 – рукоятка закрепительного устройства, 15 – окуляр визирного канала, 16 – кнопки рt, 17 – переключатель режимов работы
В комплект светодальномера 2СТ-10 входят: отражатели, источники питания, зарядное устройство, барометр, термометр, штативы, набор инструментов для юстировки и мелкого ремонта. Оптическая и электронная части светодальномера заключены в корпус с объективом, замкнутый крышками и лицевой панелью 2 (рис. 50). На лицевой панели 2 расположены переключателъ 17 режимов работы, кнопка 16 «рt» ввода значений атмосферного давления и температуры воздуха, ручка 3 КО установки контрольного отсчета, записанного в формуляре светодальномера, ручка 4 (см. рис. 50) регулировки подсвета сетки визирного канала, ручка 5 СИГНАЛ регулировки уровня сигнала, переключатель 7 НАВЕД-СЧЕТ, цифровое табло 1, окуляр 15 визирного канала. Со стороны объектива на корпусе расположены соединитель для подключения регистрирующего устройства или частотомера и соединитель для подключения кабеля питания. Под заглушкой на крышке расположен конденсатор подстройки частоты задающего генератора. Механизм наведения в вертикальной плоскости выполнен с соосным расположением рукоятки 8 наводящего устройства и рукоятки 9 закрепительного устройства. В основании расположен оптический центрир и цилиндрический уровень для пространственной ориентации светодальномера в горизонтальной плоскости и точной установки его над точкой. Механизм наведения в горизонтальной плоскости выполнен с соосным расположением рукоятки 13 наводящего устройства (см. рис. 50) и рукоятки 14 закрепительного устройства. Отличительной особенностью 2СТ-10 является то, что в нем приемопередатчик и зрительная труба объединены в один канал. Для исключения влияния временных и фазовых задержек, создаваемых электрическими цепями и приводящих к искажению результатов измерений, в схему дальномера введена специальная оптическая ветвь оптического короткого замыкания (ОКЗ), которая включается попеременно с оптической ветвью передатчика, направляющей излучение на отражатель (на ДИСТАНЦИЮ). Разность результатов измерения ДИСТАНЦИИ и ОКЗ, содержащих одни и те же величины временных и фазовых задержек, освобождается при этом от их влияния. ОКЗ образуется путем автоматического перекрытия пучка лучей, идущих от излучателя к объективу, и направления его непосредственно на фотоприемное устройство (ФЭУ). Управление переключающим устройством ОКЗ, обработка результатов измерений на различных частотах и вычисление окончательного результата осуществляется микропроцессорным вычислительным устройством (МПВУ), которое вмонтировано в 2СТ-10. Кнопки и рукоятки управления расположены на лицевой панели (рис.51).

Рис. 51. Лицевая панель светодальномера 2 СТ-10
1 – зрительная труба (приемо-передатчик); 2,8 – переключатели; 3 – регулятор сигнала; 4 – разъем для подключения кабеля питания, 5 – регулятор подсветки сетки, 6 – рукоятка установки контрольного отсчета; 7 – цифровое табло; 9 – кнопки ввода атмосферных поправок; 10 – разъем для подключения накопителя информации; 11 – микротелефон.






















