![]() |
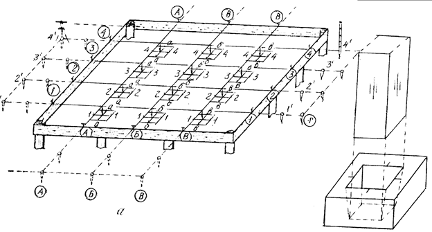
1 – обноска; 2, 3 – монтажная проволока; 4 – оси, спроектированные на дно котлована.
Рис. 98. Передача осей в котлован
14.4.4. Устройство фундамента
Дальнейшие геодезические работы заключаются в устройстве фундамента. Сплошные и ленточные монолитные фундаменты начинают с устройства опалубки, изготовленной согласно проектным размерам фундамента. Сборка частей опалубки производится относительно перенесенных в котлован осей фундамента. По высоте опалубку устанавливают с помощью нивелира. Вертикальность стенок опалубки проверяется отвесом. После окончания бетонирования фундамента производят исполнительную съемку и на плане указывают величины отклонения от проекта в горизонтальной и вертикальной плоскостях.
Для выполнения дальнейших разбивочных работ в местах пересечения осей здания на фундаменте закладывают металлические пластинки 100×100 мм и переносят на них теодолитом основные оси.
Если здание имеет подвальную часть, то одной из последующих задач геодезической службы является контроль за возведением стен подвала.
|
|
|
14.4.5. Разбивочные работы при установке стальных и
железобетонных колонн в проектное положение
Геодезические работы при установке колонн начинаются с разбивки сетки колонн, то есть обозначения на местности осей колонн в плане (рис. 99). На основе полученных осей устраивают фундаменты под колонны: подколонники с анкерными болтами для стальных и стаканы для железобетонных колонн.



Рис. 99. Разбивка осей колонн
14.4.6. Вынос нулевого горизонта
Последним видом геодезических работ при нулевом цикле строительства является вынос на цоколь здания продольных и поперечных осей и нулевого горизонта. Оси выносят с помощью теодолита со створных точек и обозначают вертикальными штрихами на цоколе. Поскольку стен первого этажа еще не существует, то отметку чистого пола первого этажа (нулевой горизонт) выносят также на цоколь, уменьшив ее на целое число десятков сантиметров, и закрепляют горизонтальным штрихом или стенной маркой (очень редко). Эту задачу легко понять из рисунка 100.
![]() |
рейка рейка
![]() | ![]() | ||
обноска
в
а
НRр ГИ Нпр.
Уровенная поверхность
Рис. 100. Вынос на местность точки с проектной отметкой
Порядок выполнения задачи следующий:
1) Устанавливают рейку на репер с известной высотой НRp, берут отсчет по черной стороне рейки а.
2) Вычисляют горизонт инструмента ГИ= НRp+а и проектный отсчет в=ГИ-Нпр.
3) По команде наблюдателя рейку перемещают по вертикали до тех пор, пока он не увидит проектный отсчет в по рейке.
4) Закрепляют пятку рейки горизонтальным штрихом или вбивают гвоздь.
|
|
|
При выполнении геодезических работ в нулевой период обычно руководствуются следующими нормами точности для жилищного и гражданского строительства. Погрешность взаимного расположения осей не должна превышать ±2 мм. Смещение осей фундамента в плане не допускается более 15 мм. Невертикальность стенок опалубки фундамента не должна быть более 2 мм на 1 м высоты. Допускается увеличение поперечных размеров опалубки не более 100 мм, уменьшение не допускается. Отклонение верхней плоскости фундамента от проекта допускается в пределах ±10 мм. Точность выноса осей колонн относительно осей зданий должна быть ±5 мм. Отклонения осей подстаканников для железобетонных колонн должны обеспечивать непременный зазор 1-1,5 см между колонной и стенкой стакана понизу.
Разбивка и контроль на строительной площадке осуществляется обычно на основе рабочих чертежей. Основными из них являются: 1) заглавный лист проекта, 2) план разбивки главных и основных осей, 3) план фундаментов, 4) план фундаментов под оборудование, 5) поэтажные планы, 6) вертикальные разрезы котлована, фундаментов, стен и т.д., 7) монтажные чертежи промышленного и технического оборудования.
14.5. Надземный цикл строительства
Все работы, связанные с возведением надземной части здания или сооружения, образуют надземный цикл. В состав работ надземного цикла входят:
1) монтаж наружных стен с установкой оконных и дверных проемов;
2) монтаж внутренних стен с установкой санитарно – технических, вентиляционных и дверных блоков;
3) монтаж лестниц, колонн, ригелей, прогонов, перегородок и других элементов зданий;
4) монтаж междуэтажных и чердачных перекрытий;
5) монтаж крыш и кровли;
6) монтаж лифтов, мусоропроводов, газопроводов и т.д.;
7) монтаж санитарно – технических приборов, электросети;
8) отделочные работы;
9) приведение в порядок и благоустройство территории.
14.5.1. Установка стальных и железобетонных колонн
Перед непосредственным монтажом колонн производится исполнительная съемка фундаментов. При этом контролируется положение осей, вынесенных на подколонники, плановое положение анкерных болтов, отметки анкерных болтов и дна стаканов. При монтаже сборных элементов здания и сооружений (выполняется операционный контроль их планового, высотного и вертикального положения относительно разбивочных осей и горизонтов) используются лазерные приборы вертикального проектирования.
Установка колонн в проектное положение сопровождается контролем за правильным расположением их по высоте, по осям и за вертикальностью.
Опорная поверхность каждой колонны должна находиться на определенной высоте. Для доводки опорной поверхности стальных колонн до проектной отметки применяются в основном три способа:
1. Бетонирование направляющих колонны на определенной высоте до ее установки. В этом случае фундамент бетонируют ниже проектной отметки, укладывают на нем с помощью нивелира направляющие закладные части (два швеллера, рельса или уголка) верхними срезами на проектной отметке, выравнивают и затирают бетоном поверхность фундамента на уровне верхних граней закладных частей.
2. Подливка фундамента во время установки колонны. Фундамент также бетонируют на 40-50 см ниже. При подъеме и установке колонны под нее подкладывают стальные подкладки, выверяют ее положение по осям и высоте, а затем подливают фундамент.
3. Бетонирование опорных стальных плит с тремя подъемными винтами.
На бетонированный на 50 мм ниже проектной отметки фундамент устанавливают опорную стальную плиту, с помощью подъемных винтов и нивелира доводят отметку поверхности плиты до проектной, крепят плиту анкерными болтами и бетонируют ее. На верхнюю часть плиты выносят оси колонны.
Положение железобетонных колонн по высоте контролируется чаще всего в процессе установки. С этой целью краном удерживают колонну в проектном положении, задаваемом нивелиром и риской на колонне, в стакане, отметка дна которого на 40-50 мм ниже проектной. Деревянными клиньями расклинивают ее, а после установки по осям и вертикали бетонируют.
|
|
|
В Швеции железобетонные колонны опираются на болт, устанавливаемый на дне стакана и легко регулируемый с помощью резьбы по высоте.
Контроль за правильностью расположения колонн по осям осуществляется по рискам, обозначающим оси на самих колоннах и на фундаментах. При монтаже риски на нижней части колонны совмещают с соответствующими осевыми рисками на подколоннике. После установки колонны в вертикальное положение и верхние осевые риски (на оголовке) будут находиться в проектном положении.
Установка и стальных, и железобетонных колонн в вертикальное положение производится одинаково. Малоэтажные колонны устанавливаются обычно с помощью отвеса. Более высокие колонны в ответственных сооружениях контролируются с применением геодезических инструментов. Простейшим случаем является монтаж с помощью двух теодолитов, установленных с двух сторон колонны под углом около 90º. Каждым теодолитом проектируют верхнюю осевую риску колонны, находящуюся еще не в проектном положении, на уровень нижней риски, установленной в проектном положении, и определяют величину отклонения колонны в верхней части от вертикали. Краном выправляют колонну и повторяют проектирование верхней риски на уровень нижней. Для исключения коллимационной ошибки риски проектируют при двух положениях зрительной трубы теодолита: при КП и КЛ. Для контроля за вертикальностью возможно применение СГП-1, прибора Дроздова, лот – аппаратов и т.д.
Рассмотрим монтаж колонн при помощи лазерных приборов вертикального проектирования. При подготовке колонны к монтажу в верхней ее части закрепляют контрольную марку с диафрагмой, а в нижней – марку с координатной сеткой. Марки закрепляются по ориентирным рискам, нанесенным на гранях колонны. Допускается использовать марки с магнитным основанием.
|
|
|
Лазерный прибор вертикального проектирования устанавливается в рабочее положение на фундаменте и центрируется над ранее вынесенной в натуру точкой, расположенной на линии, параллельной разбивочной оси, примерно в 10-15 см от проектного положения соответствующей грани колонны. Затем, перемещая колонну, совмещают центры марок с центром проекции лазерного пучка.
14.5.2. Контроль за вертикальностью ряда колонн
Вертикальность ряда колонн контролируется чаще всего теодолитом от линии, параллельной основной оси ряда колонн (рис. 101). Зрительной трубой, направленной параллельно оси ряда колонн, визируют на реечку или прибор Дроздова, укрепляемые в верхней части каждой колонны поочередно, и делают отсчет. Отсчет должен быть равен расстоянию между осью ряда и линией, на которой установлен теодолит.
При монтаже колонн отклонения от проекта не должны превышать следующих допусков:
-смещение осей колонн в нижнем сечении относительно разбивочных осей – 5 мм
-отклонение осей колонн от вертикали в верхнем сечении соответственно при высоте колонн до 5 м и более 5 м – 5 – 8 мм
-отклонение отметок опорных поверхностей фундаментов колонн от проектных – 3 мм.

Рис. 101. Контроль за вертикальностью ряда колонн способом
бокового нивелирования
Для контроля за вертикальностью стен существует множество способов и приборов. Простейшим способом является контроль с помощью подвешенного отвеса. Задать вертикальную прямую в натуре можно также с помощью лазерного луча (применялся при строительстве Останкинской телевизионной вышки) и луча визирования зрительных труб специальных приборов для вертикального визирования. Это, например, самоустанавливающийся геодезический прибор СГП-1, представляющий собой вертикальную шарнирно подвешенную в форме маятника зрительную трубу, лотаппараты и лазерные приборы вертикального проектирования (рис. 102). Лотаппараты – это специальные геодезические приборы, позволяющие визировать по вертикальной линии и тем самым проектировать точки снизу вверх или сверху вниз. Приборы для проектирования снизу вверх называют зенит – приборами, для проектирования сверху вниз – надирприборами. Основными составными частями их являются зрительная труба, дающая вертикальный луч, подставка зрительной трубы, подставка с подъемными винтами и точные цилиндрические установочные уровни. В связи с развитием и внедрением в геодезическое приборостроение компенсаторов в последнее время разработано несколько конструкций лотаппаратов с самоустанавливающейся линией визирования. После установки круглого уровня ось визирования этих инструментов устанавливается автоматически в вертикальное положение с высокой точностью (до ±0,2 – 0,3").
При контролировании вертикальности стен измеряют расстояние от стены до визирного луча лотаппарата путем взятия отсчета по горизонтальной рейке, приставляемой к стене на различной высоте.
Увеличение лотаппарата незначительно, поэтому с его помощью возможен вынос вертикальных линий не более 15-20 м с точностью 1-1,5 мм.
Точность выноса отвесных линий зенит-прибором составляет около 1 мм на высоту 100 м.

Рис. 102. Лазерный прибор вертикального проектирования SOKKIA LB-1
14.5.3. Передача осей на верхний монтажный горизонт
После возведения первого этажа на него передают основные оси. Зрительной трубой теодолита, установленного над одной из створных точек, визируют на вертикальную риску цоколя, обозначающую ось здания, и, наклоняя зрительную трубу объективом вверх, проектируют ее на второй этаж. Переводят трубу через зенит и повторяют проектирование. Расстояние между двумя полученными проекциями делят пополам и проводят вертикальный индекс, который будет обозначать один конец основной оси.

Рис.103. Передача осей на верхний монтажный горизонт
Переносить оси зданий снизу вверх можно также с помощью зенит – приборов и лазерных приборов вертикального проектирования.
Устройство визуального наблюдения (УВН) (рис. 104, а) предназначается для проектирования на него лазерного излучения ЛЗЦВ и наблюдения его проекции на монтажном горизонте. Оно представляет собой плоскую металлическую раму с пазами и конусообразным тубусом, закрепленным к ее нижней поверхности. В пазах рамы располагается плексигласовая пластина (палетка), имеющая две степени свободы. Рама с помощью конусообразного тубуса фиксируется в рабочих (круглых) проемах над ЛЗЦВ.
Палетка представляет собой пластину размером 120×120 мм из листового оргстекла, верхняя поверхность, которой матируется. На палетке нанесены две взаимно перпендикулярные линии и параллельно им через 5 мм ряд вспомогательных линий для отсчета положения центра лазерного пятна. Палетка свободно перемещается в пазах рамы. После начальной выставки, когда центр пятна совпадает с центром перекрытия палетки, ее положение фиксируется с помощью стопорных винтов рамы.
а)


На рисунке:
-устанавливают прибор над данной точкой (зенит-прибор с помощью оптического отвеса, а для установки лотаппарата поворотной призмой визирную ось направляют вниз);
-на монтажном горизонте над прибором укрепляют прозрачную пластину (при необходимости для этого в перекрытиях делают отверстия);
-визируют вверх (ось лотаппарата направляют вверх поворотной призмой) и на пластине отмечают карандашом или иглой пересечение нитей каждый раз при повороте зрительной трубы на 90 (4 положения), в результате чего получают на пластине 4 проекции точки, над которой поставлен прибор;
-соединяют прямыми линиями противоположные проекции и на пересечении получают окончательное положение проекции нижней точки на пластине;
-закрепляют проекцию выносками, по которым она восстанавливается в необходимых случаях.
Рис. 104. а) Устройство визуального наблюдения проекции лазерного луча ЛЗЦВ: 1 - конический тубус; 2 - металлическая рама; 3 - плексигласовая палетка;
4 - стопорный винт;
б) схема построения отвесной линии оптическим прибором вертикального
проектирования ПВП
Перед укладыванием перекрытия нивелируют стены через 5 м.
На уложенное перекрытие передают отметку от нулевого горизонта или репера. Порядок передачи отметки такой же, как и при передаче в котлован. Абсолютная отметка вычисляется по формуле:
Нэ=Н0+З+(а - в) - П.
Следует помнить, что при сооружении ответственных объектов в процессе передачи отметки по этажам или в котлован отсчеты по рулетке необходимо исправлять за ее растяжение от подвешенного груза, от собственного веса и за температуру.
При менее ответственных сооружениях передавать отметку на этаж можно простым промером рулеткой от нулевого горизонта по стене.
После передачи отметки на этаж производится нивелирование перекрытия по квадратам со стороной 3 или 5 м.
Внутреннее оборудование монтируется относительно нулевого горизонта и осей здания, имеющихся с внутренней стороны стен.
Для контроля поверхности при выполнении отделочных работ, при установке панелей, монтаже решеток для подвесных потолков, для контроля положения фундамента, задания «нулевого» уровня для полов, выравнивания стен и т.п. применяют построитель лазерных плоскостей, задающий видимые опорные плоскости на расстоянии до 30-50 м. Такие лазерные приборы обычно служат для создания двух или трех видимых ортогональных лазерных плоскостей, относительно которых выполняют соответствующие измерения (рис. 105).
а)
б) 
Рис. 105. Лазерные нивелиры: б) двухплоскостной, СКО 5 мм на 10 м
14.5.4. Исполнительные съемки
На заключительном этапе строительного процесса выполняют исполнительные съемки с целью оценки фактического положения вновь построенных сооружений, их элементов, формы, размеров и их соответствия проектным данным.
В процессе строительства и после него ведут учет выполненных работ. Для определения положения в плане и по высоте возводимых сооружений и их частей производят специальные геодезические измерения, совокупность которых называют исполнительной съемкой.
Исполнительной съемке подлежат не все части сооружений, а только те, от которых зависит прочность, устойчивость сооружений, точность монтажа, а также последующие условия эксплуатации. Обычно в проекте производства работ устанавливают перечень тех частей сооружения, которые подлежат исполнительной съемке. Работу по производству исполнительных съемок выполняет заказчик, либо по его заданию – проектная организация, разрабатывавшая проект данного строительного объекта.
При проверке качества возведения тех частей сооружения, которые в процессе последующих строительных работ будут перекрыты другими частями и элементами, производят промежуточные исполнительные съемки с подготовкой необходимой отчетной документации (планы, профили и т.д.).
Исполнительные съемки производят с использованием геодезической разбивочной основы строительства. Геодезический контроль осуществляют измерением превышений, расстояний, углов относительно опорных осей и точек с записью результатов в специальные ведомости или на магнитные носители информации. В результате выполненных контрольных геодезических работ и исполнительных съемок устанавливают все отклонения построенного сооружения от проекта, намечают пути их устранения, принимают решение о продолжении последующих строительных работ, либо осуществляют приемку завершенного объекта с соответствующей оценкой качества строительства.
Погрешность измерений при исполнительных съемках допускается не более 0,2 величины отклонений, допускаемых строительными нормами и правилами, государственными стандартами или проектной документацией.
По результатам исполнительной съемки составляют исполнительный генеральный план, отмечая на нем все отклонения от проекта. Исполнительный генеральный план служит основным документом при приемке завершенного объекта, а также используется при последующей его эксплуатации и реконструкции.



Рис. 106
15. Наблюдения за осадками и деформациями зданий и сооружений
15.1. Причины деформаций оснований сооружений
На стадии эксплуатации необходимы геодезические наблюдения за осадками и деформациями сооружения. Деформации происходят из-за перемещения частиц грунта в горизонтальной и вертикальной плоскостях и подразделяются на две группы:
Общие причины
а) Способность грунтов к упругим и пластическим деформациям под влиянием нагрузки (просадки, оползни, карсты и др.);
б) Неоднородное геологическое строение основания, приводящее к неравномерному сжатию и перемещению грунтов под воздействием веса сооружения;
в) Пучение при замерзании водонасыщенных и оттаивание мерзлых льдонасыщенных грунтов;
г) Изменение гидротермических условий, связанных с сезонными и многолетними колебаниями температуры и уровня грунтовых вод.
Частные причины
а) Землетрясения;
б) Неправильная планировка участка, плохой дренаж атмосферных и паводковых вод;
в) Неточности инженерно – геологических и гидрогеологических изысканий;
г) Ослабление оснований подземными разработками (шахты, метро и др.);
д) Возведение поблизости новых крупных сооружений;
е) Неравномерное распределение давления сооружения по подошве фундамента (ступенчатые, надфундаментные конструкции);
ж) Вибрация фундаментов, вызываемая работой всевозможных машин и механизмов или движением транспорта;
з) Форма, размеры и конструктивная жесткость фундамента.
15.2. Классификация деформаций оснований и сооружений
По вышеизложенным причинам в результате смещения частиц грунта смещаются и части сооружений и их фундаментов. Общая конструкция претерпевает изменение формы, то есть деформации. Если принять начальное (проектное) положение плоскости фундамента за исходное, то в результате ранее указанных факторов эта плоскость будет представлять деформированную поверхность. ЕЕ точки могут перемещаться вверх, вниз и в сторону. Эти перемещения называют соответственно осадкой,подъемом и сдвигом.
Осадки – характеризуются (математически) величиной перпендикуляров, опущенных с начальной горизонтальной плоскости фундамента до пересечения с деформируемой поверхностью. Если эти перпендикуляры равны, то осадки называются равномерными – они не снижают прочности и устойчивости сооружений, но могут быть опасными (накопление грунтовых вод в подвале, нарушение инженерных сетей и др.). Если перпендикуляры не равны, то осадки – неравномерные. Это наиболее опасные осадки. Они приводят к различным деформациям сооружений или его частей (поломка лифта, перенапряжения в несущих конструкциях, трещины и т.д.). Опасность тем больше, чем значительнее разность осадок и чем чувствительнее конструкция.
Подъем – математически характеризуется как и осадка, но имеет противоположный знак.
Сдвиг – математически характеризуется радиусами-векторами перемещения точек фундамента (основания) в горизонтальной плоскости.
В результате осадки, подъема или сдвига могут наступить следующие деформации здания:
а) осадка или подъем всего здания (всех его частей) только в вертикальной плоскости на одинаковую величину (равномерные осадки).
б) Перемещение всего здания в горизонтальной плоскости без поворота или с поворотом вокруг вертикальной оси.
в) Перекос конструкций (для относительно жестких зданий), измеряемый максимальной разностью неравномерных осадок двух соседних опор, отнесенной к расстоянию между ними.
г) Крен (для абсолютно жестких зданий и сооружений) – наклон или поворот основных плоскостей всего сооружения в результате неравномерных осадок без нарушения его цельности и геометрических форм, выражаемые в угловой, линейной или относительной мере (различают крен вертикальных сооружений и крен фундаментов).
д) Относительный прогиб (или перегиб) – частное от деления величины стрелы прогиба на длину изогнувшейся части здания или сооружения.
е) Кручение здания или сооружения – поворот его параллельных поперечных сечений вокруг продольной оси в разные стороны и на разные углы.
ж) Трещины – разрывы в отдельных конструкциях сооружений, возникающие в результате неравномерных осадок и дополнительных напряжений.
Таким образом, осадка, подъем и сдвиг являются источниками всех деформаций. Зная их, можно определять и прогнозировать возможные деформации, а следовательно и предотвращать их. Поэтому важно знать методы этих видов перемещений точек сооружений.
15.3. Методы и точность измерений осадок и деформаций
Наряду с определением величин осадок и деформаций проводят физико-механические наблюдения (свойства грунтов, измерение напряжений и температуры фундамента, колебаний уровня грунтовых вод и т.д.). Геодезические и другие измерения должны быть тесно связаны для выявления причин и закономерностей осадок и деформаций.
Негеодезические измерения дают величину относительной осадки или деформации, приборы устанавливаются на сооружении и перемещаются вместе с ним (отвесы, клинометры, щелемеры, микрокренометры, и др.).
Геодезические измерения позволяют определить и относительную, и абсолютную величину вертикальных и горизонтальных перемещений сооружений по отношению к неподвижным знакам, устанавливаемым на некотором расстоянии от сооружения.
Существует несколько геодезических методов измерений перемещений точек:
а) геометрическое нивелирование 1, 2, 3 классов – измерение вертикальных смещений точек;
б) гидростатическое нивелирование – вертикальное смещение труднодоступных точек, расположенных приблизительно на одной высоте;
в) тригонометрическое нивелирование – измерение вертикальных смещений отдаленных и труднодоступных точек;
г) угловые засечки – измерение смещений точек в горизонтальной плоскости;
д) фотограмметрические методы – определение смещений точек в вертикальной и горизонтальной плоскости путем измерения на стереоприборах фотоснимков осадочных марок на сооружении.
Геодезические осадочные знаки делают специальной формы и располагают их вне зоны влияния осадок и деформаций и с учетом специальных требований. Приборы для измерений необходимо выбирать с учетом требуемой точности (современные приборы позволяют определять осадки с точностью до 0,01 мм).
Точность работ определяется чувствительностью конструкции к осадкам, скоростью осадок, значимостью сооружения. Точность определения осадок
±1 мм является достаточной, так как расчет конструкций производится с точностью до миллиметра.
15.4. Организация наблюдений за осадками методом
геометрического нивелирования
Метод геометрического нивелирования является наиболее точным, удобным и распространенным. Наблюдения осуществляются с помощью высокоточных нивелиров: Н 05; Ni 005А и др. и инварных реек относительно неподвижных геодезических знаков. В качестве последних служат глубинные реперы различных конструкций, закладываемые на глубину до коренных пород.
Для этих же целей используют лазерные приборы. Их преимущество - возможность полной автоматизации процесса измерений с непрерывной регистрацией результатов. В комплект аппаратуры входит лазерный нивелир с самоустанавливающейся линией визирования, нивелирные рейки с фотоэлементами, включенными в полярную схему. Фотоприемное устройство отслеживает положение лазерного пучка. При неравномерном освещении фотоэлементов вырабатывается управляющее напряжение, которое подается на электродвигатель. Электродвигатель перемещает фотоэлементы рейки до тех пор, пока направляющее напряжение не станет равным нулю, что соответствует одинаковой освещенности фотоэлементов. Результаты измерений регистрирует запоминающее устройство. Таким образом, запоминающее устройство непрерывно записывает вертикальные перемещения контролируемой точки. Стабильность горизонтального положения лазерного пучка составляет 0,3-0,5" при наклоне прибора до 15'.
Применяются цифровые нивелиры, которые также позволяют автоматизировать процесс наблюдений за деформациями.
Для наблюдений за основанием сооружений в их цоколе через определенные расстояния закладывают осадочные марки (контрольные реперы) различных конструкций. Если нет прямой связи между глубинными реперами и осадочными марками, то дополнительно закладывают промежуточные (рабочие)



