12.2.2 Камеральные работы
1.Контроль полевых документов.
2.Вычисление Х, У, Н точек съемочного обоснования.
3.Обработка журнала тахеометрической съемки: вычисление ν, d, h, Η по тахеометрическим таблицам или по формулам. Пояснением формул служит рисунок 77.



рейка
![]() |
V
визирный луч hтабл.
В


L
теодолит Гориз. плоскость h
![]() |



i
i

d



А
Рис. 77. Схема измерения реечной точки на станции
тахеометрической съемки
V + h = hиз табл. + i; h = hиз табл.+ i – V; hиз табл = d·tgν; h = d·tgν + i – V, где i – высота инструмента, V – высота наведения, h – превышение, hиз табл – табличное превышение. Н = Нст.+h, Нст. – отметка станции, точки стояния теодолита, Н – отметка реечной точки.
5. Нанесение съемочных точек с помощью транспортира и линейки или тахеографа (совмещает в себе оба инструмента) способом полярных координат.
6. Вычерчивание ситуации и рельефа.
7. Оформление плана в соответствии с условными знаками.
При работе с электронным тахеометром камеральные работы заключаются в передаче данных в компьютер при помощи кабеля USB, съемной карты памяти или Bluetooth, а затем обработки полученной информации. Вычисление координат и высот реечных точек и построение топографического плана получают, как программные продукты обработки материалов измерений. Используют компьютерные программы CREDO, AutoCAD и др.
|
|
|
12.3. Электронные тахеометры
При тахеометрической съемке применяют электронные тахеометры. Эти инструменты предназначены для непосредственного измерения в полевых условиях, превышений, горизонтальных проложений и приращений прямоугольных координат. Электронные тахеометры разделяются на полярные: β, d, h (Н - высота) определяются и высвечиваются на табло; ортогональные: измеряются и вычисляются ∆х, ∆у, h, Χ, Υ, Η. Формулы, на основе которых составлена программа мини-ЭВМ следующие: d = D·cosν; h = d·sinν; ∆х = d·cosν; ∆у = d·sinν, где d – горизонтальное проложение, ν – угол наклона линии местности.
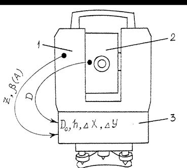
Электронный тахеометр Та3М используется при топографических съемках, в инженерной геодезии, при сгущении сетей, в полигонометрии, а также для тригонометрического нивелирования. При этом все данные характеристик построения сетей увеличиваются в 1,3 раза (в соответствии с СП 11-104-97). Он состоит из трех основных блоков (рис. 75): цифровой теодолит 1 (для измерения угловых величин), светодальномер 2 (для измерения расстояний) и микро-ЭВМ 3 (для решения различных геодезических задач на основе исходных данных и результатов угловых и линейных измерений). С помощью тахеометра можно определить: зенитные расстояния Z, горизонтальные или дирекционные углы β (А), наклонные расстояния Д, превышения или высоты точек визирования h (Н), горизонтальные проложения Д0, приращения координат точек визирования ΔХ, ΔУ. Решение задач на микро-ЭВМ производится по следующим программам: полная – последовательное (раздельное) измерение Z, β, Д и вычисление Д0, Н, ΔХ, ΔУ; полуавтоматическая – последовательное (раздельное) измерение Z, ‚β, Д и автоматическое вычисление Д0; сокращенная – автоматическое измерение β, Z и определение Д0; слежения – измерение Д, β, ‚Z, Д0, Н, ΔХ, ΔУ по перемещаемому отражателю. Вся оперативная и содержащаяся в памяти микро-ЭВМ информация индицируется на цифровом табло и может быть выдана в регистратор информации.
|
|
|
Микро-ЭВМ снабжена программами для вычисления и выдачи на табло следующих величин:
Д0=Д sіnZ; h=Д·соsZ; ΔХ =Д0·соsА; ΔУ=Д0·sіnА.

Рис. 75. Блок-схема Та3М
Основные технические данные Та3М:
Точность измерения: горизонтальных углов 4", зенитных расстояний 5", наклонных расстояний, мм, 5+3·10∙Д. Диапазон измерения расстояний: зенитных, градус (45-135), наклонных, м (2-2500). Время измерения отсчета, сек, не более: горизонтальных углов 1, зенитных расстояний 2, наклонных расстояний 10. Масса тахеометра, 6.4 кг. Напряжение источника питания, В 6.5-8.5. Потребляемая мощность, Вт, не более 4.5. Габариты тахеометра, мм 230х170х348. В комплект тахеометра входят малый и большой отражатели, источник питания с разрядно-зарядным устройством, штативы, вехи, соединительный кабель, запасные части. Для измерения углов в тахеометре применен растровый датчик накопительного типа. В качестве датчика угла применен фотоэлектрический преобразователь угол-код. В дальномерном канале использован импульсный метод измерения расстояний с преобразованием временного интервала (см. работу со светодальномером). Приемопередающая система светодальномера совмещена с оптической визирной системой в общем корпусе зрительной трубы. Зрительная труба переводится через зенит только окулярным кольцом. На рис.76 показан общий вид тахеометра Та3М со стороны окуляра (а) и объектива (б) зрительной трубы. В таблице 6 приведены названия составных частей тахеометра и их назначение.

Рис. 76. Электронный тахеометр ТА3М
При работе с тахеометром Та3М используют систему кнопок, рукояток, переключателей, расположенных на левой и правой стойках колонки 4 и на панелях управления 1, 15.
Документы, получаемые в результате полевых работ: журналы тахеометрической съемки, абрисы съемки. Абрисы составляют в масштабе съемки в виде круговых диаграмм или в горизонталях. Снятые точки сразу наносят полярным способом на абрис без использования линейки и транспортира, поскольку окружности на круговых диаграммах проводят обычно через 1 см и разбивают заранее через каждые 20°. Абрис является полевым контролем определения планового положения съемочных точек и контролем нанесения их на план при составлении плана съемки.
Таблица 6 – основные части тахеометра ТА3М


12.4. Нивелирование поверхности по квадратам
Одним из видов наземных топографических съемок является нивелирование поверхности. Нивелирование поверхности по квадратам – один из наиболее распространенных способов этого вида съемки.
Перед нивелированием разбивают на местности сетку квадратов со сторонами от 10 до 200 м в зависимости от масштаба, рельефа и назначения съемки.
Каждая вершина закрепляется колышком, забиваемым вровень с землей. Рядом забивают сторожок с номером вершины 1а, 2в и т. Д. Разбивка производится теодолитом и дальномером (лентой). При малых сторонах квадратов сначала разбивают внешний контур участка, а затем внутренние вершины квадратов. Если стороны квадратов большие, разбивают две взаимно перпендикулярные линии в центре участка. От этих линий разбивают вершины остальных квадратов путем построения прямых углов и откладывания расстояний по полученным направлениям. Пункты геодезической опорной сети, имеющиеся на участке, включаются в сеть квадратов. Кроме вершин квадратов на местности закрепляются плюсовые точки, расположенные в характерных точках рельефа и на перегибах скатов, находящихся внутри квадратов и на их сторонах. Положение точек определяется от ближайших сторон или вершин квадратов.
|
|
|
![]() | ![]() |
Схему разбивки сетки квадратов и плюсовых точек вычерчивают на бумаге (рис. 78). На схеме стрелками показывают характерные линии рельефа и направления, по которым можно проводить интерполирование горизонталей. Она служит абрисом горизонтальной съемки местности, которая производится одновременно с разбивкой квадратов. Основным способом съемки является способ перпендикуляров; применяют также способ линейных засечек (при малых размерах квадратов).












а 1 2 3 4 5 6






I 25 44 луг с редким






б 30
43 лесом






в кустарник
луг
г 40
Рис. 78. Схема квадратов с абрисом горизонтальной съемки местности
При съемках слабо выраженного рельефа с высотой сечения h=0,25 м нивелируют точки через 10 – 40 м на местности, а при h=0,5 м – через 50 – 100 м.
При нивелировании квадратов могут встретиться три случая.
1) Стороны квадратов более 100 метров.
2) Стороны квадратов менее 100 метров, рельеф средней сложности.
3) Стороны квадратов менее 100 метров, рельеф спокойный.
В зависимости от этого нивелируют каждый квадрат отдельно, несколько квадратов с одной станции, все квадраты с одной станции.
1 случай: нивелир устанавливают приблизительно в центре квадрата и берут отсчеты в четырех вершинах и плюсовых точках. Форма журнала соответствует схеме сети квадратов. Отсчеты записываются возле каждой вершины или плюсовой точки. Сначала нивелируют ряды квадратов, расположенных по внешней границе участка. Внутренние квадраты нивелируют через один. Контроль: суммы накрест лежащих отсчетов или разность горизонта инструмента соседних квадратов должны быть равны с точностью ±5 мм.
|
|
|
а1+в1=а2+в2 или в1-а1=в2-а2.
2 случай: при нивелировании с одной станции группы квадратов сначала выбирают связующие точки между станциями так, чтобы они образовали замкнутый ход. Отсчеты вначале берут на связующие точки по двум сторонам рейки. Вершины квадратов и плюсовые точки нивелируют как промежуточные по черной (основной) стороне рейки. Запись измерений производится в обычный нивелирный журнал или на схему сети квадратов. На схеме обязательно показывается, какая группа квадратов, с какой станции нивелируется.
Контроль: превышения между связующими точками, определенные по черной и красной стороне рейки, не должны отличаться более чем на ±5 мм.
3 случай: при нивелировании всех квадратов с одной станции нивелир устанавливают приблизительно в середине участка и берут отсчеты на все вершины и плюсовые точки по одной стороне рейки. Вершина, с которой начинают нивелирование, должна быть хорошо закреплена и сохранена до окончания работ.
Контроль: в процессе работ периодически, после нивелирования нескольких точек, берут отсчет на начальную точку. Он должен оставаться постоянным в пределах точности ±5 мм.
После производства нивелирования и привязки сети квадратов к опорной геодезической сети (плановой и высотной) для камеральной обработки поступают два документа: полевая схема разбивки квадратов и съемки ситуации и журнал нивелирования. В камеральных условиях после контроля полевых документов обрабатывают журнал нивелирования. Составляют план местности, вычерчивают ситуацию и рельеф. Оформляют план в соответствии с условными знаками.
12.5. Фототопографические съемки
Основой фототопографических съемок является процесс определения размеров, формы и взаимного положения предметов местности по их фотоизображениям. Специальная дисциплина, изучающая способы измерения фотоизображений, называется фотограмметрией (измерительной фотографией).
В зависимости от места положения фотографирующего устройства различают космическую, воздушную или аэрофотосъемку и наземную или фототеодолитную съемки (рис. 79).
12.5.1. Аэрофототопографическая съемка
Этот вид съемки выполняется путем фотографирования местности с самолета (вертолета и т.д.) специальным фотоаппаратом (см. рис. 80). Прикладная рамка его ограничивает формат аэроснимка, а имеющиеся на ней координатные метки определяют начало и направление координатной системы аэроснимка. Пересечение оптической оси фотокамеры с плоскостью называется главной точкой снимка, которая характеризуется отсутствием искажений в ней и обычно совпадает с началом координат х0=0; у0=0. В случае ровной местности масштаб аэроснимка выражается 1:N=l:z=fк:H =
, где Н – высота фотографирования, ав – расстояние между двумя какими – либо точками на снимке, АВ – расстояние между этими же точками на местности, М – знаменатель масштаба карты (если масштаб снимка определяют по топографической карте). Фотографирование осуществляется при вертикальном положении оптической оси аэрофотоаппарата (±3º). В этом случае получают плановые фотоснимки с постоянным масштабом. В случае отклонения от вертикали и при наличии пересеченной местности масштаб снимка различен в различных его частях (перспективный снимок).
После фотографирования для измерения аэроснимков и дальнейшего их преобразования в план или карту используют два способа: комбинированный (фотограмметрический) и стереофотограмметрический. При первом способе контуры на плане получают по аэроснимкам, а рельеф снимают в поле способом мензульной съемки.
Стереофотограмметрический метод основан на измерении пары снимков, взаимно перекрывающихся и полученных с конечных точек некоторого базиса В (см. рис. 81). Базисом воздушного фотографирования называется расстояние, пролетаемое самолетом между двумя экспозициями аэрофотоаппарата (расстояние, пролетаемое между двумя фотографированиями). Его можно вычислить по следующей формуле: В=N·в, где N – знаменатель масштаба снимка, в – расстояние в мм между главными точками двух снимков.
y




Аэрофотосъемка
![]() |

x
![]() | |||
![]() | |||
y
![]() |

В х

x



Фототеодолитная съем -
ка
z z

Рис. 79. Фототопографические съемки





















4
![]() |
5

2
1-объектив


2-фотопленка

3 3-прикладная рамка с
координатными мет-
3 fк ками
4-выравнивающая
прижимная плита
5-катушки с фото-







пленкой
1 fк=70мм – фокусное расстояние
объектива
Рис. 80. Схема аэрофотоаппарата

В
![]() |
полезная
площадь
![]() |
Рис. 81. Продольное перекрытие снимков
Самолет выполняет параллельные залеты. При этом пара соседних снимков имеет продольное и поперечное перекрытие. Продольное перекрытие снимков – общая часть фотографируемой местности на предыдущем и последующем снимках (см. рис. 82). Вычисляют продольное перекрытие по следующей формуле:
Р=
%.., где ℓп – общая перекрывающаяся часть снимков, ℓ - длина стороны снимка.
Величина его не должна быть менее 60% - в этом случае снимки образуют стереопару, по которой в дальнейшем получают план или карту местности.
Совместное измерение пары снимков позволяет получать пространственное расположение точек рельефа или объекта. Стереофотограмметрический метод съемки включает три этапа.
1. Летно-съемочные и фотолабораторные работы.
2. Полевые геодезические работы.
3. 






























Камеральные работы.
![]() |











