Рис. 1.34. Тенденция изменения магнитной восприимчивости у парамагнитных осадочных пород в зависимости от стадии их преобразования
Н, км
Метагенез (антрациты) 10
Катагенез (каменные угли)
Диагенез (бурые угли)
5 аргиллиты

Лекция 5. Тема: Методика магниторазведки и ее применение для региональных съемок, поисков и разведки полезных ископаемых, в геоэкологии, инженерной геологии и др.
Методика (технология) магниторазведочных работ включает:
1) Выбор характера и вида съемки, в том числе методы, аппаратуру, технологию;
2) Топографическую (геодезическую) разбивку сети;
3) Увязку результатов профильных (площадных) наблюдений с определением погрешностей;
4) Представление результатов съемки.
Перечисленные виды, методики и технологии в принципе соответствуют гравиметрическим работам с определенной спецификой, касаемой особенностей проявления деформации магнитных полей на том или ином участке исследования. Для производства измерений применяется современная протонная и квантовая аппаратура (магнетометры, где отсутствует сползание нуль пункта). Следовательно, отпадает необходимость в наличии опорных точек. Остаются только контрольные. При этом, топографическая разбивка сети может выполняться с определением координат первой и конечной точек профиля. Остальные координаты определяются мерным шнуром или шагомером.
Приборы, применяемые в магниторазведке носят название магнетометров и подразделяются на:
1) Оптико-механические;
2) Феррозондовые;
3) Протонные;
4) Квантовые.
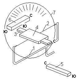
Оптико-механические приборы. Принцип их устройства сходен с устройством гравиметров (рис. 1.35). В настоящее время оптико-механические магнитометры уже не выпускаются, но ещё используются при магниторазведке. На немагнитной металлической проволоке установлен основной магнит, который системой компенсационных магнитов приводится в горизонтальное положение и ориентируется по направлению вектора T. С компенсационными магнитами связаны юстировочные микрометрические винты, по которым производится отсчет показаний магнитной индукции в нанотеслах. В систему визуальных отсчетов входят оптические элементы - линзы (увеличительные и преломляющие). Недостаток оптико-механических магнитометров это сползание нуль пункта.







