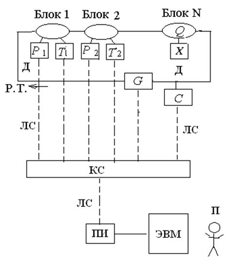
Рис. 2. Схема экспериментальной установки, средств измерения и средств автоматизации
Рис. 1. Техническое устройство и средства измерения
Квадраты – средства измерения (СИ) для определения значений свойств ({ Ti, Pi }, C, G, Х);
Р.Т. – рабочее тело,
Блок 1, Блок 2 и т.д. – части установки.
Техническая задача, стоящая перед оператором (инженер, исследователь), который работает (снимает показания СИ) имеет следующее содержание: получить экспериментальным путем информацию о свойствах, Q, рабочего тела
Q = { T,P,C,G, Х.... },
где Т – температура, Р – давление, С – концентрация компонентов, состав, G - расход рабочего тела, Х – некоторое свойство.
A = { Ai } = (T,P, Х …) – действительные значения теплофизических свойств параметров рабочего тела (вещества), рабочей среды. В их число входят величины параметров состояния рабочего тела T и P.
Подчеркнем определения и термины:
а) рабочее тело (Р.Т.), исследуемое вещество, рабочая среда,
б) свойства, Q, среди них параметры состояния P и T рабочего тела,
|
|
|
в) значения свойств, { Ai},
г) измерение свойства А, экспериментальный путь определения А, экспериментальное определение А,
д) средства измерения.
Этапы решения задачи включают:
а) выбор метода измерения (исследования) заданного свойства, Q,
б) выбор средства измерения или аппаратурного воплощения метода измерения.
в) измерение свойства Q, то есть определение численного значения, A, при взаимодействии рабочего тела, то есть установление численной связи
Q
A. (1)
Операция (1) осуществляется в соответствии с некоторым методом измерения или экспериментальным методом исследования.
Подчеркнем упомянутые определения и термины:
метод исследования (измерения),
средства измерения:
а) датчик, первичный прибор, преобразователь,
б) датчик и вторичный прибор,
Выбор метода относится к теоретической части решения задачи. Метод тесно связан с физическими явлениями и процессами, которые происходят в зоне контакта (К) при взаимодействии СИ и Р.Т.
Общая схема, включающая экспериментальную установку, средства измерения и средства автоматизации измерений дана на Рис. 2.

Квадраты, Д – датчики, по которым оператор определяет/считывает значений свойств
Q = ({ Ti, Pi }, C, G, Х), где давления (Pi) - давления, (Ti) - температуры, C - состав, G - расход, Х – некоторое свойство,
Р.Т. – рабочее тело,
Блок 1, Блок 2 и т.д. – части установки, ЛС – линии связи,
КС – кондиционер сигналов, устройство преобразующее сигнал к заданному условию (форма, величина и т.д.)
ПИ – подсистема измерения,
ЭВМ – компьютер, адаптированный для: 1) измерения сигналов, 2) записи сигналов и 3) управления установкой (линии связи для управления установкой не показаны, блоки управления не показаны),
|
|
|
П – оператор (пользователь, клиент).

Рис. 3. Схема для пояснения термина «метод исследования»
Р.Т. – рабочее тело, D – дисплей, устройство отсчета, К – зона контакта, (αi) – действия, (ßi) – первичные параметры, 1,2,3,4 – ручки\тумблеры управления.
Q – свойство, Р.Т. – рабочее тело
Метод представляет собой совокупность приемов использования различных физических принципов и средств измерения (Базовая формулировка, ГОСТ 16262 - 70).
Принцип измерения это есть физическое явление или эффект, на котором основано измерение заданного свойства. Принципом измерения, например, является использование:
а) силы тяжести при измерении массы при взвешивании на рычажных весах; силы тяжести, действующие на тело и гири, находятся в равновесии,
б) эффекта Доплера при измерении скорости,
в) термоэлектрического эффекта Зеебека для определения температуры Р.Т,
г) спектральных характеристик оптического излучения для определения высоких температур Р.Т.,
д) поворот пружины Бурдона под действием внутреннего давления для определения давления Р.Т.
е) поворот катушки с током в магнитном поле для измерения силы тока.
Всего в метрологии, физике и измерительной технике известно около 1500 различных принципов/ эффектов.
Метод измерения свойства Q представляет собой совокупность действий (αi), которые производятся средством измерения и оператором при взаимодействии СИ и Р.Т. с целью получения значений, (ßi), первичных параметров; (ßi) должны быть подставлены в расчетное уравнение, с использованием которого вычисляют результат А или значение свойства Q.
Расчетное уравнение можно представить в форме
А = f (ß). (2)
На этом этапе мы говорим о термине «измерение», понимая под ним:
а) познавательный процесс, который дает численную информацию А о свойстве Q;
б) экспериментальное исследование, эксперимент, в котором: а) взаимодействуют СИ, Р.Т. и оператор, б) получают численную информацию А о свойстве Q;
Термин «измерение».
Измерение представляет собой познавательный процесс, в котором экспериментально определяется численное отношение А между исследуемым свойством Q и однородным свойством U, принятым за единицу измерения.
Измерение дает результат в виде числа А, которое входит в уравнение измерения заданного свойства Q
Q = AU,(3)
где Q – измеряемое свойство (величина), A – числовое значение свойства, U – единица измерения, эталон.
Модель реального СИ можно представить графически (Рис. 4)







