ОСНОВНЫЕ ПОНЯТИЯ И МЕТОДЫ ПОСТРОЕНИЯ ИЗОБРАЖЕНИЙ НА ПЛОСКОСТИ
Москва
Конспект лекций
ИНЖЕНЕРНО-ГЕОЛОГИЧЕСККАЯ ГРАФИКА
Учебное пособие
Издательство Российского университета дружбы народов
Составитель: В.Н. Калиничев
Начертательная геометрия. Инженерно-геологическая графика. М., РУДН, 2012
Учебное пособие предназначено для студентов дневного, вечернего и заочного отделения специальностей «Разведка месторождений полезных ископаемых», а также студентов, обучающихся по дистанционной форме обучения по указанным специальностям. При подготовке сборника использован учебник «Инженерно-геологическая графика» (авторы Б.М.Ребрик, Н.В.Сироткин, В.Н.Калиничев).
Изображение пространственных форм на плоскости производят в начертательной геометрии методом проекций. Проекцией точки A на плоскости П¢ называют точку A¢ пересечения прямой a с плоскостью П¢ (рис. 1.1). Прямую a принято называть проецирующим лучом, плоскость П¢ - плоск
остью проекций.
Метод центрального проецирования. Для построения фигуры ABCD из точки S пространства, называемой центром проекций проводят проецирующие лучи a, b, c и d к характерным точкам фигуры (рис. 1.2). Совокупность точек A¢, B¢, C¢ и D¢ пересечения проецирующих лучей с плоскостью П¢ представляет собой проекцию фигуры на данной плоскости проекций.
|
|
|
Метод, в котором все проецирующие лучи проходят через одну и ту же точку S пространства, называют методом центрального проецирования, а проекции – центральными.
Метод параллельного проецирования. При удалении центра проекций на бесконечно далекое расстояние от плоскости П¢ центральное проецирование преобразуется в параллельное. В этом случае проецирующие лучи параллельны друг другу и одинаково наклонены к плоскости проекций. Направление проецирующих лучей называют направлением проецирования (рис. 1.3)
В зависимости от направления проецирования параллельные проекции делят на косоугольные и прямоугольные. В прямоугольном проецировании проецирующие лучи перпендикулярны к плоскости проекций, а в косоугольном они составляют с плоскостью проекций угол, не равный 90° (рис. 1.4)
Сущность метода прямоугольных проекций заключается в проецировании изображаемого предмета на две и более взаимно перпендикулярные плоскости проекций лучами, перпендикулярными к этим плоскостям.
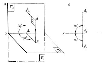
На рис. 1.5 а изображены две взаимно перпендикулярные плоскости проекций: горизонтальная П1 и фронтальная П2. Линия их пересечения x – ось проекций. В пространстве на произвольном расстоянии от этих плоскостей задана точка A. Для построения ее проекций из точки A опускают перпендикуляры на плоскости П1 и П2, которые пересекают эти плоскости в точках A1 и A2. Полученные точки и являются проекциями точки A: A1 – горизонтальная проекция, A2 – фронтальная проекция. Следовательно, прямоугольная проекция точки представляет собой основание перпендикуляра, опущенного из проецируемой точки пространства на плоскость проекций. Расстояние AA2 от точки пространства до фронтальной плоскости проекций называют глубиной точки A, расстояние AA1 до горизонтальной плоскости проекций – высотой точки A.
|
|
|
Из рис. 1.5 видно, что проецирующие лучи AA1 и AA2 определяют некоторую плоскость S, перпендикулярную как к плоскостям проекций, так и к линии их пересечения – оси x. Плоскости проекций П1 и П2 пересекают плоскость S по прямым A1Ax и A2Ax, ось проекций x – в точке Ax. Следовательно, A2Ax^ x; A1Ax^ x.
Удалив точку A и совместив плоскость П1 с плоскостью П2, вращая первую вокруг оси x, получают плоский чертеж, содержащий проекции A1 и A2 проецируемой точки A. В начертательной геометрии его называют комплексным чертежом (рис. 1.5, б).
Проекции точки на этом чертеже располагаются на общем перпендикуляре к оси проекций x. Линию A2A1, соединяющую разноименные проекции точки, называют линией проекционной связи. Комплексный чертеж является обратимым, так как по нему можно реконструировать оригинал (проецируемую точку A). Для этого необходимо в проекциях точки A2 или A1 восстановить перпендикуляр к плоскости чертежа и отложить на нем глубину A1Ax или высоту A2Ax точки. Конец перпендикуляра определит положение точки A в пространстве. Из сказанного следует, что две проекции точки на комплексном чертеже однозначно определяют ее пространственное расположение.

Рис. 1.1 Рис. 1.2

Рис. 1.3 Рис. 1.4

Рис. 1.5






