Перенос теплоты конвекцией связан с движением жидкой или газообразной среды, соприкасающейся с твердым телом (элементом конструкции). Тепловая энергия передается при конвекции как между твердым телом и средой, так и в самой среде. Конвекция называется естественной, если она осуществляется при свободном движении среды за счет разности плотностей холодной и горячей ее областей, и принудительной, если движение среды происходит за счет внешних сил (вентилятора, насоса) (рис. 3.11).
| |
| а | б |
| Рис. 3.11. Естественное (а) и принудительное (б) воздушное охлаждение САУ ЛА |
В невесомости естественная конвекция отсутствует. Конвекционный теплообмен может быть усилен поглощением теплоты при испарении (парообразовании). Выражение (3.2) для определения теплового потока при конвекции (Pк) имеет вид
Pк = kк · S · Δt,
где kк – коэффициент теплоотдачи конвекцией от ФЭ в окружающую среду, Вт/(м2 · 0C). Значения kк сложным образом зависят от многих факторов: формы поверхности, ее ориентации, скорости движения среды, ее вязкости, плотности, характера движения (ламинарное или турбулентное) и т.д. Примерные значения kк для некоторых видов конвективного охлаждения приведены в таблице 3.
Значения коэффициентов теплопередачи kк,Вт/(м2 · 0C)
Таблица 3.2
| Охлаждающая среда, процесс | Движение среды | |
| свободное | вынужденное | |
| Газ Вязкая жидкость (масла) Вода Кипящая вода Конденсация капель водяного пара Конденсация паров органических жидкостей | 2...10 200...300 200...600 500...40000 1000...100000 200...2000 | 10...100 300...1000 1000...3000 500...40000 1000...100000 200...2000 |
Системы воздушного конвективного теплообмена (естественного или принудительного) используются в большинстве наземных. Эффективность естественного воздушного охлаждения повышается с использованием теплообменников с развитой поверхностью, называемых радиаторами (рис. 3.12).
Для принудительного воздушного охлаждения обычно используют малогабаритные осевые вентиляторы (одиночные или объединяемые в блоки).
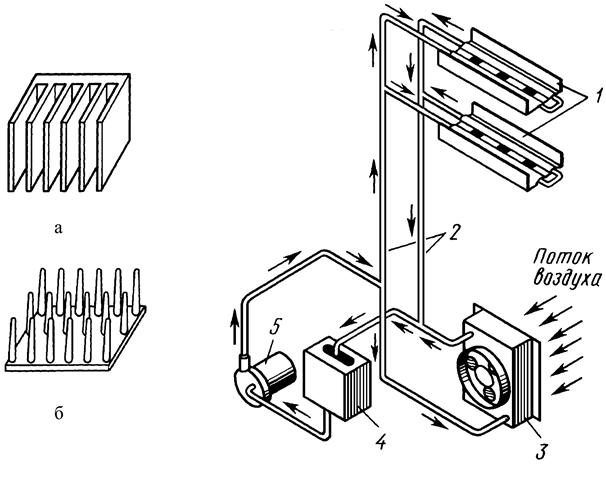
Применение воздушного охлаждения в бортовых САУ ЛА ограничено понижением плотности воздуха с ростом высоты и значительными габаритами радиаторов и вентиляторов. Поэтому для бортовых САУ ЛА чаще используют жидкостные замкнутые СОТР (рис. 3.13). В качестве жидких теплоносителей в них используют воду, аммиак, спирты, этиленгликоль и др. Эти же жидкости обычно применяют и в испарительно-конденсационных СОТР.
| |
| Рис. 3.12. Радиаторы воздушного охлаждения: а – пластинчатый; б – игольчатый | Рис. 3.13. Система жидкостного охлаждения оснований двух блоков: 1 – охлаждаемые основания; 2 – система трубопроводов; 3 – воздушно-жидкостный радиатор с вентилятором; 4 – бак-накопитель жидкости; 5 - насос |
Одной из наиболее эффективных испарительно-онденсационных систем являются теплоотводящие устройства, называемые тепловыми трубами и работающие по принципу замкнутого испарительно-конденсационного цикла, основанного на испарении жидкости в зоне подвода теплоты, передаче теплоты с потоком пара, конденсации пара в зоне отвода теплоты и возвращении жидкости в зону подвода теплоты за счет капиллярных или гравитационных сил. Тепловая труба (рис. 3.14) представляет замкнутую вакуумированную камеру, внутренняя поверхность которой облицована капиллярной структурой (фитилем), заполненной конденсатом рабочей жидкости. В качестве фитиля могут использоваться ткани, керамика или тканная стальная сетка. Коэффициент теплопроводности тепловых труб на 1-2 порядка превышает теплопроводность меди.
|
| Рис. 3.14. Тепловая трубка: 1 – корпус трубки; 2 – капиллярно-пористый материал; 3 – паровой канал; 4 – площадка для охлаждаемого узла; 5 – радиатор охлаждения |






