Теплоотвод излучением
Тепловая мощность (Pл), излучаемая в неограниченное пространство, может быть определена из соотношения
Pл = kл · S · Δt
где kл - коэффициент лучеиспускания, Вт/(м2 · 0C).
Теплообмен излучением возможен в теплопрозрачных, т. е. пропускающих теплоту, средах (газах, вакууме). В жидкости он практически отсутствует. При излучении тепловая энергия переносится электромагнитными волнами. Количество энергии, отводимой излучением, пропорционально четвертой степени температуры тела. Уровень рабочих температур для большинства компонентов и узлов САУ ЛА невелик, поэтому переносом теплоты излучением (при наличии отвода теплоты конвекцией или теплопроводностью) часто пренебрегают. Однако для вакуума (космоса) этим способом теплоотвода пренебречь нельзя, хотя плотность теплового потока не превышает 0,001...0,005 Вт/см2.
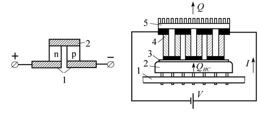
Термоэлектрическое эффект (эффект Пельтье) используется для построения термобатарей путем последовательного соединения полупроводников p- и n-типа (рис. 3.15). При прохождении тока тепло поглощается на верхнем спае и выделяется на нижнем (при указанной полярности). Охлаждая горячий спай (например, конвекцией), можно существенно понизить температуру холодного спая. Для повышения эффективности охлаждения применяют двух- и более каскадные батареи. Термобатареи обычно используются для термостабилизации (активной) отдельных, чувствительных к температуре ФЭ (рис. 3.16). Стабилизация температуры корпуса БИС обеспечивается соответствующей регулировкой тока, проходящего через термоэлемент.
| |
| Рис. 3.15. Схема элементарного термоэлемента: 1 – нижний; 2 – верхний спай | Рис. 3.16. Схема охлаждения БИС термоэлементом: 1 – ПП; 2 – корпус БИС; 3 – керамическая плата; 4 – медная полоска; 5 - радиатор |






