В некоторых вариантах технологических процессов изготовления ПП припойные покрытия на поверхности медного рисунка (всего или части) наносятся методом горячего лужения. В промышленности применяют два способа горячего лужения ПП. Первый способ предусматривает нанесение на плату расплавленного припоя в избыточном количестве с последующим выравниванием его слоя по поверхности проводящего рисунка и удалением излишков. Припой может наноситься методом погружения в него платы, поливом с последующим центрифугированием или волной (рис. 4.28).
Горячим лужением обычно наносят следующие припои: ПОСВ 20-34-46 (20%Sn - 34%Рb- 46% Bi, температура лужения 150 ± 10°С) и сплав Розе (18%Sn - 32%Pb - 50%Bi, температура лужения 145 ± 10°С). Технологический процесс горячего лужения включает в себя переходы: декапирование, нанесение флюса, лужение, промывку, сушку. Второй способ горячего лужения заключается в нанесении на плату строго дозированного количества припоя.
| |
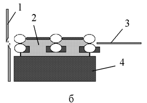
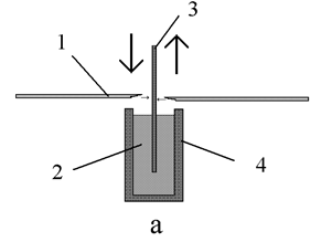
Рис. 4.28. Лужение с выравниванием припоя горячим воздухом в установках вертикального (а) и горизонтального типов:
1 – воздушные ножи; 2 – припой; 3 – ПП; 4 – емкость с припоем
Это осуществляется с помощью специальных паст или валками, вращающимися в расплавленном припое.






