В производстве ПП участки меди, не защищенные резистом, обычно удаляют жидким химическим травлением. Растворы для травления должны удовлетворять ряду требований: высокая скорость травления; взаимодействие раствора и продуктов реакции с защитным слоем резиста и изоляционным материалом подложки должно быть минимальным; раствор должен быть дешевым и недефицитным, безопасным в работе и приготовлении, легко подвергаться регенерации (т.е. восстановлению меди, так как 60-90% фольги уходит при травлении в раствор) и т.д. В промышленных условиях наиболее часто применяются растворы на основе хлорного железа (высокая скорость травления, но не подвергается регенерации и разрушает оловянно-свинцовые резисты) и хлорной меди (меньшая скорость травления, но подвергается регенерации и не разрушает оловянно-свинцовые резисты).
Для улучшения разрешающей способности применяют:
- материалы с тонкой медной фольгой (5 мкм);
- струйную подачу травильного раствора (фактор травления 1,3...1,5).
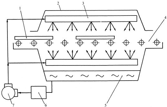
В промышленных установках в основном применяется двусторонняя (одновременно на обе стороны заготовки) вертикальная (сверху и снизу) струйная подача травильного раствора к заготовке, расположенной горизонтально и перемещаемой по конвейеру (рис. 4.26).
|
|
|
|
| Рис. 4. 26. Схема установки струйного травления: 1 – заготовка; 2 – корпус; 3 – разбрызгивающее устройство; 4 – конвейер; 5 – травильный раствор; 6 – регенератор отработанного раствора; 7 – система трубопроводов с насосом |






