Переходный процесс при включении обмотки возбуждения
Простейшим случаем решения уравнений Парка−Горева является исследование переходного процесса при включении обмотки возбуждения на постоянное напряжение. Решение этой задачи имеет большое значение при анализе систем регулирования и форсировки возбуждения, так как выявляет факторы, влияющие на скорость изменения тока возбуждения и скорость изменения ЭДС статора.

Допущения:
1) все начальные условия нулевые
;
2) режим симметричный
;
3) постоянное напряжение возбуждения, т.е. нет АРВ
;
4) статор разомкнут, т.е. токов статора не будет.
.
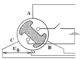
Рис. 8.6. Расчетная модель
С учетом начальных условий уравнения (8.7) принимают вид:



(8.8)


С подстановкой потокосцеплений
;
;
и 
Решение уравнения с учетом табличного соотношения перехода к временной функции
:
− закон изменения тока возбуждения.
− огибающая ЭДС трансформации;
− огибающая ЭДС вращения.
С учетом (8.3),
− при переходе к трехфазной машине:
. (8.9)
Здесь:
− ЭДС трансформации;
− ЭДС вращения.

Рис. 8.7. Характер изменения составляющих ЭДС статора
При реальных значениях постоянных времени генераторов
, или в относительных единицах
ЭДС трансформации в тысячи раз меньше ЭДС вращения, и поэтому в практике расчетов может не учитываться.
В этом случае
для фазы А.
Для машины с демпферными обмотками вводят:
, при этом скорость нарастания ЭДС статора уменьшается.






