Мгновенные значения фазных величин трехфазной системы можно получить, как проекции трех фазных величин на одну ось времени, так и проектируя один вектор на три оси времени, сдвинутых на
. Этот вектор носит название обобщенного или изображающего вектора (рис. 8.3).

Рис. 8.3. Обобщенный вектор трехфазной системы
Связь между двумя системами определяется соотношениями:




Обобщенный вектор удобно представить в неподвижной декартовой системе координат xy. Такой способ носит название замены переменных. Число переменных при замене не изменяется. Связь между системами определяется соотношениями:


В симметричном режиме:





Рис. 8.4. Замена переменных
В несимметричном режиме машины вводится нулевая составляющая
. При этом
.


(8.3)

− частный случай. Симметричный режим машины.
В декартовой системе координат (двухфазной машине) число коэффициентов собственных и взаимных индуктивностей уменьшилось, но не устранена переменность коэффициентов. Такая система координат осей х, у, неподвижных в пространстве, используется при анализе переходных процессов в несимметричных режимах синхронных машин. При анализе переходных процессов асинхронных машин вводятся оси, связанные с ротором при переменной скорости вращения. Такие оси носят название осей α, β.
|
|
|
Симметричные переходные процессы в синхронной машине целесообразно исследовать в системе координат, вращающихся вместе с ротором (ось х при этом совмещают с осью d ротора). Эта система осей называется осями d, q. Удобство системы координат, жестко связанных с ротором, для синхронной машины заключается в том, что для наблюдателя, вращающегося вместе с этими осями, машина в магнитном отношении оказывается симметричной независимо от положения ротора. То есть ротор вращается вместе со статором и ротор относительно статора остается неподвижным. В такой модельной машине невозможно образование ЭДС вращения, но они могут быть получены при обратном переходе от двухфазной машины к трехфазной.
Поэтому в системе координат d, q, потокосцепления уже не содержат переменных индуктивностей, а дифференциальные уравнения имеют постоянные коэффициенты, что существенно облегчает исследование. Преобразование к осям
d, q является практически единственным, приводящим дифференциальные уравнения синхронной машины с периодическими коэффициентами к уравнениям с постоянными коэффициентами. Это делает преобразование к осям d, q весьма важным, играющим фундаментальное значение в теории синхронной машины. Это преобразование было предложено Блонделем для установившегося режима и развито для переходных процессов Парком и Горевым. Уравнения носят название уравнений по огибающим (так как в новой системе координат и старой системе координат максимальные значения совпадают) или уравнений Парка−Горева.
|
|
|
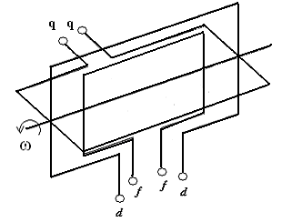
Модель преобразованной машины представлена на рисунке 8.5. Если для этой
машины составить дифференциальные уравнения, то это будут дифференциальные уравнения с постоянными коэффициентами, которые можно будет решить и осуществить обратный переход к трехфазной машине по соотношениям (8.3).

Рис. 8.5. Модель преобразованной синхронной машины
Потокосцепления модели и связь параметров модели и трехфазной машины:

(8.4)
8.4. Вывод уравнений Парка−Горева
Заменим
на
при этом
и выразим все входящие в уравнение (8.1) переменные через новые переменные по соотношениям (8.3):




Группируем слагаемые:
Приравнивая нулю каждого выражения в скобках и добавляя уравнение для обмотки возбуждения (8.1) и соотношения для потокосцеплений (8.4), получаем дифференциальные уравнения модели, носящие название уравнений Парка−Горева, выражающие основу теории двух реакций:




(8.5)




Некоторые допущения, которые имели место, могут быть сняты. Так, если добавить уравнение движения, то уравнения могут быть использованы для решения задач расчета электромеханических переходных процессов.
Например:
.
− ЭДС трансформации. С учетом известного выражения для ЭДС вращения
при синхронной скорости вращения
и
− ЭДС вращения; r i − падение напряжения на активном сопротивлении.
8.5. Уравнения Парка−Горева в системе относительных единиц
При
и синхронной скорости
. В дальнейшем опускаем индекс относительной величины *, и уравнения (8.5) принимают вид:




(8.6)
.
В такой форме уравнения применяются для анализа электромагнитных переходных процессов.
8.6. Уравнения Парка−Горева в операторной форме
Решение уравнений Парка−Горева обычно производят в операторной форме с применением преобразования Лапласа. При этом уравнения становятся алгебраическими и решаются стандартными методами. Для упрощения решения его производят при нулевых начальных условиях, то есть для приращений. По принципу наложения полученные решения для приращений суммируются с начальными условиями. С учетом основных соотношений преобразований Лапласа:
и
.




(8.7)



.
Из выражений (8.7) могут быть определены операторные реактивности синхронной машины:


Здесь:
=
− постоянная времени обмотки возбуждения при разомкнутом статоре;
− постоянная времени обмотки возбуждения при короткозамкнутом статоре. В начальный момент времени −
в установившемся режиме −
.