Классификация и генезис железных руд
Железные руды
Железными рудами называют горные породы, переработка которых экономически выгодна на данной стадии развития техники. Начало интенсивной добычи железных руд в Европе, Северной Африке и на Ближнем Востоке относится к эпохе перехода от бронзового к железному веку на рубеже II и I тысячелетий до н. э. Первоначально использовали лишь очень богатые железом и чистые от вредных примесей руды. Однако со временем по мере увеличения масштабов выплавки сыродутного кричного железа, а затем чугуна и стали в сферу металлургического передела неизбежно вовлекались все более бедные железом контингенты сырья, добыча которого оказывалась выгодной благодаря совершенствованию техники горных работ, обогащения и плавки руд. Еще в XVIII в. на уральских доменных печах использовались руды, содержащие свыше 65 % Fe. В наше время плавка в доменных печах северного и центрального Урала ведется на агломерате и окатышах, получаемых из концентрата обогащения качканарских руд, содержащих в среднем лишь 14—16 % Fe. Постепенное обеднение проплавляемых руд железом несколько замедлилось лишь в последние годы, когда были открыты новые крупные месторождения богатых руд.
|
|
|
Доступная наблюдению верхняя зона земной коры мощностью ~16 км содержит в среднем около 4,9 % Fe, входящего в состав более чем 350 минералов и горных пород. Такие широко распространенные горные породы, как гранит, сиенит, диабаз и базальт, содержат 3—9 % Fe. Однако в настоящее время столь бедные железом породы еще не используются металлургией.
Промышленное значение имеют лишь те оксиды, карбонаты и силикаты железа, в которых концентрация этого элемента оказывается достаточно большой.
Железные руды не являются мономинеральными образованиями; они состоят из устойчивых сочетаний минералов и относятся поэтому к группе горных пород. Слагающие железную руду минералы делятся на две группы. К первой группе относят так называемые рудные минералы, несущие в себе главную массу всего железа руды. Остальные минералогические составляющие, совсем не содержащие железа или содержащие его в незначительном количестве, называются пустой породой.
Железные руды классифицируют по типу рудного минерала и по характеру пустой породы.
Классификация железистых руд по типу рудного минерала следующая. Различают магнетитовые, мартитовые, гематитовые, сидеритовые, шамозитовые, тюрингитовые руды, бурые железняки. Магнетитовые руды (магнитные железняки Fe3O4) составляют основу многих крупных железорудных месторождений. Магнетитовая руда обычно чрезвычайно плотна, обладает однородной массивной или равномерно вкрапленной структурой. В большинстве случаев пористость магнетитовых руд не превышает нескольких процентов, что обусловливает пониженную восстановимость их в доменных печах. При добыче этих руд не образуется большого количества мелочи. Однако из-за повышенной сернистости часто приходится дробить магнетитовую руду и подвергать ее затем окускованию на агломерационных лентах, удаляя при этом до 98—99 % всей серы.
|
|
|
Во многих случаях месторождения магнетитовых руд имеют магматическое происхождение. Вещество руды таких месторождений представляет собой некогда жидкую, а затем закристаллизовавшуюся железистую магму. Процесс кристаллизации магмы чрезвычайно сложен и к настоящему времени изучен еще недостаточно. Началу кристаллизации часто предшествует дифференциация (расслоение) магмы, вызванная отсутствием неограниченной растворимости силикатно-окисного и сульфидного расплавов.Последний располагается обычно под слоем силикатно-окисногорасплава. Дифференциация магмы продолжается и в ходе ее кристаллизации, так как плотность кристаллов отличается от средней плотности расплава, что обусловливает массовое погружениеили всплывание кристаллов в маточном расплаве. На первых стадиях охлаждения из расплава выпадают кристаллы силикатов (оливина, пироксенов, роговой обманки полевых шпатов), шпинели.
Остаточный железистый расплав застывает последним заполняя пустоты между зернами минералов пустой породы и более или менее равномерно распределяясь по всей массе руды. Так образуется равномерно вкрапленная структура магнетитовых руд. Один из возможных вариантов кристаллизации магмы заключается в том, что остаточный железистый расплав может частично оттесняться растущими кристаллами силикатов и концентрироваться в виде крупных скоплений, имеющих после застывания монолитную массивную структуру, состоящую почти исключительно из магнетита.
Расплавленная железистая магма, прорвавшаяся на отдельных участках из глубин земли в твердую земную кору, интенсивно реагирует с пластами вмещающих горных пород (контактная зона), частично растворяя их и существенно меняя их состав твердые, чаще всего карбонатные породы, окружающие скопление кристаллизующейся магмы, под действием железистого расплава горячих водных растворов и паров в значительной мере насыщаются железом, переходя в так называемые скарновые минералы, среди которых затем кристаллизуется из растворов собственно магнетит. Строение магматического месторождения с контактной скарновой зоной иллюстрируется рис 12.
Магнетит устойчив на воздухе лишь при температурах выше 1383оС. При температурах, преобладающих у поверхности земли магнетит медленно окисляется до гематита по поверхности зерен и по плоскостям отдельности, имеющим относительно большую пористость, более проницаемым для окисляющих агентов Окислителями, кроме кислорода и углекислого газа воздуха могут быть водные растворы. Особенно активно окисление магнетита рудного тела идет в той его части, которая в большей мере подвержена воздействию воздуха и воды (обычно это участки рудного тела, располагающиеся ближе к поверхности земли). Чистый магнетит содержит 31 % FeO (формула Fe3O4 может быть представлена в виде FeO-Fe2O3). В зоне окисления магнетита рудного тела образуется гематит, т. е. содержание FeO в продукте окисления постепенно уменьшается. При Feo6щ/FeO < 3,5 частично окисленную руду все еще называют магнетитовой. При Feo6ui/FeO= 3,5-7,0 продукт окисления становится полумартитом, а при Feo6m/FeO > 7 мартитом. Таким образом полумартит и мартит являются продуктами низкотемпературного окисления магнетита в естественных условиях земной коры и представляет собой тонкую смесь двух минералов: гематита и магнетита. В сильно окисленных мартитах под микроскопом с трудом можно обнаружить среди вторичного гематита остатки магнетитового вещества, не подвергшегося окислению. Мартитовые руды содержат обычно значительно меньше серы, чем коренная магнетитовая руда. Обратный процесс — восстановление гематита углеродистыми веществами до магнетита (мушкетовитизация) — в природе наблюдается значительно реже.
|
|
|

Рис 12 Геологический разрез Сарбайского железорудного месторождения (Казахстан): I — рудные залежи (магнитный железняк); 2 — пески и глины; 3 — известняки; 4 — скарны на контакте с рудным телом; 5 — плотные роговики; 6 — сиениты
Магнетит кристаллизуется из магмы часто вместе с ильменитом (FeO*TiO2). Последний может кристаллизоваться рядом с магнетитом в виде крупных зерен или тонких вростков в зернах магнетита. При обогащении таких руд (титано-магнетитов) стараются магнетит отделить от ильменита, т. е. получить титан-содержащий концентрат.
Атомы титана, магния, марганца, никеля, цинка могут замещать в кристаллической (обратной шпинельной) решетке магнетита позиции двухвалентного железа, образуя соответственно ульвёшпинель TiOFe203, магнезиоферрит MgO*Fe2O3, якобсит MnO*Fe2O3, франклинит ZnO*Fe2O3, треворит NiOFe2O3. При замещении позиций трехвалентного железа в решетке магнетита атомами алюминия и хрома образуются соответственно алюмо-магнетит (до 15 % А12О3) и хромомагнетит (до 2 % Сг2О3). Существует также ванадиевый магнетит — кульсонит (до 4,84 /о V). В небольшом количестве в магнетите растворим и кальций.
Особую разновидность магнетитовых месторождений представляют так называемые россыпи, или магнетитовые пески, образующиеся при выветривании первичных магматических магнетитовых месторождений на берегу океана. Образующиеся под действием ветра, воды, смены температур и многих других причин мелкие продукты разрушения рудного тела уносятся затем морской волной. При этом легкая пустая порода руды (кварц, плотность 2,65 г/см3) уносится водой значительно дальше в море, чем в два раза более тяжелый магнетит (плотность 5,2 г/см3). Песок многих островов Тихого океана, побережья Черного моря от Новороссийска до турецкой границы содержит большое количество зерен магнетита. Поданным Института металлургии АН Грузии, магнетитовый песок черноморского побережья Кавказа содержит 50 % Fe2O3 и около 23 % FeO, т. е. почти 53 % железа. В небольших масштабах добычу магнетитового песка в россыпях на побережье островов Тихого океана ведет пока только Япония.
|
|
|
Следующую группу в системе классификации железных руд составляют гематитовые руды (красные железняки, α-Fe2O3), В плотных кристаллических разновидностях («железный блеск» спекулярит) цвет гематита меняется от стального до стально-черного. Для порошковых разностей характерен красный цвет («гематикос» по-гречески кровавый). Встречаются также листовая железная слюдка, натечная колломорфная почкообразная разность (красная стеклянная голова) и порошковатая разность (железная сметана). Марганец может входить в тригональную кристаллическую решетку гематита, образуя биксбиит (Fe, Mn)2O3. При низкотемпературном окислении магнетита (300—400 °С) образуется кубическая (или, по последним данным, тетрагональная при а: в: с = 1: 1: 3) разновидность оксида железа: y-Fe2O3 (маггемит, оксимагнетит), лишь незначительно уступающая магнетиту по магнитным свойствам (плотность 4,4—4,85 г/см3).
Гематитовые руды могут образовываться в природе прежде всего в результате дегидратации осадочных бурых железняков при условии повышенной температуры в сухом жарком климате у дневной поверхности или в глубинных слоях земной коры (на каждые 100 м погружения в кору земли температура возрастает в среднем на 3 °С). В значительных количествах гематит образуется также при окислении магнетитовых руд кислородом воздуха (мартит).
При кристаллизации магмы из расплава выделяются значительные количества водяных паров, конденсирующихся затем при соприкосновении с относительно более холодными горными породами. Эта так называемая магмогенная вода содержит в растворенном виде большие количества железа, оксиды которого выпадают затем из раствора, образуя гидротермальные месторождения гематитовых руд.
Высота кровли над рудным телом 500 м происходило более 0,6 млрд. лет, а часто и более 1—2 млрд. лет тому назад. Этот процесс, связанный с превышением предела растворимости железа в морской воде, шел в то время чрезвычайно интенсивно. Именно к этому времени относится образование большинства наиболее крупных железорудных месторождений мира, на долю которых приходится не менее 65—70 % мировой выплавки чугуна.
Процесс растворения кремнезема водными растворами (выщелачивание кварцитов) приводит к постепенному увеличению пористости руды, что обусловливает обычно довольно высокую вос-становимость богатых докембрийских руд. Руды этого типа часто чисты по сере и фосфору, почти не содержат цинка, свинца, сурьмы, олова, меди, мышьяка. При добыче богатых руд докембрийских месторождений образуется много мелочи, нуждающейся в последующем окусковании методом агломерации. Весьма характерно также глубокое залегание рудного тела, что связано с большим возрастом руд, пласты которых перекрыты сверху относительно более молодыми осадочными породами. Под действием огромного веса кровли руда прессуется; ее обычная слоистая текстура сменяется сланцеватой. Боковые усилия, возникающие при горообразовании, приводят к образованию волнообразных складок (плойчатая текстура руды).
Следующую группу железных руд составляют бурые железняки. Этим общим названием охватывается группа из семи разновидностей с общей формулой Fe2O3*nH2O начиная от наиболее бедного гидратной водой гидрогематита и кончая лимнитом. Рентгеновское исследование показывает, однако, что только гётит (назван в честь немецкого поэта Гёте) является самостоятельным минералом. Гидрогематит представляет собой твердый раствор воды в гематите. Турьит является тонкой механической смесью гидрогематита и гётита. Гидрогётит, лимонит, ксантосидерит и лимнит представляют собой твердые растворы воды В гётите. Натечная почковидная разновидность гётита называется бурой стеклянной головой. Выделяют также прозрачную рубиновую слюдку (лепидокрокит, Fe2O3*H2O), игольчатый бурый железняк и пустотелые секреции бурого железняка — жеоды, образовавшиеся при заполнении пустот первичными гелями гидрокси-дов железа. На практике формулу бурого железняка определяют по потере массы предварительно высушенной пробы руды, прокаливаемой затем при 900—1000 oС до постоянного веса.
Бурый железняк обычно имеет осадочное происхождение. Текстура месторождений бурых железняков обычно слоистая или оолитовая (по-гречески «оол» — яйцо, «литое» — камень). Оолиты образуются на дне морей, озер и болот при коагуляции гелей оксидов железа вокруг песчинок кварца, полевого шпата или других минералов, играющих роль затравок. Оолиты имеют концентрически зональное строение и состоят из последовательно расположенных слоев рудного вещества и пустой породы. Число слоев может быть очень большим (до 25—30), а размер оолита достигает иногда нескольких миллиметров («искряная» и «бобовая» руды). Крупные скопления бурых железняков возникают также при окислении верхних зон сидеритовых месторождений. Бурые железняки чрезвычайно рыхлые руды; при их добыче образуется много мелочи.
Следующую группу составляют сидеритовые руды (желтоватые до коричневого), имеющие обычно осадочное или гидротермальное происхождение. Сидерит, содержащий марганец в твердом растворе, называется олигонитом. С магнезитом (MgCO3) сидерит образует непрерывный ряд твердых растворов. Промежуточными членами этого ряда являются сидероплезит (более 70—80 % FeCO3 и 30—20 % MgCO3), мезитит и пистомезит (30—70 % FeCO3 и 70—30 % MgCO3) и брейнерит (до 30 % FeCO3 и 70 % MgCO3). Обычен также контакт сидерита с анкеритом 2CaCO3*FeCO3*MgCO3. Сидерит встречается чаще в виде зернистых агрегатов или в виде сфероидальных, шаровых выделений (сферосидерит).
Силикатные шамозитовые и тюрингитовые руды образуют следующую группу в классификации железных руд. Рудный минерал относится в таких рудах к группе слюдоподобных силикатов зеленого цвета — хлоритов.
Оксид двухвалентного железа (FexO), получаемый в технике в больших количествах (вюстит), в природе встречается крайне редко (иоцит). Как показали исследования, дно океанов и морей устлано железомарганцевыми конкрециями, диаметр которых достигает 5—10 см. Предполагается, что конкреции образуются в результате работы бактерий или короткозамкнутых гальванических элементов на дне океанов. Согласно другой точке зрения металлы выделяются на дне океана при соприкосновении магмогенной воды, фильтрующейся из глубин земного шара и содержащей железо, марганец и другие металлы в растворе, с морской водой. По предварительным данным, запасы конкреций только на дне Тихого, Атлантического и Индийского океанов приближаются к 1000 млрд. т, но подводная добыча конкреций связана с необходимостью создания специальных тралов или захватов, так как большая часть конкреций лежит на глубине более 3 км. Разработка донных полей конкреций ведется в небольших масштабах пока лишь Японией.
Деление железных руд на группы зависит и от характера пустой породы: кремнистой, глиноземистой, магнезиальной. Кроме того, выделяется группа руд с самоплавкой пустой породой. Большая часть добываемых железных руд относится к группе руд с кремнистой пустой породой, представленной главным образом кварцем (SiO2, тригональный, немагнитный, твердость 7, плотность 2,65 г/см3, белого цвета, стеклянный блеск), отчасти опалом (SiO2*nH2O) и халцедоном (SiO2, скрытокристаллический). Поскольку достаточная подвижность доменных шлаков достигается при CaO/SiO2 = 0,9-1,1, то при агломерации к рудам этой группы в качестве флюса добавляют известняк. В природе существуют, однако, руды, для которых указанное соотношение оказывается равным 0,6—1,1. Такие руды, плавка которых возможна без основного флюса, называются самоплавкими (или рудами с самоплавкой пустой породой) и высоко ценятся металлургами.
В рудах с глиноземистой пустой породой последняя состоит из сложных природных алюмосиликатов кальция, магния, калия, железа и др. По условиям технологии доменной плавки шлаки при выплавке передельного чугуна не должны содержать более 10—12 % А12О3, а при выплавке литейного чугуна — более 18— 20 % А12О3. В связи с этим чрезмерно высокое содержание глинозема в пустой породе руды осложняет ведение доменной плавки и вынуждает добавлять в шихту руды с кремнистой пустой породой.
В жарком и влажном тропическом климате активно идет растворение кремнезема руды в подземных водах. Глинозем в этих условиях, наоборот, обнаруживает значительную устойчивость против растворения, не уносится водой, что приводит к резкому увеличению его содержания в пустой породе (в этих рудах Al2O3/SiO2 = 4-5). Продуктом выветривания железосодержащих пород в тропиках являются так называемые латериты (или руды с латеритовой пустой породой). Глинозем придает им характерную кирпично-красную окраску и пластичность во влажном состоянии (по-испански «латер» — кирпич). Обычно эти руды плавят в смеси с кремнеземистыми рудами, что позволяет получить шлаки нужного состава. Что касается руд с магнезиальной пустой породой, то в них чаще всего присутствуют повышенные количества оливина MgFeSiO4, магнезиоферрита MgO*Fe2O3, шпинели MgO*Al2O3.
При определении промышленной ценности железорудных месторождений, кроме металлургических свойств руды, учитывают многие географические, геологические и экономические факторы. Так, близость месторождения к железным и шоссейным дорогам, речным, озерным или морским портам значительно облегчает Строительство рудника, транспортировку добытой руды на металлургические заводы. Наличие в районе месторождения крупных населенных пунктов, благоприятные климатические условия облегчают привлечение рабочей силы на строительство рудника, сокращают стоимость капитальных затрат на сооружение шахтерских поселков. Характерным примером в этом отношении являются крупные месторождения докембрийских богатых гематитовых и мартитовых руд пика Итабири и Мату Гросо в Бразилии, из которых первое, расположенное в 350 км к северу от Рио-де-Жанейро, интенсивно эксплуатируется, а второе, в верховьях Амазонки вдали от городов (2000 км от побережья Атлантического океана) в зараженной малярией местности, не разрабатывается, несмотря на большую потребность в руде. В России неблагоприятным географическим положением характеризуется Нижне-Тунгусское железорудное месторождение, удаленное от ближайшей железной дороги на 1500 км.
Важным критерием оценки месторождений являются и запасы руд. Согласно принятой в России системе различают следующие категории запасов железных руд. К категории А(промышленные запасы) относятся месторождения или участки месторождений, по которым проведено разведочное бурение по частой сетке скважин и форма рудного тела выявлена с достаточной точностью. При этом к разряду А1 промышленных запасов относят руды, технология обогащения, окускования и плавки которых разработана исследовательскими организациями и заводами в промышленном масштабе; к разряду А2 — руды, технология переработки которых еще нуждается в разработке или изучена в лабораторных условиях. Утверждение месторождения по категории Аявляется основанием для начала строительства металлургического завода.
К категории В (вероятные запасы) относятся месторождения, обуренные по редкой сетке скважин, что делает затруднительным определение точной формы рудного тела. Если месторождение отнесено к категории В, то это может служить основанием лишь для проектирования, но не для строительства металлургического завода.
К категории С (ориентировочные запасы) относят месторождения, форма рудного тела в которых известна лишь в самых общих чертах. При этом к разряду С1 причисляют месторождения, на которых пробурены единичные разведочные скважины, а к разряду С2 — месторождения, запасы которых определены на основании изучения выходов пластов руды на дневную поверхность, а также по чисто теоретическим соображениям. Запасы руды по категории С могут использоваться только при перспективном планировании развития металлургии и являются недостаточными для начала проектирования металлургических заводов.
Термин «разведанные» запасы, часто употребляемый в технической литературе, относится к сумме категорий А + В + С1 Категории разведанности относятся только к железным рудам («балансовые запасы»), а не к «забалансовым» породам, переработка которых в настоящее время является экономически убыточной. Определение категории запасов руд во всех странах мира является прерогативой правительственных органов. В России эту работу ведет Министерство геологии, а за рубежом — Горная инспекция и соответствующие промышленные министерства. По некоторым данным, балансовые запасы руд РФ составили: А + В + С = 116,5 млрд. т, разведанные запасы А + В+ С1 = 67,3 млрд. т (мировые разведанные запасы 231,9 млрд т, балансовые запасы на 1985 г. 813 млрд. т).
Важным элементом оценки рудных месторождений является и характер залегания рудного тела. Глубокое залегание рудных пластов связано с необходимостью сооружения дорогостоящих шахт, с большими расходами электроэнергии для подъема руды на поверхность земли, освещения, вентиляции шахт и откачки подземных вод из зоны работ. Залегание рудных тел непосредственно у поверхности земли и возможность добычи руды открытыми разработками (карьерами) значительно удешевляют руду и повышают ценность месторождения. В России 85,8 % железной руды добывалось открытыми разработками.
Следующим элементом оценки качества руд являются их физическое состояние и обогатимость. Прямое использование руды доменных печах невозможно, так как поток доменного газа выносит из их рабочего пространства рудные частицы размером менее 2—3 мм, которые оседают затем в пылеуловителях. Добыча пылеватых руд поэтому связана с необходимостью строительства дорогостоящих агломерационных фабрик, что значительно обесценивает такие руды. Количество мелочи особенно велико при добыче бурых железняков, гидрогематитовых и гематитовых руд. Так богатые руды КМА при добыче дают до 85 % мелочи, нуждающейся в окусковании. Средний выход фракции >10 мм из богатых криворожских руд не превышает 32 %; выход фракции >5 мм из добываемого керченского железняка не превышает 5 %.
Обогащение руд производится с целью повышения в них концентрации железа или снижения содержания вредных примесей. В обоих случаях задача состоит в более или менее полном отделении рудного минерала от пустой породы, сульфидов. Обогащение облегчается, если пустая порода почти не содержит железа, а частицы рудного минерала имеют вид относительно крупных зерен. Такие руды относятся к категории легкообогатимых. Тонкая вкрапленность рудных частиц и повышенное содержание железа в пустой породе делают руду труднообогатимой.
Химический состав железной руды во многом предопределяет ее металлургическую ценность. По содержанию железа руды делятся на богатые, нуждающиеся в сортировке и окусковании, и на бедные, направляемые на обогащение и окускование. Граница между этими сортами руд сильно колеблется в зависимости от минералогического типа руды. К богатым рудам относятся магнетитовые и гематитовые руды, содержащие более 45—48 % Fe, бурые железняки и сидериты, содержащие соответственно более 37—40 и более 27—30 % Fe. Нижний предел содержания железа, при котором руда еще может быть обогащена с достаточным экономическим эффектом, составляет 14—16 %
Железные руды часто содержат полезные (Mn, Ni, Сг, V) и вредные (S Р As Zn, Pb, Си) примеси. Марганец значительно улучшает механические свойства чугуна и стали и, кроме того, способствует десульфурации жидкого металла в ковшах. Никель и хром повышают коррозионную стойкость стали, ее свариваемость и физико-механические свойства. Благоприятное воздействие на качество стали оказывают ванадий и титан, однако повышенное количество титана в руде затрудняет ведение доменной плавки.
Сера придает металлу красноломкость. В рудах сера входит в состав пирита (FeS2), пирротина (FeS) гипса CaSO4*2H2О барита (BaSO4). Подавляющая масса сульфидной серы (до 98— 99 %) удаляется из руд в ходе агломерации. В тех же условиях сульфатная сера удаляется лишь на 50—70 %. В передельном чугуне не должно быть более 0,05 % S. Интенсивная десульфурация руд при агломерации и чугуна в доменных печах позволяет использовать руды, содержащие до 1,5—2 % S.
Фосфор вызывает хладноломкость стали. В ходе агломерации и доменной плавки весь фосфор руды переходит в агломерат и чугун. В рудах фосфор входит в состав фтор- и хлорапатита З[СаО* Р2О5]CaF4, 3[ЗСаО*Р2О5]СаС12 и вивианита Fe3[PO4]2*8Н2О. В мартеновском чугуне допускается содержание фосфора не более 0 3 в томасовском 1,6—2,0 и в бессемеровском до 0,07 %.
Мышьяк понижает свариваемость металла, ухудшает его физико-механические свойства и сверх того является сильным ядом, следы которого недопустимы в металлоизделиях, применяемых в пищевой промышленности (консервные банки, баки для варки пищи и т. п.). В рудах мышьяк содержится в составе арсенопирита (FeAsS), реальгара (AsS), аурипигмента (As2S3), скородита (FeAsO4-2H2O).
Цинк и свинец присутствуют в рудах соответственно в составе сфалерита (ZnS) и галенита (PbS). Этиэлементы не растворяются в чугуне и не могут поэтому влиять на его качество. Однако пары цинка способны в доменной печи проникать в швы кирпичной футеровки. Последующая кристаллизация металлического цинка и цинкита (ZnO) в кладке приводит к увеличению ее объема, к разрывам кожуха шахты печи. Свинец способствует разрушению лещади доменной печи. Удаление цинка и свинца из руд возможно при агломерации с хлорирующими добавками (CaCl2*NaCl).
Медь также относится к вредным примесям в железных рудах. Она понижает свариваемость получаемого металла и придает ему красноломкость. Обычно медь содержится в рудах в составе халькопирита (CuFeS2) или малахита CuCO3*Cu(OH)2. В небольших количествах медь в чугуне допускается лишь при производстве нержавеющей стали и кровельного железа, так как повышает коррозионную стойкость металла.
К одним из наиболее важных металлургических свойств руд относятся их пористость, восстановимость и размягчаемость. Характер пористости руды во многом предопределяет поверхность Взаимодействия газообразного восстановителя с веществом руды. Принято определять общую пористость руды и распределение пор по крупности. Общая пористость Q определяется из соотношения, %:
Q = (ρист.р - ρкаж. р) 100/ρист. р,
где ρист. ρ — истинная плотность руды, г/см3, т. е. масса абсолютно плотного вещества руды (при отсутствии пор) в 1 см3; ρкаж.р — кажущаяся плотность руды, г/см3, т. е. масса пористого вещества руды в 1 см3.
Истинную плотность руды определяют пикнометрическим способом. По ГОСТ 15053—69 в пикнометр (мерная колба с удлиненным горлом, вместимость 50 мл, масса МПИКН) высыпают измельченную до крупности <0,2 мм и высушенную при 105—110 °С до постоянной массы навеску руды (Мр). Затем пикнометр наполняют дистиллированной водой (плотность воды ρв при 20 °С известна из справочника) до отметки V0 (обычно 0,05 л, рис. 14, а). Вода входит в поры руды. При этом появляется возможность определить массу воды Мв и ее объем:
Мв = Мв+р+пикн — Мр+Пикн;
Vв = Mв/ρв.
Объем руды Vр определяется как разность полного объема пикнометра и объема воды: Vр = Vo — VB.

Рис. 14. Пикнометр (а) и схема взвешивания в воде (б) образцов, покрытых с поверхности парафином:
1 — весы; 2 — стальная проволока; 3 — сосуд с водой; 4 — корзина; 5 — уравновешивающий груз
Зная массу руды Мр и ее объем Vp, легко вычислить истинную Плотность:
рист. р = Мр/Vр г/см3.
По ГОСТ 15053—69 в качестве рабочей жидкости, кроме воды, разрешается использовать керосин. В научных исследованиях для этой цели часто применяют спирт. Плотность этих жидкостей при температуре опыта следует брать из справочников.
Для определения кажущейся плотности куски руды обвязывают ниткой и, держа за нить, погружают в расплавленный (60— 65 °С) парафин. Масса пробы должна быть не менее 2 кг. Извлеченные из расплава парафина образцы оказываются покрытыми толстой парафиновой водонепроницаемой оболочкой. Подготовленные таким образом образцы в корзине подвешивают снизу к одной из чашек весов (рис. 14, б) и взвешивают сначала на воздухе, а затем погруженными в воду. По закону Архимеда вес образцов, погруженных в воду, уменьшается: (Pр+п)воад — (Pр+п)вода = Vр+п dвода (где Vр+п — объем образца руды в парафиновой оболочке, см3, так как внутрь пор образца вода не входит; dвода — удельный вес воды, 10 мкН/см3).
Объем парафиновой оболочки, см3: Vn = (Мр+п — Мр)/ρп. Остается определить искомый объем образца руды (см3) и его кажущуюся плотность, г/см3: Vр = V р+п — Vп; ρ каж. р = Mp/V'p.
Таким способом можно определять также общую пористость агломерата, кокса, огнеупоров.
Метод определения объема пор различной крупности (метод SK) был предложен англичанами Г. Саундерсом и Г. Трессом в 1945 г. Образцы руды погружают в ртуть, воду и воздух. При атмосферном давлении ртуть входит в поры диаметром >17-103 нм, вода — в значительно мелкие поры, воздух — практически во все поры руды. Таким образом, помимо общей пористости, удается определить распределение пор по крупности на три группы.
Р. Лаузи, Г. Риттером и Л. Дрейком в 1941—1945 гг. был разработан способ ртутной порометрии, заключающийся в нагнетании ртути в поры образца руды под давлением от 0,1 до 1000 МПа. Минимальный радиус пор r, в которые ртуть может войти при давлении р, связан с коэффициентом поверхностного натяжения σ и углом смачивания θ соотношением r = —2σ cos θ/р. Этот метод позволяет не только определить объем пор различной крупности, но также получить расчетом их суммарную поверхность, что, как будет показано ниже, позволяет оценить и восстановимость образца. Пористость железных руд меняется в чрезвычайно широких пределах: от 0,5-—1 % у плотных магнетитовых руд до 25—50 % у бурых железняков. При разложении гидратов и карбонатов, а также в ходе процесса восстановления пористость руды может существенно увеличиваться.
Восстановимостью руды называют ее способность с большей или меньшей скоростью отдавать кислород, связанный с железом, газообразному восстановителю. Чем выше восстановимость руды, тем меньше может быть время ее пребывания в доменной печи, что дает возможность форсировать плавку. При одинаковом времени пребывания в печи легковосстановимые руды отдают печным газам больше кислорода, связанного с железом. Это позволяет снизить удельный расход кокса на выплавку чугуна. Таким образом, с любой точки зрения повышенная восстановимость руды является весьма желательным свойством и высоко ценится в рудах. Наивысшей восстановимостью обладают обычно бурые железняки и сидериты. За ними в порядке уменьшения восстановимости следуют гематит и магнетит.
На рис. 15 показано устройство установки системы А. Н. Похвиснева и М. С. Гончаревского для определения восстановимости руд, агломератов, окатышей и других видов сырья по ГОСТ 1712—71. Образцы руды (навеска 300 г, крупность 10— 16 мм) помещают в корзинку 6 из нихромовой проволоки, подвешенную снизу к одной из чашек термовесов 1. Восстановление ведется в вертикальной реакционной трубке 4 электропечи 5. Температура в рабочем пространстве трубки измеряется двумя термопарами в точках, из которых одна располагается на 5 мм ниже дна корзинки, а вторая — внутри исследуемой пробы, на 40 мм от ее поверхности. Газ-восстановитель подается в реакционную трубку через нижнюю пробку печи после тщательной Очистки. Восстановителем служит водород, вводимый в систему Из баллона 16, снабженного редуктором. Расход водорода контролируется реометром 9. Опыт начинают продувкой всей установки азотом из баллона 17 через реометр 9 и далее через трехходовой кран 7.

Рис. 15. Установка для определения восстановимости руд, агломератов и окатышей по ГОСТ L7212 — 71:
1— весы ВЛТК-500 для непрерывного взвешивания образца руды; 2 — потенциометр с термопарой 3 для контроля температуры в рабочем пространстве вертикальной реакционной трубки 4 (внутренний диаметр 60 мм); 5 — электрическая печь сопротивления (температура нагрева 800 ± 10 °С, длина изотермической зоны равна 1,5 высоты испытуемой пробы); 6 — корзинка диаметром 52 и высотой 140 мм из жаропрочной сетки с квадратными отверстиями (0,5 — 1 мм); 7 — трехходовой кран; 8 — сосуды с поглотителями (хлористый кальций, аскарит); 9 — реометры типа РДС для измерения расхода газов; 10 — поглотительный сосуд с хлористым кальцием; 11 — электропечь (600 °С); 12 — реакционные трубки с медной стружкой; 13 — поглотительные сосуды с ангидроном; 14 — склянки Тищенко с серной кислотой; 15 — игольчатый кран; 16 — баллон с водородом; 17 — баллон с азотом или аргоном
К началу опыта в реакционной трубке устанавливается заданная температура (чаще 800 °С ± 10 °С), при которой проводится прокаливание образца до постоянной массы в течение 50 мин. На этой стадии опыта из образца удаляются углекислота карбонатов, гидратная и гигроскопическая вода. Продувка системы азотом (6 л/мин) обеспечивает, кроме того, взрывобезопасность работы, так как препятствует соприкосновению водорода с воздухом в реакционной трубке. Перед началом опыта необходимо отрегулировать расход газа-восстановителя. Установлено, что до определенного расхода газа общая скорость восстановления лимитируется скоростью внешней диффузии реагентов и продуктов реакции у поверхности образца. В этих условиях результаты опыта резко меняются в зависимости от малейших изменений расхода газа. Наоборот, сверх определенного предела (скорость газа на пустое сечение реакционной трубки для оксида углерода 2,5—3,5, для водорода 1,1— 1,2 см/с) скорость процесса перестает зависеть от расхода газа и лимитируется лишь диффузией внутри пор образца. По ГОСТ 17212—71 расход водорода должен быть равен 6 л/мин при внутреннем диаметре реакционной трубки 60 мм.
Поворот трехходового крана 7 считается началом собственного опыта, так как при этом водород направляется в реакционную трубку, а азот — в атмосферу. Масса образца начинает убывать в связи с тем, что часть кислорода, связанного с железом, переходит в газовую фазу. Изменение массы образца фиксируется экспериментатором каждые 5 мин. По результатам строится кривая восстановления образца (рис. 16). Обычная продолжительность опыта не превышает60 мин. Опыт завершается продувкой всей системы азотом. Важным условиемпроведения опытов является точное соблюдение постоянства температур и расхода газа-восстановителя, уровень которых в сильной степени влияет на результаты эксперимента.

Рис. 16. Кривая восстановления единичного образца руды КМА диаметром 15 мм при 800 °С в токе н2
Существуют многочисленные разновидности этой методики. В качестве восстановителя могут быть использованы оксид углерода, получаемый в специальном газогенераторе, метан, светильный газ или газ, близкий по составу к колошниковому газу доменных печей.
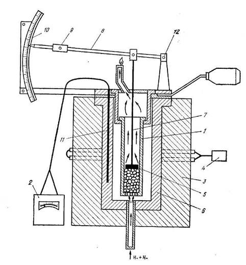
Размягчаемость руды, агломерата, окатышей определяется на установке конструкции МИСиС (рис. 17).
Опыт ведется в печи 3 с силитовыми нагревательными стержнями 4, сила тока в которых регулируется реостатом. Температура в печи измеряется гальванометром 2 с термопарой, вставленной в гнездо стального стакана. Проба руды, измельченной до Крупности 1—2 мм, помещается в стакан-цилиндр с дырчатым дном 6. На поверхность слоя руды давит поршень 5, шток которого 7 шарнирно прикреплен к рычагу 8. Рычаг 5 поворачивается вокруг оси 12, фиксируя положение поршня на шкале 10. Нагрев пробы осуществляется в течение первых 45 мин опыта со скоростью 14 град/мин (имитация интенсивного нагрева руды в верхней части шахты) и далее со скоростью 5—6 град/мин. Общая продолжительность опыта 2 ч, что соответствует попаданию шихты в нижнюю часть шахты доменной печи. Расход газовой смеси, которая вводится через нижнее отверстие стакана 1 и отверстия в днище реакционного цилиндра 6 непосредственно в слой руды (окатышей, агломерата), составляет 0,3 л/мин Н2 + 1,1 л/мин N2 при нагреврнии пробы до 900 °С и 1,1 л/мин Н2 + 0,3 л/мин N2 при t > 900 С, что обеспечивает в ходе опыта к 900 и 1200 °С соответственно содержание 80—90 % металлического железа под плунжером к концу опыта. После выхода из пробы восстановительный газ проходит в зазор между плунжером и внутренней поверхностью стального реакционного цилиндра и далее в выхлопную трубу. Меняя положение груза 9, увеличивают нагрузку от 0 (первая минута опыта) до 0,65 кгс/см2 (65 кПа) к концу опыта. Нагрузка по другому варианту может быть установлена постоянной 0,65 кгс/см2 (65 кПа). Таким образом совместное закономерное Изменение давления плунжера, температуры и состава газа позволяет по возможности имитировать условия опускания железорудного сырья в шахте доменной печи.
На рис. 18 показаны типичные кривые размягчения материалов разного типа. Магнетитовые руды и агломерат обычно после термического расширения пробы (участок /— 2) дают некоторую небольшую усадку от точки 2 к точке 3 при температурах 400—1000 °С, Которая связана с потерей прочности рудными частицами при нагреве и восстановлении и с появлением пластичных вюстита и особенно металлического железа под плунжером. В точке 3 появляются первые порции расплава, объем пробы под плунжером начинает быстро уменьшаться. Точка 3 — начало размягчения. Концом размягчения условно считается точка 4У соответствующая потере пробой 40 % первоначальной высоты. Разность температур (tk – tн) = Δ t называется интервалом размягчения сырья.
Гематитовые руды и окисленные окатыши ведут себя в рассмотренных условиях совершенно иначе. После термического расширения пробы (участок от 1 до 2) проба начинает вспучиваться, т. е. увеличиваться в объеме в результате перестройки тригональной кристаллической решетки гематита (плотность —5,26 г/см3) в тетрагональную решетку (маггемита 4,4—4,85 г/см3). Вспучивание гематитовой шихты при восстановлении должно учитываться при проектировании профиля доменной печи. В частности, следует уменьшать в этом случае угол наклона стен шахты печи, уменьшая боковое давление шихты на стены. Высота столбика шихты под плунжером начинает быстро уменьшаться лишь при появлении расплава (точка 3). В доменной печи вязкие тестообразные массы шлака создают значительное сопротивление проходу печных газов, поэтому с точки зрения совершенства хода печи желательно работать на рудах с наиболее высокой температурой начала размягчения.

Рис. 17. Настольный прибор конструкцииМИСИС для определения размягчаемости сырья в восстановительной атмосфере
1 — стакан из жаропрочной стали; 2 — гальванометр; з — нагревательная печь- 4 — силитовые стержни; 5 - поршень со штоком 7; 6 - стальной полый цилиндр 8 рычаг 9 - груз; 10 - шкала; 11 - термопара; 12 - ось поворота рычага

Рис. 18. Характер кривых размягчения железорудных минералов в восстановительной атмосфере:
а – магнетитовые руды; б – гематитовые руды, окатыши
