ЛЕКЦИЯ №2
Вопрос о ресурсах.
Установленные мощности и выработка электроэнергии
на ТЭС, ГЭС и АЭС в странах СНГ,%
Таблица 1
| Виды электростанций | Мощности | Выработка | ||
| 1985 г | 2000 г | 1985 г | 2000 г | |
| ТЭС | ||||
| ГЭС | ||||
| АЭС |
В целом ТЭС являются вполне конкурентоспособными (см. табл.1).
Производство электроэнергии (млрд. кВт·ч)
Таблица 2
| Страна | 1960 г | 1970 г | 1980 г | 1990 г |
| США | 844 (100%) | 1640 (194%) | 2345 (278%) | 3000(355%) |
| Япония | 112 (100%) | 361 (323%) | 578 (517%) | 800 (715%) |
| СССР | 292 (100%) | 741 (254%) | 1294 (443%) | 1860 (1860%) |
Вопрос о ресурсах для ТЭС рассмотрен, откуда видно, что его хватит на несколько сотен лет.
3) Вопрос об экологии.
Самым трудным и сложным является вопрос об экологии, так как ТЭС является самым большим источником загрязнения (газообразными продуктами). Если при борьбе с сажей и окисями углерода (СО) золоуловители, то борьба с окисями азота и особенно серы требует огромных затрат.
Наиболее безвредным топливом для ТЭС является газ (метан СН4). Если газ содержит серу, то ее обычно извлекают из него до сжигания.
Газовые турбины (ГТ)
Можно уверенно сказать, что газовые турбины найдут широкое применение в энергетике. Рассмотрим схему газотурбинной установки (рис. 1).

Рисунок 1 Принципиальная схема газотурбинной установки
с
и регенерацией тепла
Р — регенератор; ВК — воздушный компрессор; КС — камера сгорания;
ГТ — газовая турбина; ПД — пусковой двигатель; ТН — топливный насос;
ГК — газовый компрессор
Жидкое или газообразное топливо подается с помощью топливного насоса (ТН) или газового компрессора (ГК) в камеру сгорания (КС). Туда же подается воздух, предварительно подогретый в регенеративном подогревателе (Р) за счет тепла отработавших продуктов сгорания.
Образовавшиеся при горении топлива газы (продукты сгорания) поступают из камеры сгорания (КС) в газовую турбину (ГТ).
Продукты сгорания, имеющие обычно температуру свыше 1000°С, поступают в сопла турбины (выполненные из металла каналы, установленные в статоре турбины, т. е. остающиеся неподвижными). В соплах тепловая энергия продуктов сгорания преобразуется в кинетическую энергию потока газа. При этом температура и давление продуктов сгорания уменьшаются, а скорость струи газа растет. Струя продуктов сгорания поступает на рабочие лопатки турбины, укрепленные на ее диске, жестко связанном с валом. Таким образом, вал, диск и рабочие лопатки, вращающиеся как единое целое, представляют собой ротор турбины.
Кинетическая энергия струи газа во время протекания по каналам, образуемым рабочими лопатками, уменьшается, но зато увеличивается кинетическая энергия ротора турбины, что и требуется.
Если ротор турбины связан с электрическим генератором, то вырабатывается электрическая энергия, а если с воздушным компрессором, то осуществляется сжатие воздуха и подача его потребителю. Если газовая турбина предназначена для перекачки природного газа по газопроводу, то турбина приводит в движение уже не воздушный, а газовый компрессор.
Каков же механизм превращения кинетической энергии струи газа на рабочих лопатках в кинетическую энергию ротора турбины?
Было бы неправильно думать, что ротор турбины приобретает вращательное движение за счет удара струи газа о рабочие лопатки.
Наоборот, конструкторы стараются избежать входного удара струи газа о рабочие лопатки, так как такой удар лишь снижал бы КПД турбины.
Поэтому каналы, образуемые рабочими лопатками, имеют криволинейный характер. Протекая по такому каналу, поток газа меняет свое направление и величину скорости. Благодаря центробежной силе он оказывает давление на вогнутые поверхности рабочих лопаток. Именно в силу этого рабочие лопатки, диск турбины, вал, т. е. ротор турбины, а следовательно, и жестко связанный с ним ротор электрического генератора приводятся во вращательное движение и происходит выработка электроэнергии.
Современные газовые турбины — совершенные, обычно многоступенчатые (имеющие несколько рядов сопловых устройств и рабочих лопаток) машины, рассчитанные на высокую начальную температуру продуктов сгорания.
Наиболее широкое распространение газовые турбины получили в авиации. В 40-х годах XX в. на смену поршневым двигателям внутреннего сгорания, оказавшимся не в состоянии преодолеть звуковой барьер, для чего требовалось резкое повышение мощности, пришли реактивные двигатели, в которых используются газовые турбины.
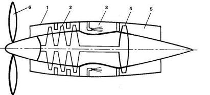
На рис. 2 и 3 представлены соответственно схемы турбовинтового и турбореактивного авиационных двигателей.
В турбовинтовых двигателях тяга создается как воздушным винтом, так и за счет истечения продуктов сгорания через реактивное сопло, в то время как в турбореактивных авиационных двигателях тяга создается только в результате истечения из реактивного сопла продуктов сгорания с большой скоростью.
В обоих типах этих авиационных двигателей обязательным элементом является газовая турбина, задача которой заключается в приводе воздушного компрессора, а в турбовинтовом двигателе — также в приводе воздушного винта.
В энергетике газовая турбина используется в качестве пикового двигателя. В течение суток потребление электроэнергии не одинаково. В часы пик они значительно выше среднесуточного. Т.е. целесообразно иметь мощность электрической станции соответствующую среднесуточному потреблению, а в часы пик - покрывать недостаток за счет специальной пиковой мощности, т.к. она необходима в течение 1,5-2 часов.

Рисунок2 Турбовинтовой авиационный двигатель:
1 — входное устройство; 2 — компрессор; 3 — камера сгорания; 4 — турбина,
5 — реактивное сопло; 6 − воздушный винт

Рисунок 3 Турбореактивный авиационный двигатель:
1 — входное устройство; 2— компрессор; 3 — камера сгорания; 4— корпус двигателя; 5— сопловой аппарат; 6— турбина; 7 — реактивное сопло
Недостатками газовых турбин является большой расход топлива.
Газовые турбины находят широкое распространение в парогазовых установках тепловых электростанций. На рис. 4 представлена схема простейшей установки со сбросом еще горячих газов (продуктов сгорания) - 3, поступающих из газовой турбины Т в котел-утилизатор КУ.
Топливо 2(газотурбинное, жидкое) поступает в камеру сгорания КС, куда также с помощью компрессора К подается воздух. Компрессор размещен на одном валу с газовой турбиной Т и электрическим генератором; компрессор К и генератор приводятся в действие газовой турбиной Т.
В котле-утилизаторе КУ за счет тепла продуктов сгорания 3вода 6 превращается в пар 5,поступающий в паровую турбину ПТ, на одном валу с которой находится второй электрический генератор. Такого рода парогазовая установка позволяет использовать (утилизировать) тепло отработавших в газовой турбине продуктов сгорания 3. Охладившиеся в котле-утилизаторе продукты сгорания 4выбрасываются наружу. Отработавший в паровой турбине ПТ пар поступает, как обычно, в конденсатор, в котором отдает тепло охлаждающей воде, превращается в конденсат и затем с помощью питательного насоса 6снова поступает в котел-утилизатор.

Рисунок 4 Принципиальная схема ПГУ с парогенератором
утилизационного типа:
1 - воздух из атмосферы; 2 - топливо; 3 - отработанные в турбине газы;
4 - уходящие газы; 5 - свежий пар; 6 - питательная вода;
КС - камера сгорания; ГТ - газовая турбина; ВК - компрессор; ПТ - паровая турбина; КУ - котел-утилизатор.






