Постановка задачи исследования
Проблема управления ВГЭУ весьма актуальна в наше время. Ведь нагрузка на электрогенератор постоянно меняется в зависимости от времени суток, да и от времени года. Таким образом, задачей системы управления ВГЭУ является обеспечение потребителей качественной электроэнергией, что достигается стабилизацией выходного напряжения ВГЭУ с помощью поддержания постоянства угловой скорости на валу электрогенератора. Существует масса подходов для решения этой проблемы. Все они имеют свои преимущества и недостатки.
Современные ВГЭУ – это агрегаты, которые преобразуют энергию ветра в механическую энергию вращения ветроколеса, а энергию воды в механическую энергию вращения гидротурбины и затем в электрическую энергию. В настоящее время применяются две основные конструкции ветроагрегатов: горизонтально-осевые и вертикально-осевые ветродвигатели. Оба типа ВЭУ имеют примерно равный КПД, однако наибольшее распространение
получили ветроагрегаты первого типа.
|
|
|
Существует множество вариантов практической реализации системы управления ВГЭУ.
В современных ВГЭУ воплощено множество технических идей, отвечающих последним достижениям науки. Вот далеко не полный перечень уникальных систем и механизмов, обеспечивающих эффективную и безопасную работу ветроэлектростанций:
· система динамического изменения угла атаки (изменяет угол заклинивания лопастей, удерживая тем самым нужный угол атаки);
· система динамического регулирования скорости вращения ветроколеса в зависимости от нагрузки и скорости ветра (выбирает оптимальный режим работы);
· система управления рысканием – электронный флюгер (поворачивает гондолу с ВЭУ по особому закону с учетом доминирующего направления ветра, его порывов и турбуленции);
· система оперативного регулирования магнитного скольжения асинхронного генератора.
При работе ВЭУ и ГЭУ в составе ВГЭУ на один генератор возникает проблема, особенно в пиковые нагрузки. Эта проблема связана с определенными требованиями к оператору, который должен своевременно включить либо выключить ту или иную энергоустановку (ЭУ). Например, несвоевременное подключение (отключение) ВЭУ от общего вала с ГЭУ, ВЭУ может превратиться из источника энергии в потребителя, что недопустимо.
Поэтому возникает проблема разработки системы как объединения двух валов, так и разработки САУ—вкл/выкл ЭУ, обладающие качественными характеристиками намного превышающих характеристики оператора. Это необходимо для повышения надежности и недопущения перехода одной из ЭУ из качества источника энергии в потребителя.
|
|
|
Исследуемая схема ВГЭУ объединяет в своем составе: ВЭУ – Н-типа с поворотными лопастями и ГЭУ – классического типа. Для объединения их выходных валов, используется магнитопорошковая муфта (МПМ). Ниже проводятся исследования качественных характеристик отдельно взятых как ВЭУ и ГЭУ, а также исследования при их совместной работе на нагрузку. При этом основное потребление электроэнергии обеспечивается (до 80%) - ГЭУ, а в пиковые нагрузки, когда добавляется более 20% - обеспечивается ВЭУ.
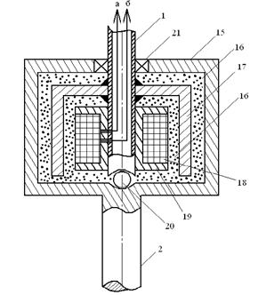
На рис. 1 изображена общая конструктивная схема ветрогидроэнергетической установки, на рис. 2 – магнитопорошковая муфта обеспечивающая объединение двух выходных валов ЭУ.

Рисунок 1 Общая конструктивная схема ветрогидроэнергетической установки
Ветрогидроэнергетическая установка имеет: вертикальный вал ветроэнергетической установки 1, вертикальный вал гидротурбины 2, рабочие лопасти ротора 3, гидротурбину 4, основание 5, шестерню передачи крутящего момента электрогенератора 6, шестерню сцепления 7, электрогенератор 8, верхнюю опору вала 9, растяжки 10, водогон 11, нижнюю опору 12, дополнительную опору 13, магнитопорошковую муфту 14, в состав которой входят: внешний корпус магнитопорошковой муфты 15, магнитный порошок 16, внутренний корпус магнитопорошковой муфты 17, катушка 18, корпус катушки 19, шаровая опора 20, шариковый подшипник 21.
Принцип действия ветро- и гидроэнергетической установок достаточно известный, потому основное внимание будет уделено разъединению и объединению валов ветро- и гидроэнергетических установок с помощью магнитопорошковой муфты 14. При отсутствии питания катушки 18, которое подается от источника питания Un (см. рис. 2) через контакты а и б вертикальный вал ветроэнергетической установки 1 и вертикальный вал гидротурбины 2 не имеют жесткого соединения. Это обусловлено тем, что частицы магнитного порошка, не будучи намагниченными, не имеют между собой связи. Т. е. вертикальный вал гидротурбины 2 свободно вращается вокруг вертикального вала ветроэнергетической установки 1, что обеспечивается наличием шарикового подшипника 21 и шаровой опоры 20.

Рисунок 2 Магнитопорошковая муфта
При подаче питания в катушку 18 частицы магнитного порошка 16 в связи с магнитным полем катушки 18 намагничиваются и жестко сцепляются между собой. При этом, магнитный порошок16 превращается в цельную массу, которая жестко соединяет внешний корпус магнитопорошковой муфты 15, который в свою очередь жестко соединен с вертикальным валом гидротурбины 2, с внутренним корпусом магнитопорошковой муфты 17, который в свою очередь жестко соединен с вертикальным валом ветроэнергетической установки 1.
Функциональная схема СУ ВГЭУ
Задачей данной установки является повышение мощности ветрогидроэнергетической установки в пиковые нагрузки и обеспечение ее непрерывной работы.
Данная ветрогидроэнергетическая установка по своей сути объединяет две системы: ветроэнергетическую и гидроэнергетическую. При уменьшении скорости ветра ниже расчетной производство электроэнергии может продолжаться за счет работы гидротурбины. При некотором снижении уровня воды производство электроэнергии может быть поддержано ветроэнергетической установкой. Таким образом, две системы работают на достижение одной цели - обеспечение непрерывного производства электроэнергии за счет одновременной работы в условиях изменения, как массы потока воды, так и массы потока ветра.
Таким образом, предложенная ветрогидроэнергетическая установка обеспечивает непрерывное производство электроэнергии и не требует дополнительных агрегатов для запуска ветроэнергетической установки. Кроме того, она наиболее полно отвечает наличию возобновляемых источников энергии, особенно западных районов Украины.
|
|
|
Функциональная схема ВГЭУ имеет вид

Рисунок 3 Функциональная схема ВГЭУ
где: МПМ - магнитопорошковая муфта; УМ - усилитель мощности; РБ - решающий блок; ЛБ - логический блок; ГТ – гидротурбина.
Функциональная схема СУ ГЭУ
Для эффективного производства электроэнергии на ГЭС необходимы два основных фактора: гарантированная обеспеченность водой круглый год и воз-
можно большие уклоны реки, благоприятствуют гидростроительству каньйонообразные виды рельефа.
Существует много способов стабилизации угловой скорости вращения гидротурбины ГЭУ. Все они имеют свои преимущества и недостатки. Наиболее
эффективным с точки зрения качества управления является управление путем поворота угла атаки лопасти гидротурбины.
Задача управления заключается в обеспечении максимального быстродействия реагирования системы на изменения потока воды и нагрузки потребления с целью стабилизации выходного напряжения. Для достижения этого в систему вводятся обратные связи, которые подают на вход информацию об угле поворота лопасти, угловой скорости вращения ГЭУ, величине мощности электрогенератора, а также угловой скорости ротора электрогенератора.
Регулятор системы должен управлять сервоприводом лопасти, который будет отклонять ее на требуемый угол. Ротор ГЭУ через редуктор связан с электрогенератором.
На рис.4 приведена функциональная схема ГЭУ. Полученная схема будет рассмотрена при совместной работе с ВЭУ в составе ВГЭУ.






