Технологии на основе СВЧ плазменных разрядов.
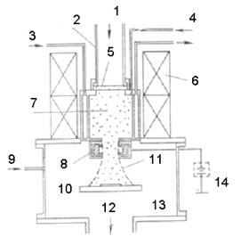
На Рис. 6 приведена схема установки для осаждения пленок путем распыления мишени СВЧ плазмой с электронным циклотронным резонансом.

Рис. 6. Схема установки с плазмой на электронно-циклотронном резонансе.
На Рис. 6 обозначено: 1 – ввод СВЧ мощности от магнетрона, работающего на частоте 2,45 МГц, 2 – волновод прямоугольного сечения, 3 – подвод охлаждающей воды, 4 – напуск аргона, 5 – кварцевое окно, 6 – электромагнит, 7 – разрядная камера, 8 – распыляемая мишень, 9 – напуск кислорода, 10 - подложкодержатель с пластиной, 11 – плазменный поток, 12 – откачка, 13 - рабочая камера, 14 – источник питания.
Электромагнитную волну по волноводу подают в цилиндрический кварцевый реактор, в котором сформирована магнитная ловушка с напряженностью магнитного поля 0,05 – 0,2 Тл. В электромагнитной волне вектор электрического поля перпендикулярен вектору магнитного поля. Плазма, формирующаяся в реакторе, вытягивается за счет ослабления магнитного поля вдоль оси системы в сторону мишени и распыляет материал мишени. Электроны плазмы, достигая пластины, сообщают ей отрицательный потенциал, что обеспечивает ускорение ионов в сторону пластины. При работе с заданным парциальным давлением кислорода на поверхности подложки формируется слой оксида, при работе в среде азоте – слой нитрида, а при работе на смеси ацетилена или метана с водородом на поверхности подложки формируется слой углерода с алмазоподобной структурой. Скорость и качество пленок определяются температурой подлодки и подводимой СВЧ мощностью, при этом скорость роста пленок может достигать 30 нм/мин., а неравномерность толщины пленки по диаметру составляет не более 5%.
|
|
|
В целом осаждение пленок с использование плазмы с электронным циклотронным резонансом, несмотря на отсутствие нагрева пластин до значительных температур, обеспечивает лучшие свойства пленок металлов и их оксидов по сравнению с технологиями термического испарения в вакууме и ионного распыления.
Окисление кремниевых пластин.
Помимо осаждения пленок, плазма на основе СВЧ разряда может быть использована для окисления монокристаллических пластин кремния.
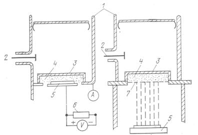
На Рис. 7 приведены два варианта технологических процессов окисления кремниевых пластин с использованием СВЧ плазмы.

а б
Рис. 7. Устройства для окисления кремниевых пластин с использованием СВЧ плазменного разряда.
На Рис. 7 обозначено: 1 – одномодовый подстраиваемый резонатор, 2 – ввод СВЧ энергии, 3 – съемный кварцевый контейнер, 4 – СВЧ плазма, 5 - держатель с окисляемой кремниевой пластиной, 6 – регулируемый источник для подачи постоянного смещения, 7 – сетка. В варианте технологии, показанной на Рис. 7 а, пластина размещается непосредственно в плазме, в варианте, показанном на Рис. 7 б, - с удалением пластины от источника СВЧ плазмы.
|
|
|
Рабочая частота установки составляла 2,45 МГц при мощности до 10 Вт. Скорость окисления кремниевой пластины зависит от напряжения смещения и при напряжении 18 Вольт составляет 50 нм/мин., а при напряжении 50 Вольт – 130 нм/мин.
ЛЕКЦИЯ 14. ТЕХНОЛОГИИ ИОННОГО РАСПЫЛЕНИЯ И ИОННОЙ ИМПЛАНТАЦИИ.






