Физические основы ионной имплантации.
При изготовлении многих современных полупроводниковых приборов и устройств применяют технологии ионной имплантации. В данных технологиях пучок положительно заряженных ионов из ускорителя ионов бомбардирует поверхность кристалла, внедряясь в объем материала. Проникая в кристалл, примесь легирует его, одновременно создавая радиационные дефекты в кристалле. Распределение внедренных ионов по глубине проникновения описывается кривой Гаусса, основными параметрами которой являются средний нормальный пробег ионов и стандартное отклонение пробега.
Глубина проникновения ионов возрастает с увеличением их энергии и уменьшается с ростом массы ионов. При этом траектории ионов не прямолинейны, а имеют вид ломаных отрезков, что обусловлено процессами упругого и неупругого рассеяния ионов. При точной ориентации ионного пучка вдоль одной из кристаллографических осей материала подложки имеет место эффект каналирования ионов, при этом глубина проникновения ионов в кристалл возрастает в несколько раз по сравнению с поликристаллом.
|
|
|
Если энергия, переданная ионом атому кристалла, превышает энергию связи атома в кристаллической решетке, то атом покидает узел решетки. В результате образуется пара Френкеля – дефект, состоящий из вакансии и междоузельного атома. Атомы, находящиеся на поверхности кристалла, покидают поверхность, образуя дефект Шоттки – вакансию в верхнем монослое кристалла. Кога плотность потока ионов на поверхность кристалла превышает некоторое критическое значение, называемое дозой аморфизации, приповерхностная область кристалла переходит в аморфное состояние. Для восстановления кристаллической структуры материала проводят отжиг кристалла, в результате которого происходит отжиг радиационных дефектов. В качестве примера в Таблице 3 приведены значения средних нормальных пробегов Rp и стандартных отклонений пробегов ΔRp, выраженных в нанометрах, для ряда ионов при их имплантации в кремний с энергиями Ер в интервале 20 – 200 КэВ. Приведенные в Таблице значения рассчитаны с использованием методов теории столкновений и теории случайных процеесов.
Таблица 3.
Параметры имплантации ионов в кремний.
| Ер, КэВ | Параметр | B+ | Al+ | P+ | As+ | Sb+ |
| Rp | ||||||
| ΔRp | 9,4 | 3,7 | 2,4 | |||
| Rp | ||||||
| ΔRp | 8,4 | 5,1 | ||||
| Rp | ||||||
| ΔRp | 14,5 | 8,4 | ||||
| Rp | ||||||
| ΔRp | 10,5 | |||||
| Rp | ||||||
| ΔRp | 12,5 |
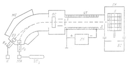
На Рис. 6 приведена схема типовой установки для ионной имплантации, в частности для имплантации примесей бора и фосфора в полупроводниковый материал.
|
|
|

Рис. 6. Схема установки для ионно-лучевой имплантации.
На Рис. 6 обозначено: Н – испаритель фосфора, МН – натекатель для подачи паров фторида бора BF3, ИФ и ИБ – ионные источники бора и фосфора, ВЭ – вытягивающие электроды, МС – магнитная система сепаратора ионов, ФС – система фокусировки и сканирования ионного пучка, З – заслонка, УТ - ускоряющая трубка, ИН – высоковольтный источник питания, Д – прямоугольная диафрагма, Б – кассета с пластинами, ПК – вакуумная камера, ВС – вакуумная система.
Фосфор подается в установку в виде паров красного фосфора, бор – в виде паров фторида бора. В устройствах ионизации образуются ионы соответственно бора или фосфора, ионы ускоряются и проходят через магнитный сепаратор ионов и область фокусировки ионного пучка и его развертки в растр. Далее ионы ускоряются до заданной энергии и направляются на поверхность обрабатываемых пластин.






