
На рис. представлен винтовой компрессор. Работа компрессора осуществляется следующим образом. В корпусе компрессора 3 вращаются два ротора: ведущий 1 и ведомый 2. Поверхности роторов выполнены в виде винтов и находятся в зацеплении таким образом, что выступы ведомого вала входят во впадины ведущего. При всасывании газа из зоны а газ попадает во впадины ведущего ротора, которые выполняют роль цилиндров. Роль поршня выполняют выступы ведомого вала, которые, заполняя последовательно всю длину канала, образованного впадинами, постепенно осуществляют сжатие газа. В момент, когда сечение впадин оказывается перед нагнетательным отверстием, газ, сжатый до конечного давления, поступает в систему нагнетания (зона 6).
Процесс сжатия газа осуществляется и во впадинах ведущего ротора при заполнении их выступами ведомого ротора. Таким образом, винтовые компрессоры являются типичными представителями компрессоров объемного типа.
Винтовые компрессоры могут развивать производительность от 0,06 до 0,4 мЗ/с при конечном давлении 0,3 МПа (для одноступснчатого компрессора) и до 10 МПа (для двухступенчатого компрессора). Частота вращения ротора 50... 200 об/с. Винтовыс компрессоры могут применятся для подачи газа с наличием в нем жидкости, например конденсата.
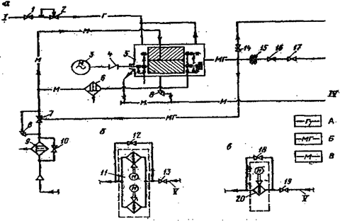
Технологическая схема компрессорных установок типов 7ВКГ-30/7 и 7ВКГ-50Л показана на рис.
Нефтяной газ с сепарационных установок поступает на компрессор 5 через приемную задвижку 1 и впускной клапан 2. Процесс сжатия происходит аналогично сжатию в компрессоре 5ВКГ.
Маслогазовая смесь из компрессора поступает в сепаратор (в комплект поставки не входит), где газ отделяется от масла и направляется в газопровод по назначению, а масло или нефть под давлением нагнетания, пройдя через холодильник 11, фильтры 9 и 6, поступает вновь на компрессор. При неработающем компрессоре для случая, когда масляная система находится под давлением, на компрессорной установке предусмотрен отсечной клапан 7, перекрывающий вход масла в компрессор.

Рис. Технологическая схема компрессорных установок типов 7БКГ-50/7 (о, б) и 7БКГ-30/7 (в):
1 – эадвижка; 2 – выпускной клапан; 3. - электродвигатель; 4 - муфта сцепления;
5- компрессор; 6 -масляный фильтр; 7 -отсечной клапан; 8 -вентиль угловой; 9 -масляный фильтр грубой очистки; 10,13.17,19 - вентили;
11.- блок маслоохладителя 7ВГК-50/7; 12, 18 – перепускные клапаны; 14- предохранительный клапан; 15- компенсатор; 16 - обратный клапан;
20-блок маслоохладителя; I - газ на прием компрессора; II- газомасляная смесь в приемный сепаратор; IП - гаэомасляная смесь к потребителю; lV -слив масла в емкость; V – масло на охладитель; А-газ; Б – газомасляная смесь; В - масло
Отсечной клапан необходим для предотвращения подачи масла в компрессор при его остановке. В противном случае масло заполнит рабочие полости компрессора, что затруднит последующий запуск установки и может привести к гидравлическому удару.
Клапан закрывается с понижением давления на выходе из компрессора после его остановки. Снижение давления происходит в результате утечки газа из компрессора, по зазорам в винтах на всасывание.
Смазка подшипников, создание затвора в запорных втулках, разгрузочном устройстве и концевом уплотнении осуществляется тем же маслом, которое дополнительно пропускается через сетчатый фильтр тонкой очистки 6. При запуске компрессорной установки в холодное время года, когда в холодильнике имеется загустевшее масло, подвод масла осуществляется через перепускные клапаны 12 и 18, минуя холодильник