Для ремонтируемых систем целесообразно определять среднюю наработку до к-го отказа:Xkср=X1ср+X12ср+X23ср+...+Xk-1ср,kср=X1ср+∑Xk-1ср,kср,
X12ср=∑Х12ср/n,
где n-число автомобилей.
Вторым показателем является параметр потока отказов ω(х), который представляет собой плотность вероятности возникновения отказа восстанавливаемого изделия, определяемая для данного момента времени или пробега: ω(х)= ∑fk(х),
где fk(х)-плотность вероятности к-го отказа.
На практике параметр потока отказов определяют следующим образом:
ω(х)=m(X1)/[n(X2-X1)],
m(X1)-суммарное число отказов в интервале Х1,Х2.
Иными словами, ω(х)-это относительное число отказов, приходящееся на единицу времени или пробега одного изделия. Причём, при оценке надёжности изделия число отказов обычно относят к побегу, а при оценке потока отказов, поступающих для устранения-ко времени работы производственной зоны.
Вообще параметры безотказности ремонтируемых систем в большей степени характеризуют зону ремонта, чем автомобиль. Поэтому их используют для расчётов ресурсов, необходимых для ремонта (восстановления) автомобиля.

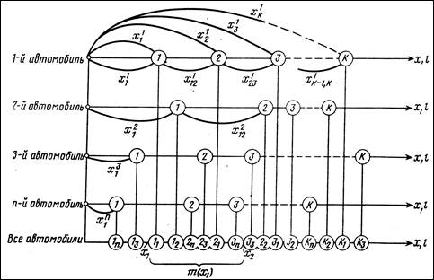
Рис 7. Схема формирования потока отказов
Здесь фиксировались моменты временипоявления случайных одинаковых отказов в группе из n автомобилей. Подобное наблюдение позволяет знать, сколько автомобилей с отказами данного вида будет поступоть в зону ремонта в течение смены (недели, месяца), будет ли их количкство постоянным и от каких факторов оно зависит.
Очевидно, что наработки на отказы случайны для каждого автомобиля и описываются соответствующей функцией f(x).
Во-вторых, эти наработки независимы у разных автомобилей. В-третьих, для зоны ремонта безразлично, от какого автомобиля поступает отказ и какой он по счёту. Для этого случая параметр потока отказов будет равен: ω(х)=m(X1)/[n(X2-X1)].
Стабилизация потока отказов
Реальный парк автомобилей состоит из автомобилей разных возрастов. Как в этом случае планиравать необходимое количество ресурсов, как будет вести себя параметр потока отказов? Для ответа на этот вопрос сначала вспомним, что ω(х) функция случайная, поэтому она имеет какой-то определенный закон распределения. Предположим, это нормальный закон, рис.8.

Рис. 8. Схема стабилизации потока отказов. f(l)-поток отказов.
Отказы начинают возникать с момента l -3σ и к моменту l +3σ заменится всё первое поколение деталей. Детали второго поколения вводятся постепенно. Максимум будет на пробеге 21, но его величина приблизительно в два раза меньше, так как кривая приблизительно в два раза шире, а σ2=2σ1. С момента 2 l -3σ2 начинают вводиться детали третьего поколения деталей. Его максимум будет при 3 l. Практически с этого иомента. f(l)- становится постоянным. Для случая нормального закона. f(l) =const начиная с значения l*l /3σ, для других законов распределения стабилизация наступает ещё быстрее. С этого момента интенсивность отказов постоянна, а потому закон распределения экспоненциальный, следовательно износовые (постепенные) отказы проявляют себя так же, как и внезапные.
Профилактика и ремонт в теории надёжности машин
Профилактика-комплекс технических мероприятий, проводимых до возникновения отказа с целью предупреждения отказов, уменьшения интенсивности изнашивания сопряжений.
Мероприятия ремонтного характера производятся после возникновения отказа. Цель ремонта-поддержание и восстановление работоспособного состояния.
Идеальным называется ремонт, который проводится в момент появления отказа с полным восстановлением работоспособности.
Взаимоотношение между профилактикой и ремонтом даёт представление рис.9.

1-интенсивность отказов неремонтируемых систем, 2- интенсивность отказов ремонтируемых систем (линия идеального ремонта), 3- интенсивность внезапных отказов, а-зона внезапных отказов, в-зона профилактики, с-зона ремонтов. Рис. 9. Профилактика и ремонт машин
Анализ диаграммы позволяет сделать следующие выводы:
- Автомобиль является восстанавливаемой системой, поэтому интенсивность отказов никогда не достигает максимальных значений кривой 1.
- Снижение простоев в ожидании ремонта и увеличение процента восстановления работоспособности снижает параметр потока откезов, приближая его к идеальному ремонту.
- Интенсификацией профилактики можно достичь сколь угодно малого параметра потока отказов, но не ниже интенсивности внезапных отказов.
- На интенсивность внезапных отказов не влияют режимы профилактики и ремонта.