Алюминий получают из сырья, содержащего значительное количество глинозема, – бокситов, каолинов, нефелинов и алунитов. Бокситы содержат 50–60 % А12О3 и являются главным видом сырья для получения алюминия.
Технология получения алюминия включает: извлечение из сырья глинозема А12О3; получение алюминия электролизом глинозема; рафинирование алюминия.
Глинозем А12О3 – окисел высокой стойкости; температура плавления − 2050 °С. В зависимости от количества и характера примесей, входящих в состав сырья, для извлечения глинозема применяются различные способы, среди которых наиболее распространен щелочной. По этому способу бокситовую муку, смешанную с содой, спекают при 800–1000 °С для получения растворимого в воде алюмината натрия Al2O3 · Na2O. Его выщелачивают водой и продувают углекислотой для получения осадка гидроокиси алюминия. После промывки и сушки осадок прокаливают, отделяют воду и получают глинозем.
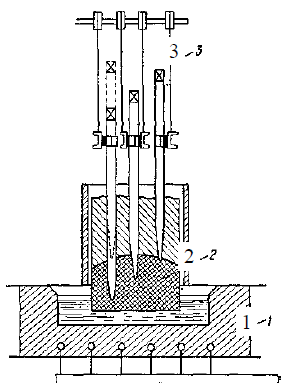
Так как глинозем вследствие его тугоплавкости трудно расплавлять, его смешивают с криолитом Na3AlF6, который плавится при температуре 1000 °С. Растворы глинозема в криолите эвтектического состава (около 15 % А12О3) плавятся при 940 °С. Электролиз растворов, содержащих 8–10 % глинозема, производится в специальных ваннах – электролизерах. Упрощенная схема электролизера приведена на рис. 3.10.

Рис. 3.10. Схема алюминиевого электролизера.
Анод из нефтяного или смоляного кокса и каменноугольного пека 2 снаружи имеет кожух из тонких листов алюминия, который по мере необходимости наращивается сверху коробками и заполняется анодной массой. По мере опускания анода механизмом 3 анодная масса постепенно спекается и становится твердой. Подвод тока к аноду осуществляется сверху от анодной линии через стальные штыри, забиваемые в анод. Штыри перемещаются также с помощью механизма 3. На дне ванны укладывают углеродистые блоки 1, к которым подается ток от катодной шины. Боковые стенки электролизера также облицовываются углеродистыми блоками.
Электролизер заключен в кожух. Выделяющийся фтористый водород улавливается. Ванна в период работы заполнена расплавленным криолитом, в который периодически подают глинозем. Электролизеры питаются током 50000–155000 А, напряжением 4–4,5 В. Ток используется не только для обеспечения процессов электролиза глинозема, но и для получения тепла, необходимого для поддержания высокой температуры электролита (950–1000 °С).
Получаемый в жидком виде на катоде (дне ванны) алюминий один раз в течение трех-четырех суток откачивается с помощью вакуумного ковша, соединенного с вакуумным насосом.
Полученный в электролизере алюминий подвергается рафинированию продувкой в ковшах хлором. Получение алюминия высокой чистоты чаще всего достигается электролитическим рафинированием. Анодом служит подлежащий очистке алюминий, катодом – пластины чистого алюминия. В качестве электролита используются расплавленные хлористые и фтористые соли при 750 °С. Выпускаемые марки алюминия высокой чистоты содержат 0,005–0,05 % примесей, алюминий особой чистоты − до 0,001 % примесей.