Устройства для подвода сжатого воздуха и рабочих компонентов к вращающемуся буровому ставу

Для осуществления рабочего процесса к вращающемуся буровому ставу необходимо подавать сжатый воздух, воду, а у станков комбинированного бурения, имеющих термические горелки и топливо,через невращающиеся подводящие устройства, входящие как конструктивный элемент в вертлюг.

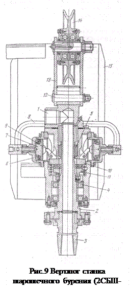
Вертлюг (рис.9) служит для подачи сжатого воздуха (через патрубок 1) от невращающегося рукава к вращающе муся буровому ставу (через шпиндель 2 и наконечник 3), а также для поддержания верхнего конца штанги при бурении и быстрого подъема става из скважины. Шпиндель установлен в расточке корпуса на шарикоподшипниках 4. Зазор между вращающимся (вместе со штангой) шпинделем и неподвижным корпусом уплотнен сальником 5.

Соединение свободно вращающегося шпинделя вертлюга со штангой и отсоединение его возможно только при застопоренном шпинделе, поэтому в вертлюге предусмотрен механизм стопорения. Он состоит из двух цилиндров 6 с поршнями 7, к которым подводится сжатый воздух по трубопроводу управления 8. Смещаясь под давлением сжатого воздуха, поршни поворачивают рычаги 9, которые, в свою очередь, нажимают на кольцо 10, имеющее кулачки на торцовой поверхности и шлицы на наружной. При сцеплении кулачков кольца 10 с кулачками диска 11, имеющего внутренние шлицы, шпиндель не вращается, так как соединен с неподвижным корпусом. Пальцем 12 к приливу патрубка 1 прикреплены серьги 13, в которых установлен блок 14 подъема вертлюга. Корпус вертлюга прикреплен к салазкам 15, полозья которых скользят по направляющим мачты

Устройство для подвода рабочих компонентов (рис.10) станков комбинированного бурения состоит из пустотелого коллектора 1, присоединительного фланца 2, стаканов 3 —5, упорного кольца 6, крышки 7 и кожуха 8. Фланец 2 навинчен на вал подшипникового узла и вращается вместе с ним и коллектором 1. Через штуцеры 9 и 10 вштангу подаются соответственно вода и горючее, а через внутреннюю полость коллектора — сжатый воздух.





Подборка статей по вашей теме: