Устройства для хранения, подачи штанг, свинчивания
Для хранения штанг и подачи их на ось бурения в процессе наращивания бурового става служат различные кассетирующие устройства.
На станках шарошечного и шнекового бурения применяют кассеты секторного типа, тогда как на станках пневмоударного — барабанного. Емкость кассет секторного типа не превышает трех-четырех штанг, а барабанного — восьми.
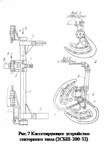
Кассетирующее устройство секторного типа (рис.7 ) представляет собой трубу 1 с верхним 2 и нижним 3 секторами, в
прорезях которых предусмотрены четыре гнезда для установки штанг. Ширина прорези соответствует ширине лыски на хвостовике штанги, что исключает проворот последней в кассете при отвинчивании от, нее переходника. Для того чтобы извлечь штангу, ее следует приподнять так, чтобы круглая ее часть вышла из гнезда сектора. Кассета на осях установлена в кронштейнах 4 и 5, укрепленных болтами на мачте станка. В средней части труба 1 поддерживается люнетом 6, Между подшипниками люнета к трубе приварен кривошип 7, шарнирно соединенный со штоком гидроцилиндра 8 и служащий для поворота кассеты.
При повороте кассеты вокруг вертикальной оси каждая из закрепленных в кассете штанг может быть последовательно установлена на оси шпинделя патрона и вертлюга (оси скважины). Для соединения штанги, находящейся в кассете, со штангой, зажатой в патроне, вращают шпиндель. После свинчивания штанг кассету отводят от патрона в обратном направлении. При этом свинченная штанга выходит из кассеты (прорезей секторов). Верхний конец штанги свинчивают с вертлюгом (см. рис. 6.12), после чего продолжают бурение.
Кассетирующие устройства станков СБШ-250МНА-32 и СБШ-320-36 имеют аналогичный принцип действия при некоторых различиях в деталях конструктивных исполнений.
Кассетирующее устройство барабанного типа (рис.8) служит для размещения восьми 3-метровых буровых штанг и состоит из невращающейся оси 1 на которую надета поворотная часть, состоящая из трубы 2 с нижней плитой 3, поддерживающей опоры 4 и верхней обоймы 5. На нижней плите размещены шестигранники 6, навинченные на оси 7 и прижимаемые пружинами 8 к торцам фланцев 9. Буровые штанги устанавливаются в кассете вертикально и надеваются своими внутренними шестигранниками на шестигранники 6. При этом верхние концы штанг удерживаются пружинными захватами 10, а также обоймами 5 и 11. На нижнем конце оси 1 свободно посажено храповое колесо 12, в зацепление с которым входят собачки 13, жестко связанные с нижней плитой кассеты. Рычаг 14, соединенный с храповым колесом, имеет ролик 15, который при перемещении двумя гидроцилиндрами, укрепленными на мачте, на ось скважины и обратно взаимодействует с упорами на раме и поворачивает плиту 3 через собачки 13 на угол 45°. Плита удерживается от поворота шариковыми фиксаторами 16.
Механизм свинчивания (развинчивания) штанг и долота служит для страгивания резьбовых соеди нений става, затянутых при бурении. Особенности расположения механизма на станке и последовательность его взаимодействия с кассетирующим устройством определяет конструкция ВПМ. Механизм свинчивания (развинчивания) обычно прикрепляется к нижней части мачты и представляет собой зажимное устройство и храповой механизм страгивания резьбы, приводимые в действие силовыми гидроцилиндрами. После страгивания резьбового соединения процесс развинчивания (свинчивания) осуществляется вращателем.






