Буровая мелочь из скважины удаляется шнеками, шнекопнев-матической очисткой, продувкой, промывкой и отсасыванием. Первые два способа применяют на машинах вращательного действия. Шнековый способ прост, надежен, но не пригоден для машин других типов. На карьерах при бурении скважины станками, оборудованными погружными пневмоударниками и шарошками, распространена продувка. Промывку скважин на открытых работах не используют. Отсасывание находит применение при подземном бурении бурильными молотками.
Шнековую очистку вертикальной скважины осуществляют на частотах вращения шнека выше критической.
Шнеко пневматическую очистку скважин на станках шнекового бурения проводят с применением дополнительного оборудования: компрессора подачей 5—9 м3/мин, устройства для подвода сжатого воздуха к вращающемуся буровому ставу, специальных шнековых штанг. Она увеличивает до двух раз скорость и производительность бурения вследствие полной очистки забоя скважины даже при уменьшенном вращении става, на 20—30 % оптимальную глубину бурения в сухих и в 2—2,5 раза — в обводненных породах, а также в 2,5—3 раза износоустойчивость режущего инструмента и шнековых штанг.
Продувку скважин применяют при шарошечном и пневмоударном способах бурения.
Мокрое пылеулавливание способствует лучшему охлаждению долота и очистке воздуха и используется на шарошечных станках СБШ-250МНА-32, СБШ-320-36 и некоторых модификациях станка 2СБШ-200Н-32. Недостатки способа: высокий расход воды, затраты на ее подогрев в зимнее время, невозможность использовать буровую мелочь для забойки скважины.
На всех типах станков пневмоударного бурения и на большинстве типов шарошечного применяют системы сухого пылеулавливания. Они работают по принципу очистки воздуха, выносящего из скважины продукты бурения, в последовательно установленных ступенях фильтров.
Пневматическое транспортирование буровой мелочи при шарошечном бурении осуществляют, по следующей схеме. Воздух от компрессора под давлением 0,6—0,7 МПа подается во внутренний канал буровой штанги, откуда поступает к забою и далее выходит по кольцевому зазору между штангой и стенками скважины со скоростью 15—40 м/с.
Для исключения попадания грунтовых вод в скважину давление воздуха в ней должно быть не менее 0,25—0,4 МПа.
Вынос породы из скважины происходит вследствие того, что подъемная сила восходящей струи воздуха, действующая на частицы породы, превышает их вес. Скорость воздуха, при которой его подъемная сила равна весу частицы, называется скоростью витания. В этом случае частицы породы находятся во взвешенном состоянии.
Скорость восходящего потока V n (м/с) в затрубном пространстве, необходимая для подъема частиц породы усредненного диаметра dn (м) и плотностью γ(кг/м3), может быть определена по формуле

Расход воздуха WB (м3/мин) зависит от скорости восходящего потока Vп (м/с) и площади поперечного сечения зазора между стенками скважины и буровой штанги соответственно диаметрами D (м) и d (м):

Подачу компрессоров бурового станка выбирают в 2—3 раза большей, чем расход воздуха WB, в связи с возможными большими утечками воздуха по трещинам при бурении трещиноватых пород.
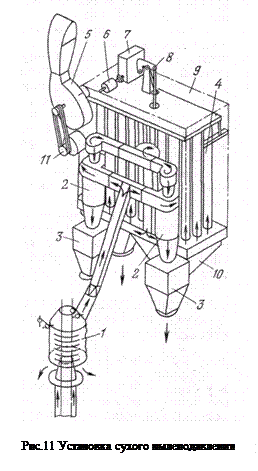
Установки сухого пылеулавливания выполняют в основном по единому принципу действия. Они отличаются друг от друга формой пылеприемника и числом ступеней фильтров фильтрационной камеры. Типовая установка сухого пылеулавливания состоит из открытого пылеприемника 1 (рис.11), прикрепленного к раме станка (под пылеприемником осаждаются крупные фракции бурового продукта — первая ступень очистки) и парного циклона 2 (вторая ступень очистки), после которого более крупные фракции падают в бункер 3, а тонкая пыль поступает в тканевые рукавные фильтры 4, в которых происходит окончательная очистка воздуха (третья ступень). Затем поток через вентилятор 5 выходит в атмосферу. Для периодической очистки внутренней поверхности рукавов служит механизм встряхивания, состоящий из электродвигателя 6, редуктора 7 и кулачков, воздействующих на рычаг 8, связанный с подвижной рамой 9 фильтра. Выпадающая из рукавов пыль собирается в двух бункерах 10. Управление встряхивателем — дистанционное из кабины машиниста. При включении встряхивающего устройства автоматически отключаются основные компрессоры и вентилятор, а через за данный промежуток времени — встряхиватель. При этом может быть включен привод вентилятора 11, а затем — приводы основных компрессоров. Контроль за работой установки осуществляют депрессиометрами (микроманометрами), установленными в кабине машиниста.
При бурении крепких пород, если механическая скорость бурения не превышает 10—15 м/ч, вторая ступень очистки может быть отключена.
Установка мокрого пылеподавления предусматривает спрыскивание под давлением некоторого количества воды или мыльной эмульсии в трубопровод, подающий сжатый воздух к забою скважины через форсунки 6. Поднимаясь по затрубному пространству, воздушно-водяная смесь увлекает за собой частицы разбуренной породы и поднимает их в виде влажного шлама к устью скважины. Выходящая из скважины влажная порода воздушным потоком специального вентилятора сдувается в сторону от станка. Количество подаваемой в скважину воды регулируется вентилем из кабины машиниста. Закачка воды в водяную емкость осуществляется вихревым насосом. В зимнее время водяная система обогревается.