MN – узел управления
MPS – система бесперебойного питания
RAXM – удаленный аналоговый абонентский концентратор
RMLC – удаленный узел доступа версии С
TCP/IP – интерфейс IP-сети
Рисунок 4.1 – Структура системы Si2000.V5
4.1.3 Узел коммутации SN (модуль MCA) предназначен для коммутации соединительных линий и управления телекоммуникационными услугами, а также выполнения части функций управления и технического обслуживания. Узел коммутации SN используется в качестве ступени группового искания, может применяться как при формировании городской АТС средней емкости, так и в качестве самостоятельного транзитного узла.
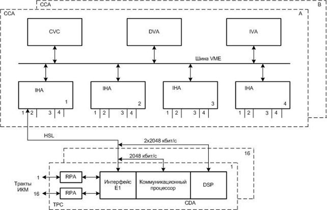
Модуль МСА состоит из центральной части (управляющей группы) и периферийных блоков (рисунок 4.2).

CCA (A/B) – контроллер центрального модуля, сторона А и В
CDA – коммуникационный контроллер
CVC – управляющий процессор, версия С
DSP– процессор цифровых сигналов
DVA – плата энергонезависимого запоминающего устройства
Ethernet – локальное соединение для управления, технического обслуживания и контроля
|
|
|
IVA – адаптер жесткого диска
IHA – расширенный интерфейс внутреннего тракта, версия А
HSL – внутренний тракт модуля МСА со скоростью передачи последовательных данных 16384 Кбайт/с
TPC – интерфейс тракта на первичной скорости, версия С
RPA – релейная плата с портами для подключения однопарных кабелей
Рисунок 4.2 – Упрощенная структурная схема центрального модуля MCA
Центральную часть модуля представляет собой контроллер центрального модуля ССА вместе с расширенным интерфейсом внутреннего тракта IHA. С целью повышения надежности работы центрального модуля МСА его управляющая группа дублирована (активная А и пассивная В управляющие группы).
К периферийным относятся интерфейсные блоки ТРС (интерфейс тракта на первичной скорости). В модуль МСА можно включить 16 блоков ТРС, каждый с 16 интерфейсами А, но одно из 16 мест предусмотрено для резервного блока ТРС. Максимальная емкость модуля 240 рабочих и 16 резервных интерфейсов А.
CVC (управляющий процессор, версия С) взаимодействует с остальными блоками через шину VME, управляет всеми логическими устройствами ССА. На блоке CVC установлены интерфейсы Ethernet, SCSI, RS232, RS485 и VME.
Функции CVC:
· обработка соединений и протоколов сигнализации, управление периферией своего модуля, а также узлами доступа;
· взаимодействие с узлом управления MN;
· управление жестким диском.
Взаимодействие с интерфейсами ТРС (с периферийной частью модуля) организовано через тракт HSL. Скорость цифрового потока в HSL 16384 Кбайт/с (2048 каналов по 64 Кбит/с). По каналам трактов HSL передается управляющая информация между процессорами управляющей системы (адреса, данные, сигналы выдержек времени, синхросигналы), а также сообщения между коммутируемыми каналами внешних трактов ИКМ.
|
|
|
CVC взаимодействует с коммуникационными процессорами на блоке CDA непосредственно через общие запоминающие устройства, а с цифровыми сигнальными процессорами DSP через коммуникационные процессоры на блоках CDA, которые входят в состав ТРС.
DVA (энергонезависимое запоминающее устройство ) предназначено для хранения тарифных данных. Разрядность 32 бита, емкость 4 Мбайта, передача данных на скорости не более 20 Мбайт/с. При пропадании внешнего питания DVA питается от двух литиевых батарей емкостью 540 мА/ч, что обеспечивает хранение данных в течение 20 лет.
IHA (расширенный интерфейс тракта HSL) является дополнительным блоком и обеспечивает выполнение следующих функций:
· высокоскоростное соединение с ТРС по тракту HSL (в каждый IHA включается 4 тракта HSL);
· коммутация каналов трактов ИКМ и каналов межпроцессорных коммуникаций. Для организации межпроцессорного обмена используются каналы со скоростью передачи 2048 Кбит/с. Коммутационный модуль представляет собой коммутатор с 16384 входами и 4096 выходами. Процессор CVC управляет коммутатором через интерфейс VME.
IVA (адаптер жесткого диска ) предназначен для установки жесткого диска, которым управляет CVC. На блоке IVA установлено 4 разъема для RS232 и 2 разъема для RS485 с целью подключения внешних блоков к последовательным интерфейсам блока CVC. На блоке IVA находится преобразователь DC/DC, который предназначен для преобразования входного напряжения -48 В в выходные напряжения +5 В, +12 В, минус 9 В.
ТРС (интерфейс первичного доступа) – блок подключения трактов на первичной скорости. К одному блоку ТРС подключается до 16 трактов Е1, соединяющих МСА с телефонной сетью и модулями доступа (ASM или AXM, MLB или MLC).
В состав ТРС входят:
1) интерфейсы для подключения внешних трактов ИКМ с потоками Е1 (первичные потоки 2048 Кбит/с);
2) два коммуникационных контроллера CDA.
CDA ( коммуникационный контроллер) состоит из процессоров DSP и коммуникационного процессора, которые имеют доступ к коммутационному модулю (блок IHA) через каналы 2048 Кбит/с. Коммуникационный процессор обрабатывает сообщения протоколов DSS1, ОКС№7, а также сигнализации по выделенным сигнальным каналам. Процессор DSP реализует до 32 приемников тональных сигналов (DTMF, МЧК), 16 генераторов одночастотной сигнализации, 32 генератора двухчастотной сигнализации, 5 схем конференц-связи, генератор кода пустого (незанятого канала). Максимально МСА может иметь 30 блоков CDA. Общее число каналов сигнализации, обрабатываемых одним блоком CDA, не должно превышать 32. Возможны следующие варианты подключения каналов сигнализации к блоку CDA:
· 4 канала ОКС№7 + 17 (ASMI, или V5.1, или канал DSS1, или канал PPP) +11 ВСК (CAS) ≤ 32;
· 4 канала ОКС№7 + 12 (ASMI, или V5.1, или V5.2, или канал DSS1, или канал PPP) +16 ВСК (CAS) ≤ 32;
· 4 канала ОКС№7 + 21 (ASMI, или V5.1, или V5.2, или канал DSS1, или канал PPP) +7 ВСК (CAS) ≤ 32.
Варианты использования блоков CDA определяются заранее.
RPA (релейные платы для подключения трактов ИКМ) включают в себя линейную часть со встроенным трансформатором для гальванической развязки и для включения симметричного кабеля 120 Ом.
4.1.4 Модуль доступа MLC (MLВ) оснащен цифровыми и аналоговыми интерфейсами, К ним могут быть подключены:
1) аналоговые абонентские терминалы и аналоговые учрежденческие телефонные станции (УПАТС);
2) абонентские терминалы типа ISDN по основному (BRA) или первичному (PRA) доступу;
3) учрежденческие телефонные станции с функциями ISDN по BRA или PRA;
4) коммутатор;
5) узел коммутации;
6) узел управления или терминал управления.
Виды интерфейсов:
1) интерфейс U – для доступа BRA и PRA, 2-проводная линия;
2) интерфейс S – для доступа BRA, 4-проводная линия;
3) интерфейс Z1 – для аналоговых 2-проводных абонентских доступов;
|
|
|
4) интерфейс С11 – для аналоговых 4-проводных разговорных и 2-4-проводных сигнальных соединений.
Модуль MLC состоит из центральной и периферийной частей (рисунок 4.3).
В состав центральной части входит контроллер линейного модуля CLC. Центральная часть используется для:
1) установления соединений в сторону цифровой сети и сети ISDN;
2) обработки соединений и сигналов;
3) коммутации каналов трактов ИКМ;
4) синхронизации и распределения тактовых сигналов;
5) контроля температуры в модуле;
6) соединения с узлом управления MN или терминалом управления МТ;
7) испытания абонентских линий или аналоговых телефонных аппаратов;
8) электропитания модуля.
В состав периферийной части модуля входят периферийные блоки, соединяющие модуль с оконечными пользователями телефонной сети, и блок питания и генератора вызывного тока PLC.

CLC – контроллер цифрового линейного модуля, версия С
CDB – плата коммуникационного контроллера, версия В
DC/DC – схема генерирования вторичных напряжений питания
KLВ – блок измерений по запросу абонентских линий и аналоговых телефонных аппаратов
LSL – последовательные тракты 16 Мбит/с
PLC – блок питания и генератора вызывного тока
RING – схема для генерирования вызывного тока
SAС – блок подключения аналоговых абонентов
SBA – блок основного абонентского доступа
SBC – блок основного абонентского доступа, версия С
SCC – управляющий процессор
ТАA – блок аналоговых линейных комплектов для включения в аналоговую сеть, версия А
TAB – блок аналоговых линейных комплектов для включения в аналоговую сеть, версия В
TPE – симметричный интерфейс первичного доступа, версия Е
Рисунок 4.3 – Структурная схема периферийного модуля MLC
CLC – контроллер цифрового линейного модуля, версия С. Контроллер CLC является основным блоком модуля MLC, выполняющим вместе с дочерними платами в модуле следующие функции:
· соединение модуля с сетями различного типа (цифровыми, ISDN, ATM, IP и т.д.);
· обработку соединений сигнализаций;
· коммутацию каналов ИКМ;
· установление соединений в сторону периферийных блоков модуля;
|
|
|
· хранение данных на соответствующем носителе;
· синхронизацию и распределение тактовых сигналов;
· контроль температуры модуля;
· идентификацию электронных блоков, включенных в модуль;
· установление соединения с MN или МТ через интерфейс Ethernet или RS232;
· управление источниками питания на блоке CLC.
TPE – симметричный интерфейс первичного доступа, версия Е; выполняет следующие функции:
· соединение портов 2,048 Мбит/с через интерфейс А;
· выделение линейного тактового сигнала от каждого порта и выбор источника синхронизации (первичный или вторичный), который используется в качестве опорного источника для синхронизации главного генератора на блоке CLC;
· идентификация блока.
К блоку CLC можно подключить до 4 блоков ТРЕ и соответственно до 16 интерфейсов первичного доступа.
CDB – плата коммуникационного контроллера, версия В. Контроллер CDB выполняет следующие функции:
· сканирование и управление сигнализацией CAS;
· сканирование и управление аналоговыми абонентами;
· обработка цифровых сигналов;
· обработка протоколов сигнализации (CAS, DSS1, SSN7);
· установление конференц-связи;
· межпроцессорная коммуникация;
· подключение к MN или МТ через разъемы на материнской плате;
· идентификация блока;
· контроль температуры с помощью соответствующих датчиков;
LSL – последовательные тракты 16 Мбит/с между интерфейсами периферийных блоков и блоком CLC:
SAС – блок подключения аналоговых абонентов, версия С; используется для подключения аналоговых терминалов по двухпроводным аналоговым линиям, оборудован 32 Z-интерфейсами. На съемном блоке SAC имеется 32 аналоговых абонентских комплекта. Абонентский комплект выполняет индивидуальные функции BORSCHT;
SBA – блок основного абонентского доступа, версия А; имеет 16 интерфейсов S для основного доступа BRA;
SBC – блок основного абонентского доступа, версия С; имеет 16 абонентских комплектов ISDN с интерфейсами U;
ТАA – блок аналоговых линейных комплектов для включения в аналоговую сеть, версия А; имеет 16 двухпроводных линейных комплектов для соединения с телефонной сетью общего пользования. В состав каждого линейного комплекта входят АЦП и ЦАП;
TAB – блок аналоговых линейных комплектов для включения в аналоговую сеть, версия В; имеет 8 двусторонних линейных комплектов, позволяющих включить узел в аналоговую среду с использованием аналоговых систем передачи с ЧРК. Комплекты восьмипроводные. Для передачи речи используются четыре провода (a, b, c, d), а для сигнализации – сигнальные провода (сигнализация Е&М);
PLC – блок питания и генератора вызывного тока. В состав PLC входят:
· схема генерирования вторичных напряжений питания (DC/DC) +/-5В, +3,3В, +/-12В;
· блок измерений параметров абонентских линий и аналоговых телефонных аппаратов (KLB), с помощью которого выполняются измерения по запросу (определяются значения напряжения и тока, емкость, сопротивления изоляции на аналоговых и цифровых линиях; сопротивление шлейфа на аналоговой линии, параметры передатчика сигналов частотного набора DTMF в аналоговом телефонном аппарате);
· схема генерирования тарифных сигналов (Met.), обеспечивающая генерирование тарифных сигналов 16 кГц;
· схема для генерирования вызывного тока (RING.) для генерирования вызывного тока 25 Гц или 50 Гц для аналоговых абонентских блоков;
DC/DC – схема генерирования вторичных напряжений питания;
KLВ – блок измерений по запросу абонентских линий и аналоговых телефонных аппаратов;
RING – схема для генерирования вызывного тока;
Ethernet, RS232, RS232/485 – локальное соединение для управления и технического обслуживания.
4.1.5 К функциям административного управления и технического обслуживания станции относятся: администрирование узлов SN и AN, предоставление и отмена права на работу с отдельными прикладными программами управления в отдельных блоках узлов, просмотр работы узлов и т.п. Эти функции выполняются из узла управления MN (Management Node) или терминала управления МТ (Management Terminal). Узел MN подключается к узлу SN через интерфейс Ethernet. Административное управление узлами AN обеспечивается через сеть передачи данных DCN (Data Communication Network), через узлы коммутации SN и внешние IP-маршрутизаторы IPR (Internet Protocol Router) или через локальный МТ.