3.5.1 Программное обеспечение сигнализации выполняет преобразование сообщений разных типов протоколов сигнализации в стандартные сигналы для программного обеспечения обработки вызовов и наоборот.

Рисунок 3.13 – Программное обеспечение сигнализации
Программное обеспечение сигнализации поддерживает протоколы сетей доступа для аналоговых и цифровых абонентских линий, протоколы межстанционной сигнализации по выделенным сигнальным каналам CAS (линейная, регистровая сигнализация) и по общему каналу сигнализации CCS7 (ОКС№7).
3.5.2. Звенья сигнализации ОКС№7 подключаются к двум типам модулей: IPTM и HCCM. Модуль IPTM поддерживает 4 звена сигнализации и предназначен для звеньев сигнализации с нормальным трафиком. Модуль НССМ поддерживает 8 звеньев сигнализации высокой производительности и может применяться для реализации выделенного транзитного пункта сигнализации.
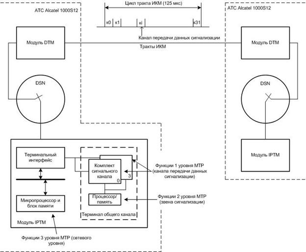
Модуль IPTM для сигнализации ОКС№7 реализует функции 1, 2 и 3 уровней подсистемы передачи сообщений МТР (рисунок 3.14). Функции пользовательских подсистем (4 уровень в стеке протоколов ОКС№7) реализуются в терминальных модулях доступа.

Рисунок 3.14 – Взаимодействия станций Alcatel 1000 S12 через ОКС№7
Четыре звена сигнализации ОКС№7 подключаются через коммутационное поле DSN методом полупостоянных соединений к одной плате IPTM и управляются одним процессором. Основная задача IPTM – прием сигнальной информации по звену ОКС и ее передача соответствующей подсистеме пользователя оконечного пункта сигнализации или по другому звену сигнализации в случае транзитного соединения.






