Тема: "Равновесие твердого тела, находящегося под действием произвольной плоской системы сил"
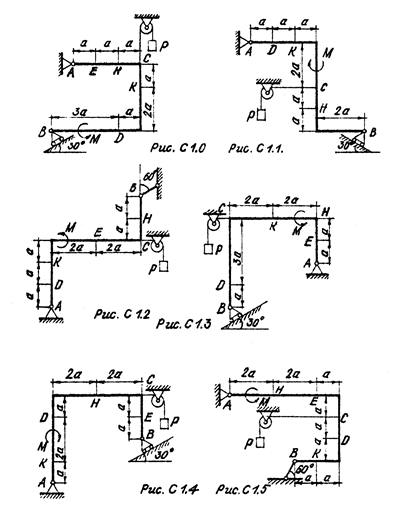
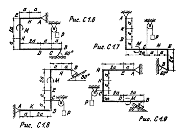
Жесткая рама (рис. С1.0 - С1.9) закреплена в точке А шарнирно, а в точке В прикреплена или к невесомому стержню с шарнирами на концах, или к шарнирной опоре на катках.
В точке С к раме привязан трос, перекинутый через блок и несущий на конце груз весом Р = 25 кН. На раму действуют пара сил с моментом М = 60 кН·м и две силы, величины которых, направления и точки приложения указаны в таблице 1 (например, при номере условия 9 на раму действуют две силы: F2 = 20кН, приложенная в точке Е и расположенная под углом 75° к горизонтальной оси, и F3 = 30кН, приложенная в точке К и расположенная под углом 30° к горизонтальной оси.).
Определить реакции связей в точках А и В, вызываемые действующими силами. При окончательных расчетах принять а=0,5м.
Таблица 1. Исходные данные для задачи С1.
Силы | F1 α1 | F2 α2 | α3 F3 | α4 F4 | ||||
| F1 = 10кН | F2 = 20кН | F3 = 30кН | F4 = 40кН | |||||
| Номер условия | Точка прило- жения | α1º | Точка прило- жения | α2º | Точка прило- жения | α3º | Точка прило- жения | α4º |
| Н | 30° | ― | ― | ― | ― | К | 60° | |
| ― | ― | D | 15° | Е | 60° | ― | ― | |
| К | 75° | ― | ― | ― | ― | Е | 30° | |
| ― | ― | К | 60° | Н | 30° | ― | ― | |
| D | 30° | ― | ― | ― | ― | Е | 60° | |
| ― | ― | Н | 30° | ― | ― | D | 75° | |
| Е | 60° | ― | ― | К | 15° | ― | ― | |
| ― | ― | D | 60° | ― | ― | Н | 15° | |
| Н | 60° | ― | ― | D | 30° | ― | ― | |
| ― | ― | Е | 75° | К | 30° | ― | ― |

|
|
|

Силы 





