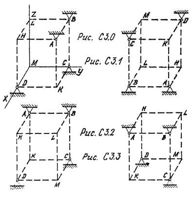
Тема: "Равновесие стержневой конструкции находящейся под действием пространственной системы сходящихся сил"
Шесть невесомых стержней соединены своими концами шарнирно друг с другом в двух узлах и прикреплены другими концами (шарнирно) к неподвижным опорам А, В, С, D. Стержни и узлы на рисунках не показаны, их должен нанести решающий задачу согласно данным таблицы 3 (узлы нужно расположить в вершинах Н, К, L или М куба, изображенного на рисунке пунктирной линией). В узле, который указан первым, приложена сила Р = 150 Н; во втором узле приложена сила F =200 Н. Сила Р образует с положительными направлениями координатных осей X, Y, Z углы, равные соответственно α1 = 45º, β1 = 60º, γ1 = 60º, а сила F - углы α2 = 45º, β2 = 60º, γ2 = 60º. Направления осей X, Y, Z для всех рисунков показаны на рис. С4.0. Определить усилия в стержнях.
Примечание: на рис. С3.10 в качестве примера показано, как должен выглядеть чертеж С3.3, если по условиям задачи узлы находятся в точках L и М, а стержнями являются LМ, LА, LВ, МА, МС, М D.
|
|
|
Указания. При решении задачи С3 нужно рассмотреть отдельно равновесие каждого из двух узлов, где соединены стержни и приложены заданные силы; начать нужно с узла, где сходятся три стержня.
Таблица 3. Варианты задачи С3.
| Номер условия | Узлы | Стержни | ||||||
| Н | М | НМ | НА | НВ | МА | МС | М D | |
| L | М | LМ | LА | L D | МА | МВ | МС | |
| К | М | КМ | КА | КВ | МА | МС | М D | |
| L | Н | LН | LС | L D | НА | НВ | НС | |
| К | Н | КН | КВ | КС | НА | НС | Н D | |
| М | Н | МН | МВ | МС | НА | НС | Н D | |
| L | Н | LН | LВ | L D | НА | НВ | НС | |
| К | Н | КН | КС | К D | НА | НВ | НС | |
| L | М | LМ | LВ | L D | МА | МВ | МС | |
| К | М | КМ | КА | К D | МА | МВ | МС |








