- Размерную линию на ее пересечении с выносными линиями, линиями контура или осевыми линиями ограничивают засечками в виде толстых основных линий длиной 2-4 мм, проводимых с наклоном вправо под углом 45° к размерной линии, при этом размерные линии должны выступать за крайние выносные линии на 1-3 мм.
- При нанесении размера диаметра или градуса внутри окружности, а также углового размера размерную линию ограничивают стрелками. Стрелки применяют также при нанесении размеров радиусов и внутренних скруглений.
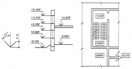
- Отметки уровней (высоты, глубины) элементов конструкций, оборудования, трубопроводов, воздуховодов и др. от уровня отсчета (условной «нулевой» отметки) обозначают условным знаком в соответствии с рисунком 4 и указывают в метрах с тремя десятичными знаками, отделенными от целого числа запятой.
- «Нулевую» отметку, принимаемую, как правило, для поверхности какого-либо элемента конструкций здания или сооружения, расположенного вблизи планировочной поверхности земли, указывают без знака; отметки выше нулевой — со знаком «+»; ниже нулевой — со знаком «–».
- На видах (фасадах), разрезах и сечениях отметки указывают на выносных линиях или линиях контура в соответствии с рисунком 5, на планах – в прямоугольнике в соответствии с рисунком 6, за исключением случаев, оговоренных в соответствующих стандартах СПДС.
- На планах направление уклона плоскостей указывают стрелкой, над которой, при необходимости, проставляют величину уклона в процентах или в виде отношения высоты и длины (например, 1:7).

Рисунок 4 Рисунок 5 Рисунок 6
Оборудование расставляют исходя из условий выполнения технологического процесса, обеспечения прямоточности движения агрегатов, узлов или деталей. При техническом обслуживании и ремонте необходимо выдерживать минимальные расстояния между оборудованием, а также между оборудованием и элементами здания согласно нормам технологического проектирования [10]. Оборудование изображается в соответствии с принятым условным обозначением, форма которого соответствует его контурам в плане, а размеры – габаритам в соответствующем масштабе. Сразу разместить оборудование наиболее рационально бывает трудно. Поэтому, рекомендуется применять картонные темплеты (карточки), представляющие собой условные изображения оборудования, выполненные в масштабе, которые легко можно будет переставить в различных вариантах. Возле оборудования, показывают место расположения рабочего в виде круга диаметром 600 мм (в соответствующем масштабе). На половине круга, которая обозначает затылок, наносится черта, а половина круга, которая обозначает лицо рабочего, должна быть повернута к оборудованию.
На планировке условными изображениями должны быть показаны подвод электроэнергии, сжатого воздуха, воды, пара, местные вентиляционные отсосы, слив в канализацию и т.д.
Нумерация всех видов оборудования – сквозная, обычно слева направо и сверху вниз, но на одном уровне.
На планировке необходимо указать расстояния между оборудованием и между оборудованием и элементами здания, а также указать соседние участки.
При выполнении планировки передвижной мастерской необходимо в левом нижнем углу показать общий вид принятого базового автомобиля или прицепа, на котором указать разрез фургона по оконным проемам, а вверху уже изобразить планировку самой мастерской.
К плану расстановки оборудования составляют экспликацию, содержащую, такие данные: номер позиции, наименование оборудования и производственного инвентаря, модель или тип, количество, примечания, в которых указывается установленная мощность токоприемников, емкость и т.д. Экспликация располагается на основной надписью на расстоянии 20 мм. На листе планировки необходимо также дать условные обозначения подъемно-транспортного оборудования, потребителей электроэнергии, сжатого воздуха, воды и т.д.






