Чипсетом MB называют набор микросхем, управляющий МП, ОП, ПЗУ, кэш-памятью, системными шинами и интерфейсами передачи данных, а также рядом периферийных устройств. Чипсет обычно состоит из нескольких специализированных интегральных микросхем, как правило, от 1 до 5, выпущенных одним производителем. Широкое распространение чипсеты получили в эпоху 486-х процессоров. Переход к чипсетам позволил уменьшить стоимость матплат и повысить взаимную совместимость компонентов, что облегчало задачу проектирования MB.
В настоящее время существует большое количество компаний, выпускающих чипсеты для МП различных поколений: Intel, VIA, SiS, ALI, AMD. При обозначении используется название фирмы и номер серии: Intel 440BX, VIA KT800. Чипсет конструктивно привязан к использованию МП.
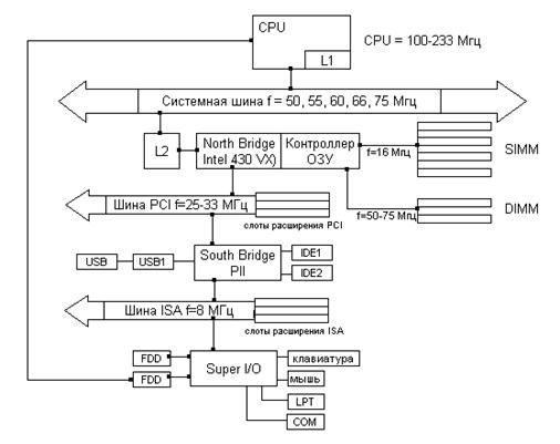
Блок-схема MB на чипсете Intel 430FX
В качестве примера рассмотрим чипсет Intel 430FX, который состоит из трех микросхем. Это системный контроллер – 82437FX. Микросхема 82371FB – коммутатор данныхз. Это часть чипсета определяет типы и частоты поддерживаемых CPU, политику записи, возможности применения различных микросхем и скоростные характеристики кэша L2.
|
|
|
Возможный размер кэша и кэшируемой области ОЗУ
Типа, объемы и максимальное количество модулей динамической памяти, возможность чередования банков, скоростные характеристики обмена. Поддерживаемые устройства PCI. Возможно количество контроллеров шины и способов буферизации.
Микросхема южного моста PIIX (PCI IDE ISA)
Это микросхема представляет собой многофункциональное устройство, выполняющее следующие функции: организация моста между шинами PCI и ISA c синхронизацией этих шин; реализация высокопроизводительного двухканального интерфейса IDE, подключаемого к шине PCI; реализация стандартных системных средств в/в двух контроллеров прерываний, двух контроллеров DMA, трехканального системного счетчика таймера; коммутация линий запросов прерываний шин PCI и ISA, а также встроенной периферии на линии запросов контроллеров прерываний; коммутация каналов прямого доступа к памяти, поддержка режимов энергосбережения; реализация моста PIIX и внутренней шины, используемой для подключения микросхем контроллеров клавиатуры, BIOS, контроллеров FDD и интерфейсных портов; реализация контроллеров USB.
PIIX входит в состав южного моста, она обслуживает два дисковода, также в ней предусмотрена буферизация потоков данных через последовательный порт; cуперрежим параллельного порта LPT, который может работать в трех режимах: стандартный, двунаправленный (EPP, enhanced parallel port), EPC (с расширенными возможностями), ECP (extended capabilities port, самый быстрый порт, использует 8-ми разрядный канал DMA шины ISA).
|
|
|
Если на этом канале (по прерыванию) не установлено какое-либо другое устройство (звуковая карта), то параллельный порт должен работать отлично. Новые модели принтеров и сканеров, подключаемых к ПК через LPT-порт используются режим ECP автоматически.
Недостатки чипсета Intel 430FX
1) Отсутствие контроля четности в памяти и режима исправления ошибок.
2) Поддерживает ОЗУ объемом не более 128 Мб, причем кэшироваться могут только первые 64 Мб. Это означает, что если в вашем ПК установлена ОП более 64 Мб, то эффективность системы снизится.






