| Набор м/c | 440FX | 440LX | 440BX | 440ZX | Intel 810 |
| Кодовое название | Natoma | Нет | - | - | - |
| Дата представления | Май 1996 | Август 97 | Апрель 98 | Ноябрь 98 | Апрель 99 |
| Набор м/с | 82441FX 82442FX | 82413LX | 82443BX | 82443ZX | 82810 – DC-100 |
| Тактовая частота | 66 МГц | 66 МГц | 66/100 | 66/100 | 66/100 |
| Контроль четности и ECC | Оба | Оба | оба | нет | Нет |
| Оптимальный CPU | Pentium II | Pentium II | Celeron, Pentium II/III | Celeron, Pentium II/III | Celeron, Pentium II/III |
| Макс. объем ОЗУ | 1 Гб | 1 Гб | 1 Гб | 256 Мб | 256 Мб |
| Поддержка AGP | нет | 1x | 2x | 2x | DirectAGP |
Intel 440LX
Это первый набор микросхем, который полностью использовал все преимущества МП Pentium II. По сравнению с набором 440FX имел следующие преимущества:
Поддержка:
1) AGP 1x
2) SDRAM (66 Мгц)
3) Ultra DMA 33
4) USB
Intel 440ZX
Это набор является более дешевой версией набора 440BX. Он работает на частоте 66/100 Мгц в зависимости от использования микросхемы северного моста. Наборы м/c 440ZX обладали следующими возможностями:
1) Оптимизирован для матплат формата микроATX
2) Поддерживает МП Celeron и Pentium, работающие на частоте 100 Мгц.
Основные отличия 440ZX от 440BX:
1) Отсутствует поддержка памяти с ECC и контроллем четности
|
|
|
2) Доступны только 2 банка памяти
3) Максимально поддерживаемый объем памяти 256 Мб.
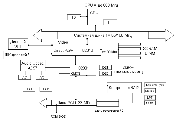
Intel 810
Имел абсолютно новые компоненты, которые отличались от стандартных южных и северных мостов предыдущих наборов м/c. Данный набор микросхем относится к нижней ценовой категории и предназначен для МП Celeron, он имеет интегрированный графический адаптер и новую архитектуру шин AHA, благодаря которой исключились все характерные недостатки наборов м/с с интегрированной графикой.

Набор м/с Intel 810 обладает следующими возможностями:
1) FSB = 66/100 МГц
2) Интегрированное видео Intel 3D с интерфейсом DirectAGP для 2D и 3D графики, внутренней частотой 100 МГц.
3) Содержит Audio Controller AC-97
4) Пониженное энергопотребление
5) Имеет встроенный генератор случайных чисел для обеспечения высокого уровня безопасности программ шифрования для электронной подписи.
6) Контроллер USB
7) Отсутствует шина ISA
Intel 810 – это первый чипсет, в котором реализована AHA-архитектура, которая обеспечивает полосу пропускания 256 Мб/c, что в 2 раза выше шины PCI. Это позволяет увеличить поток информации от контроллера 8712 контроллеру памяти, что наряду с оптимизированным управлением данными позволяет эффективно исполнять несколько функций одновременно, в частности более реалистично воспроизводить аудио- и видеоинформацию.
Центральную роль в архитектуре I810 играет микросхема северного моста. Ей поддерживается системная шина с частотой 66 МГц, а также контроллер памяти. В эту микросхему интегрирована функция DirectAGP, которая позволяет работать с ОП для загрузки в нее видеоданных напрямую через контроллер, поэтому скорость графического ядра I810 (частота 100 МГц) выше, чем у других интегрированных чипсетов, имеющих стандартный интерфейс AGP (800 Мб/c – DirectAGP, 533 Мб/c - AGP).
|
|
|
В данном чипсете используется технология DVMT (Dynamic Video Memory Technology), которая предусматривает выделение части ОП для видеоданных, чем достигается большая гибкость в использовании системной памяти.
Интегрированная микросхема аудио кодека AC97 обеспечивает работу как программ воспроизведения звука, так и программ, реализующих функцию модема, благодаря возможности использования ресурсов МП. Следующая модификация 810 чипсета – Intel 815E, который поддерживает функцию внешнего устройства AGP, а также режим Ultra DMA100.






