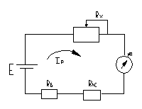
Делитель тока
данная цепь состоит из источника питания Е, Rx – резистивный преобразователь, измерительный прибор ИП, RЛС – сопротивление линии связи, RБ – балансовое сопротивление, для того чтобы не было max токов резистивного преобразователя Rx изменяется ток Iр в цепи
I=E/Rx+RИП+Rлс+RE
При изменении сопротивления резистивного преобразователя Rx изменяется ток Iр в цепи и следовательно показания прибора ИП. Достоинства: простота схемы
Делитель напряжения
E= I(R1+ Rx)
UХ= I Rx= E Rx / Rx+ R1
Потенциометрическая схема включения резистивных преобразователей
напряжение от источника питания E подается на крайние выходы резистивного преобразователя Rx.
Выходное напряжение Uн подается на нагрузку Rн,с одного из крайних выводов, из подвижного контакта. Если Rн>> Rx, то током через Rн можно пренебречь и преобразователь работает в режиме холостого хода. При этом напряжение нагрузки пропорционально перемещению движка при линейной функции преобразования преобразователя.
Нелинейность проявляется из-за последовательного соединения резистора R1, двух параллельно соединенных резисторов R11 и Rн. Нелинейность определяется коэффициент нагрузки α= Rп/ Rн,
|
|
|
где Rп- сопротивление преобразователя.
Данную схему можно использовать для работы при переменном сигнале первичного преобразователя.
Для повышения чувствительности схемы в выходную цепь вкл. емкость.
Достоинства: исключается температурная погрешность из-за разогрева преобразователя и элементов схемы; в режиме холостого хода характеристика схемы линейна при линейной функции преобразовании Rx; возможность установки схемы на нулевое выходное напряжение. Недостатки: нелинейность характеристики при сопротивлении нагрузки Rн сравнимой с сопротивлением Rx; погрешность от нестабильности источника питания.
Мостовая схема вкл. Резистивных преобразователй
Ветви с сопротивлением R1, R2, R3, R4 наз. плечами моста.
Ветви включающие Rн и E наз. диагоналями моста. E- диагональ питания, включающая Rн выходная или измерительная диагональ. При R1 относящемся к R2 как R3 к R4, то к в измерительной диагонали равен 0 и мост находится в состоянии баланса. Чаще всего мост бывает симметричным, существует 2 вида симметрии: 1. относительно измерительной диагонали R1= R2; R3= R4. 2. относительно диагонали питания R1= R3; R2= R4. при линейной характеристики Rx и высоком сопротивлении Rн схема имеет линейную характеристику.






