Пьезоэлектрическими называются кристаллы и текстуры, электризующиеся под действием механических напряжений (прямой пьезоэффект) и деформирующиеся в электрическом поле (обратный пьезоэффект). Пьезоэффект обладает знакочувствительностью, т.е. происходит изменение знаков заряда при замене сжатия растяжением и изменение знака деформации при изменении направления поля. Пьезоэлектрическими свойствами обладают многие кристаллические вещества: кварц, турмалин, ниобат лития, сегнетова соль и др., а также искусственно создаваемые и специально поляризуемые в электрическом поле пьезокерамики: титанат бария, титанат свинца, цирконат свинца и т.д.
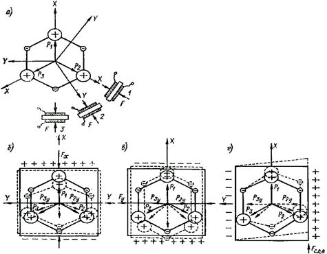
Физическую природу пьезоэффекта рассмотрим на примере наиболее известного пьезоэлектрического кристалла–кварца. На рис. 2-14, а показана форма элементарной ячейки кристаллической структуры кварца. Ячейка в целом электрически нейтральна, однако в ней можно выделить три направления, проходящие через центр и соединяющие два разнополярных иона. Эти полярные направления называются электрическими осями или осями X, и по ним направлены векторы поляризации P 1 ,P 2 и P 3. Если к кристаллу кварца вдоль оси приложена сила FX, равномерно распределенная по грани, перпендикулярной оси X, то в результате деформации элементарной ячейки ее электрическая нейтральность нарушается. При этом, как показано на рис. 2-14, б, в деформированном состоянии ячейки сумма проекций векторов Р 2 и Р 3 на ось Х становится меньше (при сжатии) или больше (при растяжении) вектора P 1. В результате появляется равнодействующая вектора поляризации, ей соответствуют поляризационные заряды на гранях, знаки которых для сжатия показаны на рис. 2-14, б. Нетрудно видеть, что деформация ячейки не влияет на электрическое состояние вдоль оси Y. Здесь сумма проекций векторов равна нулю, ибо Р 2 y= P 3 y.
Образование поляризационных зарядов на гранях, перпендикулярных оси X, при действии силы по оси Х называется продольным пьезоэффектом.
При механических напряжениях, приложенных вдоль одной из осей Y (их называют механическими осями), геометрическая сумма проекций векторов Р 2 и Р 3 на ось Y равна нулю, и на гранях пьезоэлемента, перпендикулярных оси Y, заряды не образуются. Однако сумма проекций векторов Р 2и Р 3на ось Х оказывается не равной вектору P 1. Так, при сжатии пьезоэлемента, как изображено на рис. 2-14, в, указанная сумма превышает P 1, в результате на нижней грани образуются положительные заряды, а на верхней – отрицательные. Рассмотренный эффект образования зарядов на гранях, перпендикулярных нагружаемым граням, называется поперечным. При равномерном нагружении со всех сторон (например, гидростатическое сжатие) кристалл кварца остается электрически нейтральным. При нагружении по оси Z, перпендикулярной осям Х и Y и называемой оптической осью кристалла, кристалл кварца также остается электрически нейтральным. При механическом напряжении сдвига, деформирующем ячейку так, как показано на рис. 2-14, в, геометрическая сумма проекций векторов Р 2и Р 3на ось Х равна вектору P 1, направленному по оси X, и на гранях, перпендикулярных оси X, заряд не возникает. Однако проекции векторов Р 2 и Р 3 на ось Y не равны, и на гранях, перпендикулярных оси Y, возникает заряд[1].

Рис. 2-14
Рассмотрение физической природы пьезоэффекта показывает, что при напряженном состоянии материала заряды принципиально могут возникать между тремя парами граней. Таким образом, поляризационный заряд является вектором и описывается тремя компонентами. Напряженное состояние характеризуется тензором второго ранга с девятью компонентами.
Пьезоэлектрический модуль, определяющий зависимость заряда от напряженного состояния, является тензором третьего ранга и определяется 27 компонентами.
Тензор механических напряжений содержит только 6 независимых компонент, которые обозначаются так: s11=s1, s22=s2, s33=s3, s23=s4, s13=s5 и s12=s6. Это позволяет перейти к упрощенной форме записи пьезомодуля, представив его в виде таблицы, содержащей 18 компонент:
dij= 
Область применения пьезоэлектрических преобразователей весьма обширна.
1. Преобразователи, в которых используется прямой пьезоэффект (рис.2-15, а), применяются в приборах для измерения силы, давления, ускорения.
|

Рис. 2-15
3. Преобразователи, в которых используются одновременно прямой и обратный пьезоэффекты, – пьезорезонаторы, имеющие максимальный коэффициент преобразования одного вида энергии в другой на резонансной частоте и резко уменьшающийся коэффициент преобразования при отступлении от резонансной частоты, применяются в качестве фильтров, пропускающих очень узкую полосу частот (рис. 2-15, в).
Пьезорезонаторы, включенные в цепь положительной обратной связи усилителя, работают в режиме автоколебаний и используются в генераторах. В зависимости от типа кристалла, среза и типа возбуждаемых колебаний пьезорезонаторы могут выполняться с высокостабильной, не зависящей от внешних факторов собственной частотой и с управляемой собственной частотой. Управляемые резонаторы используются в частотно-цифровых приборах как преобразователи различных, преимущественно неэлектрических (температура, давление, ускорение и т.д.), величин в частоту.
В пьезоэлектрических преобразователях используются кварц и различные типы пьезокерамик. Пьезокерамики имеют значительно более высокие по значениям, чем кварц, пьезомодули, но худшие упругие свойства. Модуль упругости пьезокерамических материалов Е =(0,65¸1,3)10-11 Па. Добротность, определяемая только механическими потерями, лежит в диапазоне Q = 100 ¸ 300. Тангенс угла потерь (при напряженности Е < 25 кВ/м) для большинства пьезокерамических материалов составляет tgd=0,02¸0,05. Все материалы обладают пьезоэлектри-ческими свойствами лишь в определенном температурном диапазоне, граница которого определяется точкой Кюри. Для кварца точке Кюри соответствует температура Θ K =530 °С, для пьезокерамик эти температуры значительно ниже.






