Выпрямитель — это устройство, предназначенное для преобразования переменного напряжения в постоянное. Наиболее часто для выпрямления используются диоды (диодные ключи). Для частот 50…60 Гц пригодны низкочастотные диоды, но для более высоких частот необходимы диоды типа HEXFRED, ультрабыстрые, выпускаемые фирмой International Rectifier, время восстановления которых 40-60 нс. Объяснение состоит в том, что низкочастотные диоды имеют большое время восстановления и на высоких частотах теряют выпрямительные свойства.
Кроме того, диодные ключи должны иметь минимальное сопротивление в прямом направлении и наименьший ток утечки в обратном направлении, паразитные индуктивности и емкости должны стремиться к нулю.
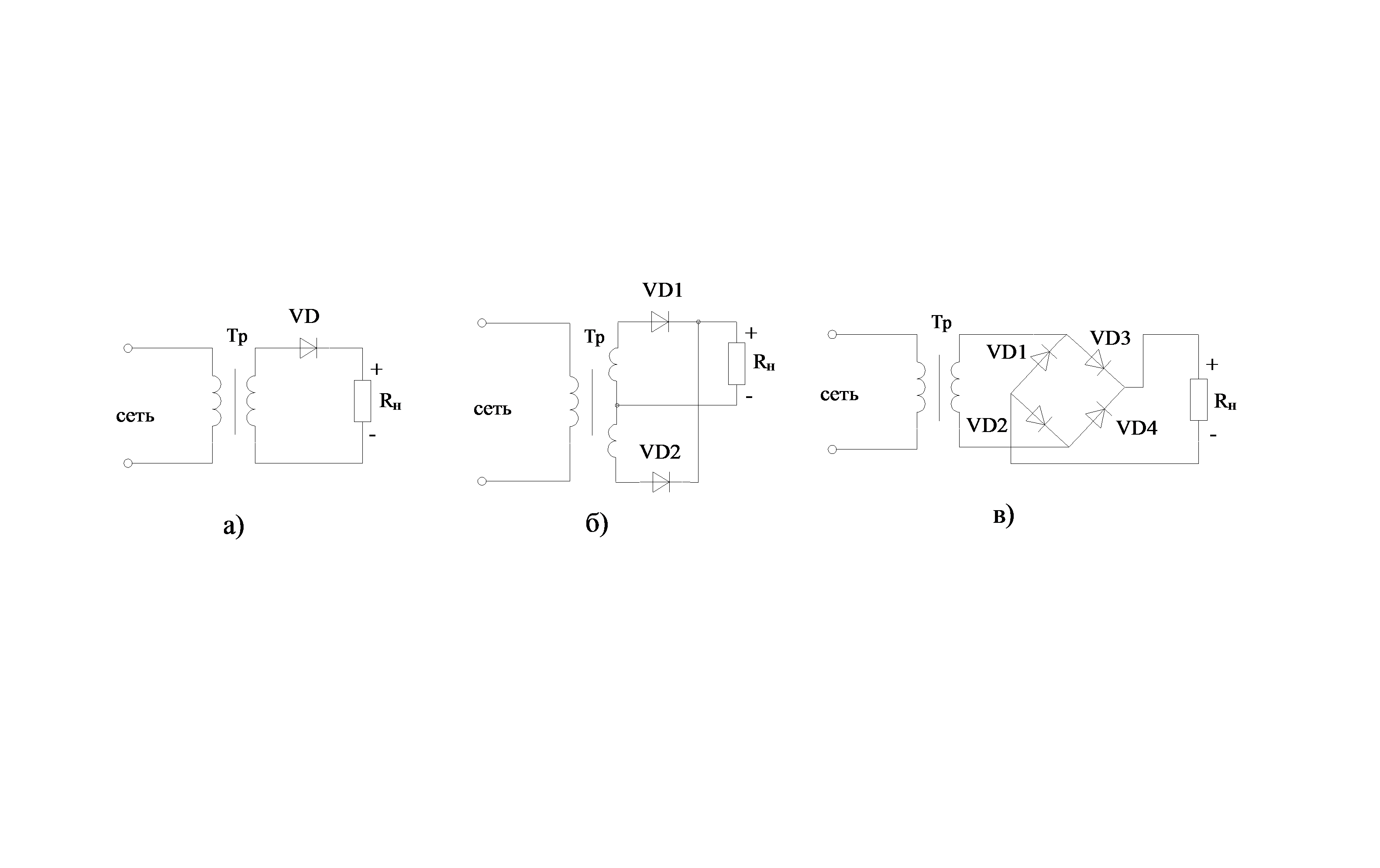
На рисунках 7.1 а), б), в) изображены типовые схемы включения диодов в выпрямительные схемы.
Рисунок 7.1 – Схемы включения диодов в выпрямительные схемы
Все схемы изображены с трансформаторами, однако это устаревшие решения, т.к. трансформаторы снижают КПД. Поэтому в настоящее время предпочтительны такие же схемы выпрямителей, подключаемые к сети, но без трансформаторов. Схема рисунка 7.1,б) не имеет смысла в связи с наличием средней точки вторичной обмотки трансформатора. Недостатком варианта рисунка 7.1, а) является однополупериодное выпрямление, т.е. от сети потребляется только один полупериод, нарушается симметрия сетевого напряжения, ухудшаются энергетические показатели. Недостаток схемы рисунка 7.1, в) в 4-х диодах, но с этим приходится соглашаться, большинство выпрямителей от однофазной сети построены по этой схеме. В случае трехфазной сети применяют варианты, изображенные на рисунке 7.2, причем для включения без трансформатора, снижающего КПД, пригодна только схема рисунка 7.2, б).
|
|
|
Рисунок 7.2 – Трехфазные схемы диодного выпрямления:
а) – однополупериодная трехфазная; б) – двухполупериодная трехфазная
Известны диодные схемы выпрямителей с умножением напряжения, одна из которых изображена на рисунке 7.3
Рисунок 7.3 – Схема выпрямления и умножения напряжения на четыре
Желательно, чтобы отсутствовал трансформатор Тр, снижающий КПД и увеличивающий массогабаритные показатели при сетевом напряжении.
Заряд конденсаторов С1 и С2 происходит за один период напряжения на вторичной обмотке трансформатора. За второй период аналогично заряжаются конденсаторы С3 и С4 до напряжения
. Таким образом, полный заряд конденсаторов происходит за два периода, при этом конденсатор С1 заряжается до напряжения
, а остальные – до
. Обратное напряжение на всех диодах равно
. Достоинство схемы – несложность, однако выходная мощность невелика. Количество треугольных звеньев, а также коэффициент умножения могут быть увеличены.






