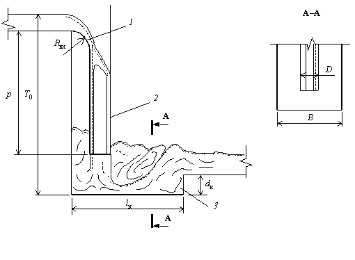
Размеры основных конструктивных элементов трубчатых перепадов, а именно – стояков и водобойных колодцев, определяются при их гидравлическом расчете (см. рис. 3.4). Исходными данными к расчету являются расход стоков, отметки подводящей и отводящей труб, их наполнения и скорости течения.

Рис. 3.4. Схема к расчету трубчатого перепада
1 – входная воронка; 2 – стояк; 3 – водобойный колодец
В зависимости от величины расхода различают три основных типа движения жидкости в стояках перепадов: безнапорный (расчетный) – степень заполнения сечения стояка K < 1; напорный – полное заполнение стояка жидкостью по всей высоте (K = 1); переходный – K ≤ 1, причем K = 1 только в верхней части стояка.
При расчете сначала определяется диаметр стояка D. Для этого задаются отношением Rвх/D (здесь Rвх – радиус входной воронки) и рассчитывают параметр A по формуле:
(3.18)
Затем рассчитывают непосредственно диаметр стояка:
D = (AQ)0,4, (3.19)
где Q – расчетный расход в подводящем трубопроводе, м3/с.
После этого рассчитывается средняя скорость на выходе из стояка vср:
|
|
|
(3.20)
где T 0 – высота перепада с учетом глубины потока и скоростного напора, м; φ – коэффициент скорости, который зависит от сопротивления:
(3.21)
где Σζ – суммарный коэффициент сопротивления (местного и по высоте стояка). При плавном закруглении на входе Σζ примерно равен:
Σζ = λ p /4 R, (3.22)
где λ – коэффициент сопротивления трению по длине стояка, который можно определить, например, исходя из формулы Павловского:
(3.23)
где n – коэффициент шероховатости (0,013 – 0,014);
- показатель степени; p – высота трубчатого перепада, м; R – средний по высоте гидравлический радиус, м:
(3.24)
Так как λ в конечном счете тоже зависит от средней скорости vср, то коэффициент скорости φ рассчитывают методом последовательного приближения.
Для чугунных стояков диаметр принимается 200…1000 мм, для железобетонных – 1500…2000 мм.
Дальнейший расчет заключается в определении геометрических размеров водобойного колодца в основании перепада, который предназначен для гашения энергии падающей воды.
Водобойные колодцы трубчатых перепадов бывают прямоугольными и цилиндрическими.
При расчете прямоугольного водобойного колодца необходимо определить длину lк и глубину колодца dк (см. рис. 3.5). Ширина B принимается по конструктивным соображениям в зависимости от размеров стояка. Обычно B ≥ 1,5 D.
| |||
|
Рис. 3.5. Схема к расчету прямоугольного водобойного колодца
1. Определение глубины колодца dк.
Если рассмотреть уравнение Бернулли для сечений I–I и II – II, и принять сечение I–I на небольшом расстоянии от дна (т.е. глубина h 1 примерно равна глубине в сжатом сечении hc), то скорость в сжатом сечении можно определить по формуле:
|
|
|
(3.25)
где v 1 – скорость в сечении I–I, которую можно принять равной скорости на выходе из стояка, м/с; ζ вк – коэффициент сопротивления колодца, принимается по специальным таблицам в зависимости от соотношения B/D.
Первая сопряженная глубина гидравлического прыжка
в данном случае (при надвинутом прыжке) равна глубине воды в сжатом сечении:
= hc= Q / Bvc (3.26)
Вторая сопряженная глубина
рассчитывается по формуле (3.10). В данном случае hкр – критическая глубина, для прямоугольного колодца определяется:
, (3.27)
здесь α = 1,0…1,1.
Тогда глубина колодца в этих условиях находится по зависимости:
dк = σ
– t, (3.28)
где t – бытовая глубина в отводящем коллекторе, м; σ – коэффициент затопления гидравлического прыжка, равный 1,05…1,3.
На практике при расчете перепада вначале определяют среднюю скорость vср при принятой глубине колодца dк = 0. Затем рассчитывают новое значение dк и корректируют высоту перепада T 0. Расчет повторяется примерно 2–3 раза.
2. Определение длины колодца lк.
Общая длина колодца складывается из величин (см. рис. 3.25):
lк = l 1 + lсж + lпп, (3.29)
где l 1 – расстояние от оси стояка до стенки, равное не менее 1 D, м; lсж – расстояние от оси стояка до сжатого сечения, м, lсж = 0,5 D, lпп – длина подпертого гидравлического прыжка, м, может определяться по формуле:
lпп = 4,5β
, (3.30)
где β = 0,5.