Для выявления внутреннего устройства предмета на чертежах выполняют разрезы и сечения.
Разрезом называется изображение предмета, мысленно рассеченного одной или несколькими плоскостями. При этом мысленное рассечение относится только к данному разрезу и не влечет за собой изменения других изображений того же предмета. На разрезе показывается то, что получается в секущей плоскости и что расположено за ней (рис. 8). Допускается показывать не все, что расположено за секущей плоскостью, если этого не требуется для понимания конструкции предмета.
В зависимости от числа секущих плоскостей разрезы разделяются на простые – при одной секущей плоскости (рис. 8) и сложные – при нескольких секущих плоскостях (рис. 10, 11).
В зависимости от положения секущих плоскостей простые разрезы подразделяются на горизонтальные, если плоскость разреза параллельна горизонтальной плоскости проекций, вертикальные (рис. 8), наклонные, если секущая плоскость не параллельна ни одной из основных плоскостей проекций. Вертикальный разрез называется фронтальным, если секущая плоскость параллельна фронтальной плоскости проекций и профильный, если секущая плоскость параллельна фронтальной плоскости проекций.
|
|
|
К сложным разрезам относятся ступенчатые, когда плоскости разреза параллельны между собой (рис. 10), и ломаные, если секущие плоскости пересекаются под углом свыше 90°(рис. 11).

Рисунок 10 - Ступенчатый разрез
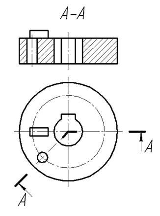
Положение секущей плоскости разреза указывают на чертеже при помощи разомкнутой линии сечения согласно ГОСТ 2.303-68. Начальный и конечный штрих линии сечения вычерчиваются вне контура изображения. В случае ступенчатого разреза штрихи вычерчивают также в местах перехода секущих плоскостей на другой уровень, на ломаных разрезах - на месте пересечения секущих плоскостей. На начальном и конечном штрихе, перпендикулярно к ним, на расстоянии 2…3мм от наружного конца штриха проставляют стрелки, указывающие направление взгляда. Снаружи от стрелок наносят одинаковые прописные буквы русского алфавита. При этом над соответствующим изображением разреза выполняется надпись по типу «А-А».
Когда секущая плоскость совпадает с плоскостью симметрии предмета в целом, а соответствующие изображения расположены на одном и том же листе в непосредственной проекционной связи и не разделены какими-либо другими изображениями, для горизонтальных, фронтальных и профильных разрезов не отмечают положение секущей плоскости, и разрез надписью не сопровождают (рис. 8)
Горизонтальные, фронтальные и профильные разрезы, как правило, располагают на месте соответствующих основных видов.
|
|
|
Вертикальный разрез, когда секущая плоскость не параллельна фронтальной или профильной плоскостям проекций, а также наклонный разрез, должны строиться и располагаться в соответствии с направлением, указанным стрелками на линии сечения. Допускается располагать такие разрезы на любом месте чертежа, а также с поворотом до положения, соответствующего принятому для данного предмета на главном изображении. В последнем случае к надписи должно быть добавлено условное графическое обозначение ã - знак «повернуто».
На изображении ломаного разреза секущие плоскости условно повертывают до совмещения в одну плоскость, при этом направление поворота может не совпадать с направлением взгляда. Если совмещенные плоскости окажутся параллельными одной из основных плоскостей проекций, то ломаный разрез допускается совмещать на месте соответствующего вида (рис. 11). При повороте секущей плоскости элементы предмета, расположенные за ней, вычерчивают так, как они проецируются на соответствующую плоскость, с которой производится совмещение.

Рисунок 11 - Ломаный разрез
Разрез, служащий для выяснения устройства предмета в отдельном, ограниченном месте, называется местным. Местный разрез выделяется в виде сплошной волнистой линии (рис. 8, 12) или тонкой с изломами, согласно ГОСТ 2.303-68. Эти линии не должны совпадать с какими-либо другими линиями изображения.
Для симметричных изображений можно соединить половину вида и половину разреза, причем, если ось симметрии вертикальна, то слева, как правило, располагают вид, справа – разрез (рис. 12). Если ось симметрии горизонтальна, то сверху – вид, снизу – разрез. Разделяющей их линией служит ось симметрии – тонкая штрихпунктирная линия.

Рисунок 12 - Соединение части вида и части разреза
При отсутствии симметрии или при совпадении оси симметрии детали с какой-либо линией контура, например с ребром, часть линии и часть разреза следует разделять волнистой линией или линией с изломами, проведенной с той или иной стороны от оси симметрии (рис. 13). При этом линия с изломом должна выходить за контур изображения.

Рисунок 13 - Совмещение части вида и части разреза






