Правильно выполненный чертеж обладает наглядностью и несет большой объем информации, понятный специалисту. Поэтому все чертежи выполняются в соответствии установленным и применяемым правилам во всех областях деятельности. Они основаны на объединенных достижениях науки, техники и практического опыта. Результатом этой работы является стандарт.
В инженерной графике стандарты представлены в виде документов, содержащих ряд требований и норм, установленных для всеобщего и многократного использования.
В нашей стране действуют государственные стандарты (ГОСТ), установленные на всю продукцию, а также на нормы, правила, требования, понятия, обозначения и т.п.
Для выполнения данной расчетно-графической работы необходимо, помимо знания стандартов по оформлению чертежей, изучить и уметь применить стандарты на правила изображения предметов и нанесения размеров на чертежах, правила изображения штриховки и изображения аксонометрической проекции.
Правила изображения предметов на чертежах установлены ГОСТ 2.305-68 «Изображения – виды, разрезы, сечения».
|
|
|
Изображения предметов выполняются по методу прямоугольного (ортогонального) проецирования. При этом предмет располагается между наблюдателем и соответствующей плоскостью проекций. За основные плоскости проекций принимают шесть граней куба, совмещенные с плоскостью в соответствии с рисунком 6.

Рисунок 6 - Расположение основных видов на чертеже
Количество изображений должно быть наименьшим, но обеспечивающим полное представление о предмете при применении установленных в соответствующих стандартах условных обозначений, знаков и надписей.
Для уменьшения количества изображений допускается на видах показывать необходимые невидимые части поверхности предмета с помощью штриховых линий в соответствии с рисунком 7.

Рисунок 7 - Изображение предмета с указанием невидимых частей
Виды
Видом – называется изображение обращенной к наблюдателю видимой части поверхности предмета.
Устанавливаются следующие основные виды, получаемые на основных плоскостях проекций:
1. Изображение на фронтальной плоскости проекций - вид спереди (главный вид);
2. Изображение на горизонтальной плоскости проекций – вид сверху;
3. Изображение на профильной плоскости проекций – вид слева;
4. Вид справа;
5. Вид снизу;
6. Вид сзади.
Изображение предмета на фронтальной плоскости проекций называется главным видом. Это изображение должно давать наиболее полное представление о форме и размерах предмета.
Названия видов на чертежах не надписывают, если они выполнены в проекционной связи
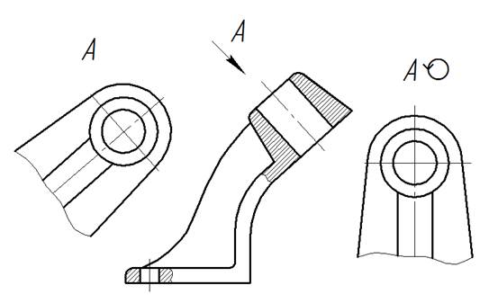
Если проекционная связь нарушена или вид расположен не на соответствующем месте, то направление проецирования должно быть указано стрелкой у соответствующего вида. Над полученным изображением и стрелкой следует нанести одну и ту же прописную букву русского алфавита в соответствии с рисунком 8.
|
|
|

Рисунок 8 – Виды и простые разрезы, и их обозначения на чертеже
Если какая-либо часть предмета не может быть показана на основных плоскостях проекций без искажения формы, применяют дополнительные виды, которые получают на плоскостях, непараллельных основным плоскостям проекций (рис. 9). Дополнительные виды обозначаются аналогично видам на основных плоскостях проекций (рис. 9). Дополнительный вид, расположенный в непосредственной проекционной связи с соответствующим изображением, не обозначается, и направление проецирования не указывается. Допускается поворот дополнительного вида до положения, принятого для предмета на главном изображении. При этом обозначение вида должно быть дополнено условным графическим обозначением ã - знаком «повернуто» (рис. 9). При необходимости указывают значение угла поворота.

Рисунок 9 – Обозначение дополнительного вида
Местным видом называется изображение отдельного, ограниченного места поверхности предмета.
Местный вид может быть ограничен линией обрыва или нет, если необходимо прочитать форму выступающей части предмета (рис. 8, 9). Местный вид должен быть обозначен на чертеже подобно дополнительному виду.