Правила выполнения чертежей металлоконструкций, изготавливаемых на машиностроительных предприятиях всех отраслей промышленности, устанавливает ГОСТ 2.410-68*.
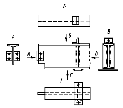
Виды на чертежах металлических конструкций принято располагать следующим образом: вид сверху в проекционной связи – над главным видом, вид снизу – под главным видом, вид справа – справа от главного вида, вид слева – слева от главного вида. Над каждым видом (кроме главного) делают надпись по типу «А», а направление взгляда указывают стрелкой, обозначенной соответствующей буквой. Такое расположение отдельных изображений (видов) получается при проецировании по методу третьего угла (метод А) (рис. 61).
Если нужно показать какую-то часть конструкции, то на главном или каком-либо другом виде направление взгляда можно показать, как разрез или сечение, а само изображение сопровождать надписью: 1-1 или 2-2 и т.п., причем изображение может располагаться в любом месте листа.

Рисунок 61 – Расположение видов на чертежах металлических конструкций
При детальном изображении конструкции вычерчивают все видимые ее части и соединения, расположенные в непосредственной близости от наблюдателя, а невидимые – только те, которые расположены вплотную к видимым. Невидимые элементы, отделенные от видимых воздушной прослойкой, на чертеже не показывают.
Металлические конструкции без прокатных профилей могут изображаться на чертежах без скруглений. Условное изображение профилей и их размеры указывают, как изображено в табл. 13. Если элемент конструкции состоит из одного профиля или на чертеже изображено действительное число входящих в сечение профилей и их действительное расположение, то число профилей не указывают. После размера сечения профиля допускается указывать длину детали, которая отделяется от величины сечения знаком «тире», например: û75Û8 – 3500. Сведения о размерах профиля следует наносить параллельно его изображению, на полке линии-выноски или без нее (рис. 62).

Рисунок 62 – Пример нанесения условных обозначений и размеров профилей на чертеже узла фермы.
Скосы на чертежах элементов конструкций указывают линейными размерами или с помощью прямоугольного треугольника, гипотенуза которого совпадает с краем изображения. Катеты представляют собой значения их длин (рис. 63).

Рисунок 63 – Нанесение размеров скосов (а) и обозначение уклона треугольником в элементах связей (б).
Диаметры отверстий, заклепок и болтов указывают на полке линии-выноски. Если отверстия, заклепки или болты расположены на одной оси, то размер их указывается от оси. В случае, когда размеры расположены группой, их обводят тонкой волнистой линией и выносную надпись указывают от этой линии. Когда же одинаковые отверстия располагаются на осях, то размеры их и число указывают в соответствии с рисунком 64.

а) б) в)
Рисунок 64 – Варианты обозначения отверстий:
а) по одной оси; б) расположенных группой; в) то же, упрощенное.
Расположение элементов металлических конструкций в здании или сооружении дают на специальных маркировочных схемах.
Геометрической схемой фермы называется ее изображение, где элементы решетки вычерчены условно в одну линию. Геометрическая схема определяет форму и основные размеры фермы – пролет, высоту и расстояния по центрам между отдельными ее узлами (рис. 65). Эти расстояния, указываемые в миллиметрах, проставляются непосредственно над элементами решетки без выносных и размерных линий. В проектной практике на геометрической схеме отмечаются также усилия в том или ином стержне, которые проставляются под изображением стержня. В случае наличии в левой части указываются только размеры между узлами, а в правой – только усилия. Для симметричной конструкции рекомендуется вычерчивать схему половины конструкции.

Рисунок 65 – Пример изображения геометрической схемы фермы
Геометрическая схема вычерчивается сплошными основными линиями в левой верхней части листа в масштабе 1:100 или 1:200, в зависимости от размеров фермы.