


Рисунок Г.1 – Схемы спиртового брожения по Нейбергу
1 – первая форма; 2 – вторая форма (с бисульфитом); 3 – третья форма (в щелочной среде).

1 2
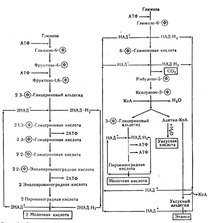
Рисунок Г.2 – Схема молочнокислого брожения
1 – гомоферментативное брожение; 2 – гетероферментативное брожение.

Рисунок Г.3 – Схема маслянокислого брожения

Рисунок Г.4 – Схема ацетонобутанолового брожения

Рисунок Г.5 – Схема разложения жиров

Рисунок Г.6 – Схема круговорота углерода

Рисунок Г.7 – Схема круговорота азота
Приложение Д






