1) Переменного тока (св. тр-тор) TDM – 401
2) Постоянного тока (св. выпрямитель однопост.) BD – 301
3) (св. выпрямитель многопост.) BDM – 1200
4) (св. преобразователь) ПD – 500
5) (св. агрегат) ACБ – 300, ACD – 300
1) Сварочный трансформатор - источник переменного св. тока.
- преобразует ток малой силы и высокого напряжения в ток большой силы и малого напряжения, является понижающим, имеет падающую вольт – амперную характеристику.
y ZXYueG1sUEsFBgAAAAAEAAQA8wAAAPoFAAAAAA== " filled="f" strokecolor="white">
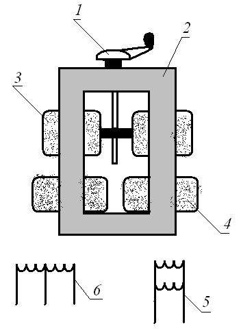
| - состоит (см. рис.) первичной обмотки (4) состоящей из 2-х катушек расположенной в нижней части сердечника(2) и закреплённой неподвижно. Является наиболее опасной т.к. по ней проходит ток с высоким U = 220 – 380 В Вторичной обмотки (3) сост. Из 2-х катушек расположенной в верхней части сердечника и являющейся подвижной. |
Сердечника (2) – состоящего из пластин спец. электротехнической стали покрытых лаком и сжатых болтовыми соединениями, служит для снижения вихревых магнитных потоков.
Винт плавной регулировки (1) – служит для перемещения вторичной обмотки вдоль сердечника.
|
|
|
Причём при увеличении расстояния между обмотками ток уменьшается и наоборот.
Параллельное включение (5) – катушек первичной обмотки служит для получения диапазонов больших токов 200 – 400А.
Последовательное включение (6) – для получения диапазонов малых токов 80 – 200А. Переключение диапазонов производится ножевым переключателем.
Установка св. тока производится согласно шкалы, находящейся на кожухе св. трансформатора.
TDM – 401 – тр-ор дуговой с номинальной силой св. тока 400А.
2) Св. выпрямитель - источник постоянного тока.
- состоит из:
а) трёхфазного понижающего трансформатора.
| 1. Винт плавной регулировки 2. Сердечник 3. Вторичная обмотка – находится в нижней части сердечника, является не подвижной. 4. Первичная – в верхней части сердечника – подвижна. 5. Включение катушек первичной и вторичной обмоток треугольником для получения диапазоном больших токов. 6) Включение звездой, для получения диагноза малых тонов. |
б) выпрямительного блока
| состоит из 6-ти мощных диодов (вентилей) которые служат для преобразования переменного тока в постоянный (для изготовления диодов используют Селен и Кремний которые имеют св-во пропускать ток только в одном направлении). |

В устройство выпрямителя также входит вентилятор для охлаждения выпрямительного блока.
Сварку на постоянном токе можно производить на прямой и обратной полярности:
Прямая электрод – деталь +
Обратная электрод + деталь –
BD 301 – выпрямитель дуговой, с макс. силой сварочного тока 300А.
3) Многопостовой св. выпрямитель BDM 1202C
- отличается от однопостового тем, что не имеет никакой регулировки.
|
|
|
- рассчитан на 2 или несколько св. постов оборудованных балластными реостатами, включенными в цепь сварочной дуги последовательно.
Схема включения балластных реостатов в цепь сварочной дуги.
| (РБ) состоит из 5 ступеней сопротивлений включающихся в цепь дуги при помощи ножевых рубильников РБ – 200 – регулировка тока возможна от 10 до 200А через каждые 10А РБ – 300 – регулировка тока от 15 до 300А через 15А РБ – 500 – регулировка тока от 25 до 500А через 25А |

BDM 1202C – выпрямитель дуговой многопостовой, с макс. силой сварочного тока 1200А
4) Св. преобразователь ПСО – 500
- преобразует переменный ток в постоянный
- состоит из двух машин находящихся в одном корпусе на одном валу
| 1) Трёхфазный, асинхронный электродвигатель - служит для преобразования энергии переменного тока в механическую |
2) Св. генератор служит для преобразования механической энергии в энергию постоянного св. тока – состоит из якоря с магнитными полюсами, статора с обмоткой, выпрямительного блока.
При работе генератора якорь с магнитными полюсами вращается внутри статора и возбуждает в его обмотке св. ток который при помощи выпрямительного блока преобразуется в постоянный.
Регулировка св. тока производится при помощи реостата включенного в обмотку статора.
ПD – 500 – преобразователь дуговой с макс выдаваемой силой тока 500А
5) Св. агрегат
- отличается от преобразователя лишь тем, что для вращения св. генератора используется дизельный или бензиновый двигатель внутреннего сгорания.
- используется в полевых условиях т.к. не требует внешнего источника эл. тока.






