Линза – это один из основных элементов оптических систем, предназначенных для получения оптических изображений. Она представляет собой оптически прозрачное тело, ограниченное с двух сторон сферическими поверхностями. Если расстояние О1О2 (рис. 1) между этими поверхностями значительно меньше радиусов кривизны, то линза называется тонкой. Ее вершины О1 и О2 в этом случае можно считать совпадающими в точке О, называемой оптическим центром линзы. Причем ось, проходящая через оптический центр линзы и центры кривизны ее преломляющих поверхностей, называется главной оптической осью линзы (прямая РР¢, рис. 1).
![]() |
Рис 1
Если направить луч света параллельно главной оптической оси, то преломившись, он пройдет через точки F1 или F2 (в зависимости от того, лежащие на главной оптической оси линзы. Эти точки называют главными фокусами линзы, а сама линза, преломляющая лучи таким образом, называется собирающей (рис. 1, а). Если же после преломления светового луча линзой через точки F1 или F2 (главные фокусы) можно провести лишь прямую, представляющую продолжение преломленного луча в направлении, обратном направлению его распространения, то такая линза называется рассеивающей (рис. 1, б).
|
|
|
Расстояние между оптическим центром линзы и ее главными фокусами (расстояния f1 или f2) называют главными фокусными расстояниями линзы. Они равны между собой, т.е. f1 = f2 = f, если слева и справа от линзы находится одна и та же среда (воздух).
Экспериментальная установка и методы измерения
фокусных расстояний
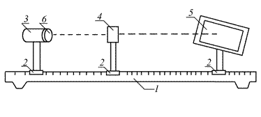
Главное фокусное расстояние тонких линз можно измерить различными способами. Для этой цели используется установка, представленная на рис. 2. Установка состоит из оптической скамьи 1, на которой с помощью рейтеров 2 располагаются осветитель 3, исследуемая линза или система линз 4 и экран 5. Оптическая скамья снабжена шкалой для измерения положения осветителя, линз и экрана. В качестве предмета, изображение которого проектируется линзой на экран, используется сетка 6, расположенная в передней части осветителя.
Располагая на оптической скамье собирающую линзу, получим на экране действительное изображение предмета. При этом ход лучей в линзе имеет вид, представленный на рис. 3.
Рис. 2







