Проектирование профилактики сложной системы начинается с разработки профилактических работ для простых устройств, входящих в нее. Сроки профилактики и ее содержание корректируются затем с учетом сложной системы. Первый этап корректировки осуществляется на основании анализа временной диаграммы обслуживания. Второй этап – на основании аналитических расчетов надежности и эффективности системы или на основании моделирования надежности с учетом выбранного варианта профилактики и возможных его изменений.

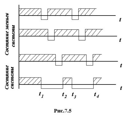
На рис.7.5. представлен один из возможных вариантов обслуживания звеньев системы. Из рисунка видно такое распределение времени календарной профилактики совершенно нецелесообразно, т.к. система работоспособна только до времени t1, затем все звенья системы последовательно выводятся на профилактику и система становится неработоспособной.
Универсальных рекомендаций по оптимизации планирования профилактики не существует. В некоторых случаях целесообразно всю систему ставить на профилактику в одно и то же время и обеспечивать работу ее в полном составе в период между профилактическими обслуживаниями.
|
|
|
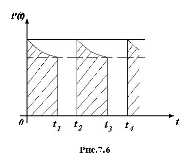
На рис.7.6. проведен один из возможных графических зависимостей вероятности безотказного состояния системы от ее профилактики.

К моменту окончания профилактики (t2; t4) вероятность безотказного состояния приближается к единице, а затем снижается. Отсюда: с одной стороны снижается обобщенный показатель надежности (коэффициент технического использования изделия Кти), а с другой стороны повышается показатель надежности (восстанавливается работоспособность изделия, а возникновение некоторых отказов предупреждается).
Влияние профилактики на функциональную надежность изделия может быть определено формулой:
R(t) =kТИ (t)•P(∆t),
где R(t) – вероятность выполнения изделием заданной функции на интервале t;
kТИ (t) – коэффициент технического использования изделия с учетом
проведения профилактики (на интервале времени t);
P(∆t) – вероятность выполнения изделием заданной функции на интервале ∆t
использования изделия по назначению:
t=t np+ ∆t;
,
где t np – продолжительность профилактики.
Чем меньше ∆t и больше t np, тем меньше kТИ и больше P(∆t).
Определение кти не представляет затруднений т.к. времена t1, t2, t3 задаются при планировании профилактики, отсюда
∆t=t3 – t2; t np =t1-t2.
Определение количественных значений
требует специальных исследований. В первом приближении можно определить
по формуле:
,
где λ 0 – интенсивность отказов, обеспечиваемая данным объемом профилактики.
Трудность определения
заключается в том, что λ 0 под действием профилактики может изменяться (как правило, должна снижаться). Характер этого изменения не всегда заранее известен.
|
|
|
Как видно из выше приведенного примера профилактика имеет свои положительные и отрицательные стороны. Излишнее вмешательство человека в работу аппаратуры (что неизбежно при профилактике) может привести не к снижению, а к возрастанию интенсивности отказов.
Планирование и расчет числа запасных изделий
Исходные положения.
Для обеспечения нормального функционирования изделий необходимо на весь период эксплуатации снабжать их ЗИП (запас сменных изделий, материалов, инструментов и принадлежностей).
Количество запасных частей зависит от интенсивности отказов λ, от времени пополнения ЗИП t П, требуемой его достаточности, организации снабжения и степени восстановления.
Чем больше λ и t П, тем больше количество запасных частей потребуется при эксплуатации. Вероятность числа отказов n – Рn(t) по закону Пуассона равна:
(4.1)
Используя (4.1.), можно вычислить вероятность того, что число отказов за время t будет не больше т:
(4.2)
Вероятность того, что число отказов за время t больше т:
(4.3)
Степень недостаточности ЗИП измеряется вероятностью того, что число отказавших элементов будет больше числа запасных элементов, находящихся в ЗИП для их замены. Если в ЗИП – два элемента, а вероятность того, что за время tП произойдет больше двух отказов, равна 0,1, то это означает, что достаточность ЗИП равна 0,9, а недостаточность 0,1. Обычно задается коэффициент достаточности равным 0,9 – 0,99.






