Отопительные установки типа О15 и О30 Инструкция по эксплуатации Оглавление
РАБОТАОтопительные установки типа 015 и 030 аналогичны по конструкции и отличаются только габаритами и теплопроизводительностью.
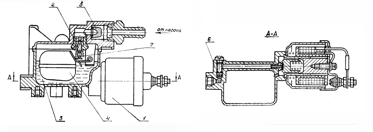
Пуск установки производится следующим образом (рис. 8...11): включить переключатель на щитке управления в положение «1» на 15...30 с для разогрева свечи. В этом положении включается и начинает работать электродвигатель 7 (рис.1,2), который приводит в действие осевой вентилятор 8 подачи подогреваемого воздуха и центробежный нагнетатель 15 подачи воздуха в камеру горения 4, одновременно происходит разогрев свечи накаливания 13 (см. рис. 1) и 14 (см. рис. 2) и контрольной спирали. Запрещается закорачивать контрольную спираль, пользоваться неисправной спиралью или применять контрольный элемент другой марки. Включить переключатель в положение «2». В этом положении продолжает работать электродвигатель и нагреваться свеча накаливания. Одновременно начинает работать электромагнитный бензонасос, открывается электромагнитный клапан 6 регулятора подачи бензина 12 (см. рис 2) и 10 (см. рис. 1) и бензин поступает в камеру горения 4, в которой, смешиваясь с воздухом, зажигается свечой накаливания. Дальнейшее непрерывное горение поддерживается автоматически. После начала горения под действием температуры проходящих газов, срабатывает температурный переключатель (рис. 3) и выключает свечу, на щитке управления загорается контрольная лампочка.
Топливо, сгорая, нагревает теплообменник. Холодный воздух, подаваемый вентилятором, проходя по кольцевым каналам теплообменника, нагревается и поступает в отапливаемое помещение.
Рис. 1. Отопительная установка типа 015. 1 - теплообменник; 2 - кожух; 3 - камера догорания; 4 - камера сгорания; 5 - подводящий бензопровод; 6 - электромагнитный клапан; 7 - электродвигатель; 8 - вентилятор; 9 - сливной бензопровод; 10 - регулятор подачи бензина; 11 - питательный бензопровод; 12 - температурный переключатель; 13 - свеча накаливания; 14 - всасывающий патрубок; 15 - нагнетатель воздуха; 16 - выхлопной патрубок; 17 - дренажная трубка.
Рис. 2. Отопительная установка типа 030. 1 - теплообменник; 2 - кожух; 3 - камера догорания; 4 - камера сгорания; 5 - подводящий бензопровод; 6 - электромагнитный клапан; 7 - электродвигатель; 8 - вентилятор; 9 - температурный переключатель; 10 - сливной бензопровод; 11 - датчик перегрева; 12 - регулятор подачи бензина; 13 - питательный бензопровод; 14 - свеча накаливания; 15 - нагнетатель воздуха; 16 - выхлопной патрубок; 17 - всасывающий патрубок; 18 - шайба дросселирующая; 19 - дренажная трубка. При понижении температуры подогреваемого воздуха срабатывает температурный переключатель, выключается электродвигатель, гаснет контрольная лампочка. Температура срабатывания переключателя должна превышать температуру окружающего воздуха не менее чем на 15°С. ВНИМАНИЕ: ОТОПИТЕЛЬ МОЖНО СНОВА ВКЛЮЧИТЬ ТОЛЬКО ПОСЛЕ ТОГО, КАК ПОГАСНЕТ КОНТРОЛЬНАЯ ЛАМПОЧКА! Если включить отопитель, когда контрольная лампочка при продувке не погасла, то топливо, попадая в камеру горения, не загорится, так как свеча не включена. В этом случае топливо скапливается и при последующем запуске возможны хлопки, дымление отопителя и появление открытого пламени из выхлопной трубы и дренажной трубки. В отличие от 015 отопительная установка 030 предохранена от перегрева датчиком 11 (см. рис. 2) и реле отключения при перегреве. При повышении температуры в области контактов до значений, более допустимых, датчик перегрева (рис. 4) включает реле, которое через 1,5 мин срабатывает и выключает бензонасос и электромагнитный клапан. В случае отказа в запуске отопителя в течение 3 мин провести осмотр и проверить цепь свечи, ее накал, подачу топлива, продуть систему. Продолжительность непрерывной работы установки не более 24 ч. ПОДВОД ТОПЛИВА И ВОЗДУХАПодвод топлива Подвод топлива из бака в регулятор отопителя осуществляется электромагнитным диафрагменным насосом. Топливо через насос, бензоотстойник и бензопровод поступает в поплавковую камеру регулятора, откуда при открытом электромагнитном клапане через жиклер регулятора, питательную трубку и топливный штуцер стекает на экран свечи. Насос необходимо устанавливать всегда выше расходного бензобака и ниже регулятора отопителя, в горизонтальном положении, выходным штуцером вверх (см. приложение).
Подвод и отвод воздуха Воздух для нагрева может подаваться вентилятором непосредственно из помещения, в котором устанавливается отопитель. В этом случае в помещении должно быть обеспечено попадание свежего воздуха. Однако во избежание попадания загрязненного газами воздуха в отапливаемое помещение подвод воздуха может производиться с помощью воздухопроводов в зависимости от условий монтажа. Забор свежего воздуха рекомендуется осуществлять в передней части кузова на уровне, исключающем возможность попадания пыли или грязи. В случае опасности всасывания выхлопных газов целесообразно располагать трубу для забора свежего воздуха на свободной от выхлопных труб двигателя и отопителя стороне автомобиля. В негерметичных кузовах выхлопные газы рекомендуется отводить не вниз, под кузов, а в боковую стенку кузова с помощью специальных труб. При увеличении длины выхлопной трубы рекомендуется применять инжекцию или принудительный отсос выхлопных газов с помощью вентилятора. Во избежание перегрева установки отводящие и подводящие водухопроводы должны быть сечением: для 015 не менее 4000 мм2 и для 030 не менее 8000мм2 (подробнее см. подраздел 4.1). Отработанные газы через выхлопную трубу отводятся в атмосферу. |
ВНИМАНИЕ: ДЛЯ УСЛОВИЯ НОРМАЛЬНОГО ГОРЕНИЯ СМЕСИ И РАБОТЫ ОТОПИТЕЛЯ, ВЫХЛОПНЫЕ ТРУБЫ НЕ ДОЛЖНЫ ИМЕТЬ КРУТЫХ ИЗГИБОВ, ДРОССЕЛИРУЮЩИХ ШАЙБ, ЗАСЛОНОК. А ГАЗЫ НЕОБХОДИМО ОТВОДИТЬ В ОБЛАСТЬ С ДАВЛЕНИЕМ, НЕ ПРЕВЫШАЮЩИМ АТМОСФЕРНОЕ.
Места забора воздуха на горение и отвода выхлопных газов должны обеспечивать работоспособность отопителя на объекте, как при движении" с любыми скоростями, так и на стоянке. Выбор данных мест производится потребителем отопительных установок в процессе заводских испытаний опытных образцов объектов.
|
|
|
Подогретый воздух подается под большим давлением по сравнению с давлением внутри камеры сгорания, что гарантирует от попадания в него продуктов сгорания.

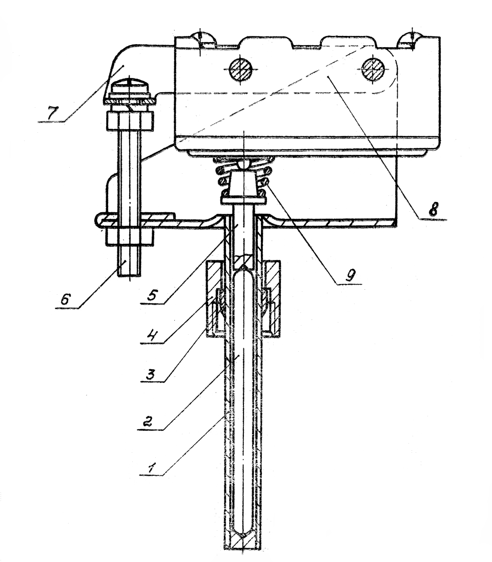
Рис. 3. Температурный переключатель.
1 - трубка; 2 - стержень; 3 - ниппель; 4 - гайка накидная; 5 - шток; 6 - регулировочный винт; 7 - скоба держателя; 8 - микровыключатель; 9 - пружина.

Рис 4. Датчик перегрева отопительной установки 030.
1 - кожух; 2 - регулировочный винт; 3 - контактный винт; 4 - контакты; 5 - винт.

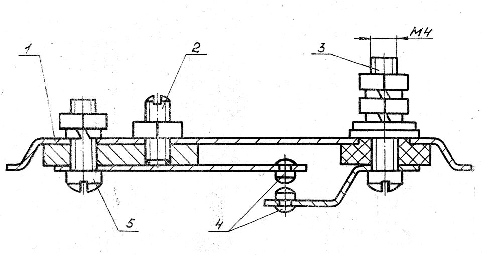
Рис. 5. Регулятор подачи бензина.
1 - электромагнитный клапан; 2 - запорная игла; 3 - поплавковая камера; 4 - поплавок; 5 - топливный фильтр; 6 - жиклер; 7 - демпферная пружина.

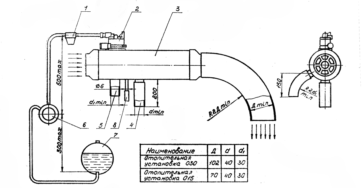
Рис. 6. Отопительные установки типа 030 и 015. Схема монтажа.
1 - бензоотстойник; 2 - регулятор подачи бензина; 3 - отопитель; 4 - выхлопная труба; 5 - всасывающая труба; 6 - топливный насос; 7 - топливный бак; 8 - дренажная трубка камеры сгорания.

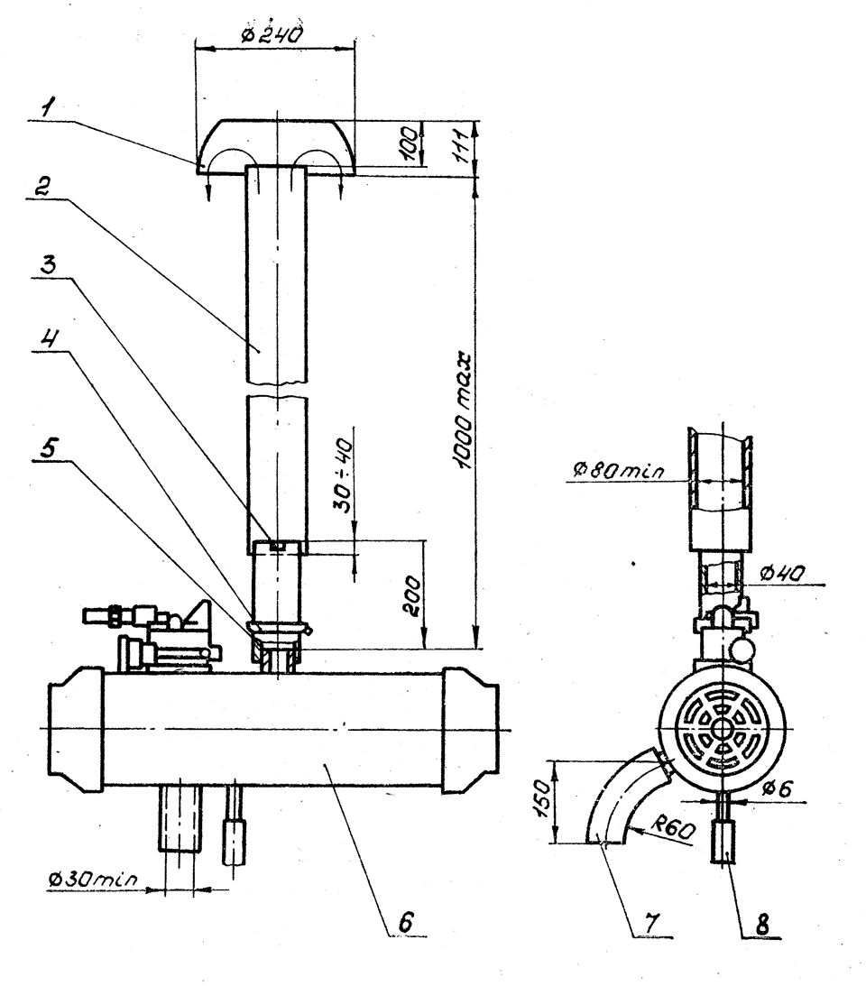
Рис. 7. Отвод выхлопных газов отопительной установки 030-Г. Схема монтажа.
1 - дефлектор; 2 - выхлопная труба; 3 - скоба для крепления выхлопной трубы; 4 - влагоуловитель; 5 - насадка; 6 - отопительная установка 030-Г; 7- всасывающая труба; 8 - дренажная трубка камеры сгорания.
МОНТАЖ
Общие сведения
Установка может быть расположена в любой части автомобиля, кроме помещения для пассажиров, так как от нее может распространяться неприятный запах продуктов сгорания и топлива, а также мест, подверженных загрязнению.
Установка монтируется в горизонтальном положении так, чтобы регулятор подачи бензина находился сверху отопителя строго в вертикальном положении. Монтаж должен быть выполнен согласно монтажной схеме (рис. 6, 7)
Сечение отводящих и подводящих воздухопроводов в зависимости от длины тракта
| Суммарная длина воздухопроводов, подводящих свежий воздух и отводящих теплый воздух, мм | Сечение воздухопроводов | |
| Отопителя О30, мм2 | Отопителя О15, мм2 | |
| 0...500 | ||
| 500...1500 |
При большем увеличении длины отводящих и подводящих воздухопроводов, необходимо установить дополнительно промежуточный вентилятор.
Диаметр и длина трубы, всасывающей воздух для горения, и трубы отвода выхлопных газов при монтаже установки должны быть также выполнены в строгом соответствии с монтажной схемой (см. рис. 6. 7). При подводе бензопроводов необходимо учитывать, чтобы они не проходили рядом или над электрической соединительной панелью.
Сливной бензопровод 9 (см. рис. 1) и 10 (см. рис. 2) рекомендуется отводить в бак с постоянным уклоном без образования контруклонов, петель и горизонтальных участков, способствующих накоплению топлива. Длина бензопровода от бака до регулятора отопителя не должна превышать 3м.
Для отопительных установок типа 030 необходимо предусмотреть отвод излишков бензина из дренажной трубки камеры сгорания.
Недопустимо располагать установку в ящике, выполненном из сгораемого материала.
Трубы, отводящие подогретый воздух и выхлопные газы, должны быть надежно изолированы, особенно в местах проходов через элементы кузова, выполненные из сгораемого материала.
Монтаж электрооборудования отопителей производится по схеме электрооборудования установок (см. рис. 8... 11). Установка должна надежно соединяться с массой. Во избежание короткого замыкания провода должны быть изолированы резиновыми втулками во всех местах пересечения с металлическими стенками.
Для обеспечения нормальной работы электрооборудования отопителей сечение подсоединительных проводов при монтаже следует выбирать таким образом, чтобы в момент запуска:
- у отопителей с электрооборудованием на 12 В напряжение на клеммах электродвигателя, электроклапана, электробензонасоса было не ниже 11 В;
- у отопителей с электрооборудованием на 24 В напряжение на клеммах электродвигателя, электроклапана, электробензонасоса было не ниже 22 В;
- напряжение на клеммах свечи накаливания должно быть 3,9 +0,2 в. Указанное напряжение обеспечить подбором сечения проводов цепи свечи.
После окончания монтажа электрооборудования необходимо убедиться в правильности подсоединения проводов и надежности контактов соединений электроцепи.

Рис. 8. Отопительная установка типа 015 на 12 В. Схема электрическая принципиальная.
1 - панель 4-клеммовая; 2 - бензонасос БН200-А2; 3 - свеча накаливания СР65А1; 4 - электродвигатель МЭ201; 5-катушка клапана; 6 - температурный переключатель; 7 - спираль контрольная; 8 - контрольная лампа ПД20Д; 9 - переключатель П300.

Рис. 9. Отопительная установка типа 015 на 24 В. Схема электрическая принципиальная.
1 - переключатель 2ППН-45; 2 - контрольная лампа ПД20Л; 3 - спираль контрольная; 4 - сопротивление 0,65 ом; 5 - панель 4-клеммовая; 6 - бензонасос; 7 - электродвигатель МЭ208; 8 - катушка клапана; 9 - температурный переключатель; 10 - свеча накаливания СР65А; 11 - предохранитель.

Рис. 10. Отопительная установка типа 030 на 12 В. Схема электрическая принципиальная.
1 - переключатель П300; 2 - бензонасос БН200-А2; 3 - реле отключения при перегреве РС 65; 4 - контрольная лампа ПД20Д; 5 - спираль контрольная; 6 - панель 4-клеммовая; 7 - свеча накаливания СР65А1; 8 - электродвигатель МЭ201; 9 - катушка клапана; 10 - температурный переключатель; 11 - датчик перегрева.

Рис. 11. Отопительная установка типа 030 на 24 В. Схема электрическая принципиальная
1 - бензонасос; 2 - реле отключения при перегреве РС4П4; 3 - контрольная лампа ПД20Л; 4 - спираль контрольная; 5 - панель 4-клеммовая; 6 - свеча накаливания СР65А1; 7 - электродвигатель МЭ208; 8 - катушка клапана; 9 - температурный переключатель; 10 - датчик перегрева; 11 - сопротивление 0,65 ом; 12 - переключатель 2ППН-45; 13 - предохранитель.

Рис. 12. Бензоотстойник.

Рис. 13. Спираль контрольная.
ТЕХНИЧЕСКОЕ ОБСЛУЖИВАНИЕ
Для обеспечения нормальной работы установки необходимо:
1. Производить два раза в отопительный сезон проверку состояния электрооборудования, разборку, чистку и продувку сжатым воздухом теплообменника, бензоотстойника, регулятора подачи бензина, бензопроводов, жиклеров, подводящих и отводящих воздухопроводов, всасывающих и выхлопных труб.
Продувка сжатым воздухом регулятора в сборе и бензопроводов, подсоединенных к нему, не допускается!
2. Через 100 ч работы или по мере надобности:
- продуть теплообменник сжатым воздухом под давлением 0,4...0,6 МПа (4-6 атм), через всасывающим патрубок 14 (см. рис. 1) и 17 (см. рис. 2) или втулки свечи 13 (см. рис. 1) и 14 (см. рис. 2);
- проверить состояние спирали свечи накаливания и зазоры между витками.
При извлечении свечи накаливания убедиться в том, что экран снят вместе с ней, так как возможно пригоранние экрана к втулке. В случае, если экран остался во втулке (витки спирали свечи открыты), его необходимо извлечь проволочным стальным крючком. Удалить нагар мягкой щеткой, установить нормальный зазор между витками спирали (не менее 0,8 мм), установить съемный экран на свечу и, при необходимости, подгибкой отрегулировать равномерный зазор по окружности между экраном и спиралью. При установке свечи из 3ИПа также проверить зазор между экраном и спиралью.
В условиях интенсивной эксплуатации (50 ч в неделю) обслуживание свечи производить не реже 1 раза в 7 дней:
- проверить состояние контрольной спирали, устранить провисание и проверить зазоры между витками, а также надежность контактов спирали (минимальные зазоры между витками, а также зазор между витками и корпусом должны быть 2мм);
- очистить и промыть клапаны бензонасоса;
- очистить от грязи фильтр бензоотстойника, фильтр регулятора подачи бензина, жиклер, бензопроводы и дренажные трубки регулятора и камеры сгорания;
- проверить регулировку температурного переключателя и, если необходимо, отрегулировать включение и выключение регулировочным винтом 6 (см. рис. 3) температурного переключателя и затянуть контргайку;
- проверить герметичность и состояние топливопроводов.
в начало
ПОРЯДОК РАЗБОРКИ И СБОРКИ
Демонтаж отопительных установок производится в следующей последовательности:
- отсоединить электрические провода, питающие соединительную панель отопителя, свечу и клапан, повесив на каждый провод бирку с обозначением (для более удобного последующего монтажа электропроводов);
- отсоединить подводящий и сливной бензопроводы регулятора подачи бензина;
- отсоединить всасывающий (свежий воздух) и отводящий (подогретый воздух) воздухопроводы;
- отсоединить выхлопную трубу и трубу, подводящую свежий воздух в камеру горения;
- освободим отопитель от крепежных хомутов и в месте, удобном для разборки, производить разборку.
Разборку производить в следующем порядке (см. рис 1, 2):
- отсоединить электропровода от клеммной панели и температурного переключателя, датчика перегрева 11 (см. рис. 2), вывернуть всасывающий патрубок;
- отсоединить питательный бензопровод 11 (см. рис. 1) и 13 (см. рис. 2), отвернуть винты, снять регулятор подачи бензина, снять датчик перегрева отопителя 030;
- отвернуть гайку крепления температурного переключателя 4 (см. рис 3), снять его. Затем отвернуть винты крепления передней и задней крышек, кожуха, снять крышки и кожух;
- отвернуть три винта крепления фланца электродвигателя к теплообменнику, снять электродвигатель с крыльчатками, осторожно спрессовать вентилятор 8 с вала электродвигателя 7;
- вывернуть винт нагнетателя 15 (см. рис. 1. 2) и снять его, вывернуть спецгайки и снять фланец и прокладку;
- легким постукиванием по наружной части теплообменника отделить нагар и продуть теплообменник сжатым воздухом под давлением от 0,4 до 0,6 МПа (4-6 атм.).
Чтобы разобрать регулятор подачи бензина (см. рис. 5), необходимо отвернуть винты крепления крышки, снять поплавок 4, если необходимо, проверить его на герметичность в горячей воде, отвернуть пробку фильтра, продуть фильтр, вывернуть жиклер 6, осторожно, не нарушая отверстия, прочистить от грязи и продуть. В случае, если не работает электромагнитный клапан, следует отвернуть винт крышки, осторожно вынуть катушку с пружиной, отвернуть 4 винта корпуса, осторожно снять корпус с тем, чтобы не потерять пружину и сердечник.
Удалить грязь с деталей регулятора, промыть детали в керосине, продуть сжатым воздухом.
Сборка регулятора производится в обратной последовательности. После этого необходимо убедиться в правильности сборки узла клапана проверкой его под напряжением. При замыкании и размыкании цепи катушки должен прослушиваться щелчок сердечника.
Необходимо также проверить работу запорной иглы подачи горючего в случае перелива топлива через сливную трубку, следует промыть топливный клапан, проверить герметичность соединения между корпусом регулятора и корпусом катушки, если наблюдается подтекание - заменить прокладку.
Если температурный переключатель (см. рис. 3) не поддается регулировке (см. раздел 7, п. 2), необходимо отвернуть винты и освободить микровыключатель, проверить его (нажатием) на четкость срабатывания (проверив лампочкой напряжение на клеммах при замыкании и размыкании).
Затем осторожно извлечь кварцевый стержень из трубки, если сломан - заменить. Прочистить трубку, обеспечив свободное перемещение в ней стержня, и приступить к сборке температурного переключателя.
При сборке регулировочный винт провернуть на пол-оборота после щелчка включения клеммы «НР» микровыключателя.
Сборка отопителя производится в последовательности, обратной демонтажу собирается электродвигатель 7 с вентилятором 8, нагнетателем воздуха 15, теплообменником 1, при этом с обеих сторон нагнетателя обеспечиваются зазоры по 1,5 мм. Затем собрать кожух, надеть крышки и убедиться в работе вентилятора и нагнетателя без задевания. После этого устанавливается регулятор подачи бензина, температурный переключатель и подключаются электрические провода на отопителе (см. рис. 8...11).
Проверить правильность монтажа. Запустив отопитель, отрегулировать отключение свечи переключателем при розжиге в течение 45...60с после начала горения и затянуть контргайку.
В случае незапуска отопителя в течение 3 мин необходимо проверить правильность сборки.
Предприятие-изготовитель гарантирует нормальную работу отопительных установок в течение 15 месяцев, а для шасси 135 ЛМ/ЛТМ/ЛМП в течение 60 месяцев при условии, что наработка за этот период не превысит 500 ч при соблюдении потребителем правил хранения, эксплуатации и обслуживания, изложенных в настоящей инструкции.
Гарантийный срок эксплуатации исчисляется с момента исчисления гарантийного срока эксплуатации автомобиля, на котором установлена отопительная установка.
Возможные неисправности и методы их устранения
| Неисправность | Причина неисправности | Методы устранения |
| Установка не запускается. | Неисправны свеча, контрольная спираль. | Проверить, если необходимо, заменит свечу или контрольную спираль. |
| Мало напряжение источника тока. | Увеличить до нормы. | |
| Засорены фильтр, жиклер или каналы регулятора. | Разобрать, очистить, продуть сжатым воздухом. | |
| Не открывается электромагнитный клапан. | Проверить электросоединения. | |
| В случае исправности электросоединений разобрать клапан, устранить заедание сердечника клапана. | ||
| Отсутствует напряжение на электродвигателе, свече или бензонасосе. Не подается топливо бензонасосом. | Проверить электросоединения. | |
| Монтаж электрооборудования выполнен неправильно или имеется обрыв в цепи. | Проверить согласно схеме (см.рис.8...11), устранить обрыв. | |
| Выскочила красная кнопка реле отключения при перегреве (на отопителе О30). | Устранить причину перегрева, утопить кнопку в первоначальное положение. | |
| Сработало предохранительное устройство переключателя. | Устранить замыкание в электропроводке. | |
| Забита выхлопная или всасывающая труба. | Очистить. | |
| При пуске не отключается контрольная спираль, не загорается сигнальная лампа при характерном гуле горения. | Неправильно отрегулирован температурный переключатель. | Повернуть регулировочный винт 6 (см.рис.3) немного влево и затянуть контргайку. |
| Затухает горение. | Всасывающая и выхлопная трубы частично засорены или засорены топливопроводы. | Очистить всасывающую и выхлопную трубы, топливопроводы, жиклер. |
| Негерметично соединение питательного бензопровода. | Проверить пайку, обеспечить герметичность. | |
| Мала теплопроизводительность. | Слишком мала подача топлива. | Прочистить жиклер и промыть фильтр, регулятор, фильтр бензоотстойника. |
| Недостаточно открывается электромагнитный клапан. | Проверить напряжение на катушке (оно должно быть не менее 11 или 22 В), если необходимо, разобрать клапан, устранить заедание. | |
| Отопитель не выключается. | Неправильно отрегулирован температурный переключатель. | регулировочный винт 6 (см.рис.3) повернуть вправо и затянуть контргайку. |
| Если после повторной регулировки переключатель не выключает, то необходимо заменить сломаный кварцевый стержень. | ||
| Наблюдается обильное дымление через выхлоп. | Малы обороты электродвигателя, засорена всасывающая труба. | Проверить напряжение на клеммах электродвигателя. Прочистить всасывающую трубу. |
| Неплотно завернут жиклер | Подвернуть. | |
| Наблюдается перелив топлива из регулятора. | Попал сор под запорную иглу. | Прочистить, притереть иглу. |
| Попало топливо в поплавок. | Удалить топливо и запаять поплавок. | |
| Электродвигатель не вращается. | Мало напряжение на клеммах электродвигателя. | Проверить, устранить падение напряжения. |
| Проводка имеет обрыв или неправильно подсоединена. | Проверит по схеме, устранить обрыв. | |
| Заклинен вал электродвигателя. | Устранить заклинивание вала или задевание крыльчаток. | |
| Отсутствует напряжение на выводных клеммах реле отключения при перегреве отопителя О30. | Прозвонить, разобрать, зачистить подгоревшие контакты. |
ВНИМАНИЕ! При длительном перерыве в пользовании отоплением возможно прилипание резинки сердечника электромагнитного клапана к седлу клапана, которое устраняется легким постукиванием по корпусу электроклапана при включенном состоянии катушки, после чего должен прослушиваться характерный щелчок при включении и выключении клапана.








