Электроакустические преобразователи – устройства, преобразующие электрическую энергию в акустическую (энергию упругих колебаний среды) и обратно. В зависимости от направления преобразования различают: излучатели и приёмники. В основном электроакустические преобразователи производят двойное преобразование энергии: электромеханическое, в результате которого часть подводимой к преобразователю электрической энергии переходит в энергию колебаний некоторой механической системы, и механоакустическое, при котором за счёт колебаний механической системы в среде создаётся звуковое поле.
К особому классу электроакустических преобразователей относятся необратимые приёмники звука, основанные на изменении электрического сопротивления чувствительного элемента под влиянием звукового давления, например угольный микрофон или полупроводниковые приёмники, в которых используется тензорезистивный эффект – зависимость сопротивления полупроводников от механических напряжений.
|
|
|
Когда преобразователь служит излучателем, на его входе задаются электрическое напряжение U и ток i, определяющие его колебательную скорость v и звуковое давление р в его поле; на входе электроакустического преобразователя – приёмника действует давление р или колебательная скорость v, обусловливающие напряжение V и ток I на его выходе (на электрической стороне). Все эти величины характеризуют электроакустические преобразователи. Теоретический расчёт преобразователей предусматривает установление связи между его входными и выходными параметрами.
Свойства электроакустического преобразователя – приёмника характеризуются его чувствительностью в режиме холостого хода и внутренним сопротивлением Z эл. По виду частотной зависимости различают широкополосные и резонансные приёмники. Работу электроакустического преобразователя (ЭП) – излучателя характеризуют: чувствительность, равная отношению р на определённом расстоянии от него на оси характеристики направленности к U или i; внутреннее сопротивление, представляющее собой нагрузку для источника электрической энергии; акустоэлектрический КПД, Zн – сопротивление акустической нагрузки, равное сопротивлению излучения Zs, при контакте ЭП со сплошной средой. Перечисленные параметры зависят от частоты.
Электроакустические преобразователи широко используют для излучения и приёма звука в технике связи и звуковоспроизведения, для измерения и приёма упругих колебаний в ультразвуковой технике, гидролокации и в акустоэлектронике. Наиболее распространённые электроакустические преобразователи линейны, т.е. удовлетворяют требованию неискажённой передачи сигнала, и обратимы, т. е. могут работать и как излучатель, и как приёмник, и подчиняются принципу взаимности.
|
|
|
Еще одним примером использования электроакустических преобразователей может быть угольный микрофон.
Угольный микрофон – необратимый активный акустоэлектрический преобразователь. Принцип действия основан на свойстве угольного порошка изменять сопротивление электрическому току в зависимости от его плотности, изменяющейся под действием звуковых колебаний воздушной среды. Устройство угольного микрофона и схема его включения в электрическую цепь показаны на рис. 1. Основными элементами микрофона являются подвижный и неподвижный электроды, подключенные к электрической цепи, и угольный порошок, заполняющий пространство между электродами. Подвижный электрод жестко связан с мембраной, воспринимающей колебания окружающего слоя воздуха. Элементы микрофона помещены в общий корпус, изготовленный из токонепроводящего материала. Звуковые колебания воздуха приводят к соответствующим колебаниям мембраны. Вместе с мембраной колеблется, совершая горизонтальные движения, подвижный электрод, изменяющий плотность угольного порошка. При увеличении плотности порошка его сопротивление электрическому току уменьшается, а при уменьшении - увеличивается. Следовательно, ток в цепи будет изменяться прямо пропорционально изменению звукового давления

Рис. 1. Угольный микрофон

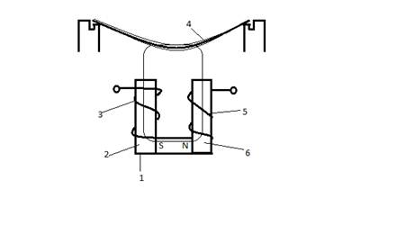
Рис. 2. Электромагнитный телефон
1 – постоянный магнит, 2,6 – полюсные надставки,
3,5 – обмотки, 4 – тонкая мембрана






