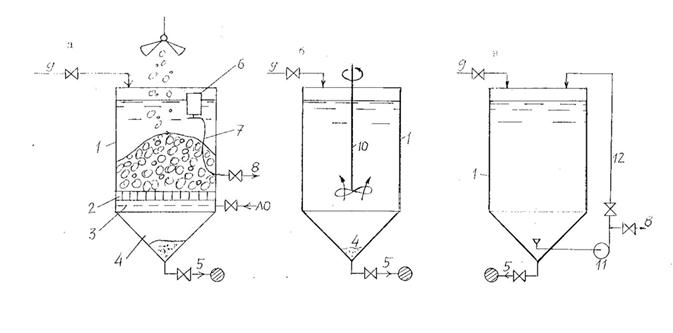
Концентрированный раствор реагента готовится в баках растворов. Растворения можно достичь барботированием сжатого воздуха, механическим или циркуляционным способом. Соответствующие три конструкции баков растворов приведена на рис. 4.5.
После отстаивания концентрированный раствор перепускается в расходные баки, где разбавляется водой до рабочей концентрации (4...10%), а затем дозируется в обрабатываемую воду. На водоочистных комплексах большой производительности (более 1000 м3/сут) растворные и расходные баки сооружают отдельно друг от друга. При малых расходах сточных вод (до 1000 м3/сут) применяют совмещенные расходные для раствора баки, имеющие два параллельно работающих отделения для обеспечения бесперебойной подачи реагента.
![]() |
Рис. 4.5. Баки растворения реагентов: а) барботированием сжатого воздухам, б) механическим перемешиванием, в) циркуляционным перемешиванием; 1 - корпус, 2 - колосники, 3 - дырчатые трубы, 4 - накопитель осадка, 5 - сброса осадка в канализацию, 6 поплавок, 7 - резиновый шланг, 8 - подача раствора на разбавление, 9 - подвод воды из водопровода.







