Для дозирования растворов коагулянтов и флокулянтов в шахтную воду применяют дозаторы трех видов: дозаторы постоянной дозы; пропорциональные дозаторы (автоматически меняют дозу при изменениии расхода обрабатываемой воды); насосы дозаторы. Наиболее распространены дозаторы постоянной дозы. Применение насосов-дозаторов, учитывая их мобильность, весьма перспективно.
Простым дозирующим устройством постоянной дозы является поплавковый дозатор системы В.В.Хованского (рис. 4.6), который размещается в расходном баке. Дозатор обеспечивает (благодаря неизменной высоте уровня водного раствора над диафрагмой) постоянный расход реагента, поступающего через резиновый шланг, независимо от колебания высоты уровня раствора в баке. Изменяя диаметр диафрагмы, можно регулировать количество поступающего раствора. Воздушная трубка необходима, чтобы шланг не работал как сифон.
К автоматическим дозаторам пропорционального расхода относятся бункерные дозаторы, незаменимые для загрязненных растворов реагентов (суспензий) (рис. 4.7).
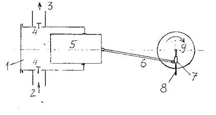
В последние годы все более широко применяют насосы дозаторы: плунжерные и диафрагменные. Наиболее распространены плунжерные насосы типа НД. Подача насосов НД 100-2500 л/ч. Схема плунжерного насоса-дозатора приведена на рис. 4.8.
![]() |
Рис. 4.6. поплавковый дозатор: 1- поплавок, 2 - пригруз, 3 - затратная трубка, 4 - калиброванная шайба, 5 - трубка отвода воздуха, 6 - резиновый шланг, 7 - затратный бак.

Рис. 4.7. Бункерный дозатор: 1 - большой бункер, 2 - малые бункеры, 3 - перегородки, 4 - перелив, 5 - делитель потока; 6 - плоская струя, 7 - рукоятка.
![]() |
Рис.4.8. Схема плунжерного насоса-дозатора: 1 - рабочая камера, 2 - всасывающий патрубок, 3 - нагнетательный патрубок, 4 - клапана, 5 - плунжер, 6 - рычаг, 7 - кулиса, 8 - шток, 9 - вал.








