Стартер-генератор представляет собой шестиполюсную машину постоянного тока, шунтового возбуждения, теплостойкого исполнения и состоит из корпуса, щитов, якоря и редуктора. Стартер-генератор используется при работе в стартерном режиме – для запуска двигателей, а при работе в генераторном режиме – для питания самолетной бортовой сети.
Направление вращения якоря стартер-генератора – левое, если смотреть со стороны привода Исполнение стартер-генератора – полузакрытое; в щитах имеются окна для входа и выхода охлаждающего воздуха.

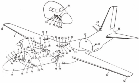
Рис. 1. Размещение основных агрегатов электрооборудования:
1 – автомат обогрева стекол; 2 – РК кабины экипажа; 3 – щит АЗС; 4 – РК приборов ДИМ; 5 – РК контакторов запуска; 6 – панель переменного тока; 7 – щиток энергетики; 8 – сирена; 9 – РК сигнализации и сброса грузов; 10, 36 – аэронавигационные огни; 11,37 – фары ПРФ-4; 12 – РК флюгирования; 13 – автоматическая панель АПД-27 запуска основных двигателей АИ-24ВТ; 14 – РК гондолы; 15, 46 – коробки включения и регулировки КВР-2; 16, 43 – регуляторы напряжения РН-180 2-й серии; 17, 42 – регуляторы напряжения РН-600; 18 – генератор ГС-24Б; 19 – дополнительный двигатель РУ19А-300; 20 – аккумуляторы; 21 – РК аккумуляторов; 22 – преобразователь ПТ-ЮООЦС; 23 – преобразователь ПО-750; 24 – преобразователь ПТ-200Ц; 25 – блок автоматики топливомера; 26 – коробка переключений и регулирования КПР-9; 27 – механизм выключателей МКВ; 28 – РК топливных насосов; 29, 39 -коробки отсечки по частоте КОЧ-1АН; 30 – автомат защиты от перенапряжений АЗП1–1СД; 31 – блок пожаротушения БИ-7; 32 – РУ управления грузовиком; 33 – приборная доска выпускающего; 34. 38 – проблесковый маяк; 35 – хвостовой огонь; 40 – РК проверки АП; 41 – релейная коробка; 44 – генератор Г016ПЧ8; 45 – стартер-генератор СТГ-18ТМ; 47 – панель ПУ-24АМ; 48 – пусковая коробка ПСГ-1А; 49 – левое центральное распределительное устройство (ЦРУ); 50 – правое ЦРУ; 51 – РК 115 В; 52 – автомат защиты от перенапряжений АЗП-8М; 53 -РК пожаротушения; 54 – РК освещения; 55 – коробка контакторов транспортера; 56 – трансформатор ТС310СО4А; 57 – приборная доска штурмана; 58 – электрощиток штурмана; 59 – датчик РИО-3
|
|
|

Рис. 2 Основные трассы электропроводки
Стартер-генератор при работе на самолете охлаждается заборным воздухом, поступающим через заборник на створке капота и патрубок, расположенный со стороны заднего щита. Часть воздуха проходит над якорем, обдувая коллектор, железо якоря и катушки полюсов, и выходит через окна переднего щита. Остальная масть воздуха проходит через осевые каналы внутри якоря и также выходит через окна переднего щита. Для охлаждения при работе на земле стартер-генератор снабжен вентилятором. После окончания запуска двигателя стартер-генератор переходит в генераторный режим работы; обгонная муфта отключает в этом режиме работы редуктор стартер-генератора.
|
|
|
Основные данные Стартер-генератор СТГ-18ТМО
В генераторном режиме:
напряжение, В…………………………………………………. 8,5
отдаваемый ток, А……………………………………………. 600
мощность (при 30 В), кВт…………………………………. 18
режим работы………………………………………………… продолжительный
В стартерном режиме:
напряжение питания, В……………………………………… 30
нагрузочный момент, кг∙м ……………………………… 16
скорость вращения выходною вала, об/мин………. 750
потребляемый ток, А, не более…………………………. 600
Допускаемая влажность воздуха при температуре
плюс 20° С, %…………………………………………………………. До 95–98
Диапазон рабочих температур воздуха, °С……… от плюс 100 до минус 60
Допускаемая ударная перегрузка…4 g при частоте ударов от 60 до 100 в мин






