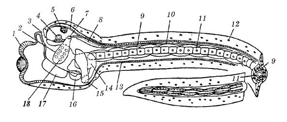
По внешнему облику одиночная асцидия напоминает двугорлую банку (рис. 1), плотно прикрепленную основанием к субстрату и имеющую дваотверстия – ротовой и клоакальный (атриальный) сифоны. Тело снаружи покрыто туникой, обладающей сложной структурой:она одета тонкой, обычно твердой кутикулой, под которой лежит плотная фиброзная сеть, содержащая клетчаткоподобное вещество – туницин (это единственный в мире животных случай образования большого количества вещества, близкого к растительной клетчатке (целлюлозе) и кислые мукополисахариды. Туника выделяется эпителием и обычно пропитывается неорганическими солями, превращаясь в упругую и плотную защитную оболочку. В нее проникают отдельные эпителиальные и мезенхиматозные клетки, нередко и кровеносные сосуды. У одних видов асцидий туника тонкая, гладкая, полупрозрачная, иногда студенистая или желеобразная, у других – толстая, бугристая. У части видов туника плотно прилегает к эктодерме, у других – срастается с ней лишь по краям сифонов.
|
|
|
Под туникой лежит мантия или кожно-мускульуый мешок из однослойного кожного эпителия (эктодермы) и сросшихся с ним двух-трех слоев продольных и поперечных мускульных пучков, лежащих в рыхлой соединительной ткани. В области сифонов расположены особые кольцевые пучки мышц, закрывающие и открывающие эти отверстия. Сокращение и расслабление мантийной мускулатуры наряду с мерцанием ресничек эпителия внутренних стенок ротового сифона обеспечивает нагнетание воды в глотку.
Ротовой сифон ведет в огромную глотку (рис 1, 4), занимающую большую часть тела асцидии. Границу между внутренней поверхностью ротового сифона и стенками глотки образует утолщенный кольцевой валик – околожаберная или окологлоточная борозда, вдоль которой расположены невидимые снаружи тонкие щупальца; у некоторых видов их бывает до 30 штук. Стенки глотки пронизаны множеством мелких жаберных отверстий – стигм, открывающихся не наружу, а в атриальную полость. От дна глотки отходит короткий пищевод, переходящий в расширение – желудок, за которым идет кишка, открывающаяся анальным отверстием в атриальную полость, вблизи клоакального сифона, (рис. 1, 14). По брюшной стороне глотки проходит эндостиль (рис. 1, 7) – желобок, выстланный мерцательным эпителием и имеющий железистые поля, в выделяемой ими слизи содержатся тиреоидные гормоны. С противоположной стороны в полость глотки вдается тонкая подвижная складка – спинная борозда, или пластинка (рис. 1, 8). Движения ресничек мерцательного эпителия, окаймляющего края жаберных отверстий (стигм), создают ток выделенной эндостилем слизи, близ внутренних стенок глотки по направлению к спинной пластинке. Так возникает непрерывно движущаяся пелена («сеть») слизи, улавливающая пищевые частицы из поступившей в глотку через ротовой сифон воды, через жаберные отверстия вытекающей в атриальную полость и через клоакальный сифон – наружу. Потоки слизи с захваченными пищевыми частицами у спинной пластинки превращаются в слизистый жгут, стекающий в пищевод. В желудке и кишечнике пища переваривается и всасывается, а непереваренные остатки через анальное отверстие выбрасываются в атриальную полость и с током воды выводятся наружу. На стенках желудка у некоторых видов имеются складчатые или бугорчатые выпячивания, которые называют печеночными выростами. Их, однако, нельзя считать аналогом печени высших хордовых. Выделяющие пищеварительные ферменты трубчатые пилорические железы расположены в стенке желудка.
|
|
|
Рис. 1. Строение асцидии: А – общий вид; Б – продольный разрез; В – увеличенная часть стенки глотки со стигмами и сосудами: 1 – ротовой сифон, 2 – клоакальный сифон, 3 – ротовые щупальца, 4 – глотка, 5 – кровеносные сосуды, 6 – стигма, 7 – эндостиль, 8 – спинная борозда, 9 – сердце, 10 – туника, 11 – желудок, 12 – семенники, 13 – яичники, 14 – анальное отверстие, 15 – начало пищевода, 16 – нервный узел, 17 – спинной нервный ствол, 18 – суб- невральная железа, 19 – кишечник, 20 – подошва, 21 – эпителий |
Глотка служит и органом дыхания. Кровеносная система оболочников своеобразна. Сердце (рис. 1, 9) имеет вид короткой трубки, от одного конца которой вдоль спинной пластинки идет сосуд, ветвящийся в стенках глотки; сосуды, отходящие от другого конца сердца, направлены к внутренним органам (желудку, кишечнику, половым железам и т. д.) и мантии, где и изливают кровь в небольшие полости – лакуны. Сердце последовательно, в течение нескольких минут, сокращается сначала в одном, потом в противоположном направлении. Поэтому кровь направляется то к внутренним органам и мантии, то в стенки глотки, где она насыщается кислородом. Таким образом, кровообращение заменено маятникообразным движением крови по одним и тем же сосудам, попеременно выполняющим функцию то артерий, то вен. Такой тип «кровообращения», видимо, сокращает трение вязкой жидкости (крови) в очень сложной сети сосудов громадной глотки, в то же время обеспечивая относительно невысокую потребность в кислороде этих сидячих животных.
Глотка и большая часть внутренних органов окружены атриальной полостью, открывающейся наружу клоакальным сифоном (рис. 1, 2); стенки атриальной полости выстланы эктодермой. Между стенкой тела – мантией – и стенками глотки развиваются мезентериальные спайки. Образование атриальной полости усиливает ток воды через глотку, интенсифицируя и дыхание, и пищедобывание. На обращенной к атриальной полости стенке мантии, иногда на стенках кишечника располагаются мелкие вздутия – почечные пузырьки (у некоторых видов развивается один крупный пузырек). В таких «почках накопления» скапливаются кристаллы мочевой кислоты, удаления которых из пузырьков в течение жизни особи не происходит. У некоторых колониальных асцидий продукты азотистого обмена выводятся из организма в окружающую среду в виде аммиака (свойство многих беспозвоночных), одновременно накапливаются и конкреции мочевой кислоты в «почечных пузырьках».
Асцидии, как и остальные оболочники, – гермафродиты. Обычно парные яичники (рис. 1, 13) в виде длинных, заполненных яйцами мешков лежат в полости целома и прикреплены к стенкам мантии; короткие трубчатые яйцеводы открываются в атриальную полость близ клоакального сифона. У некоторых видов есть до десятка небольших округлых яичников. Семенники (рис. 1, 12) в виде многочисленных долек или компактных овальных тел также расположены на стенках мантии; их короткие протоки открываются в атриальную полость. Самооплодотворение предотвращается тем, что у каждой особи половые клетки созревают не одновременно, и поэтому она функционирует то как самец, то как самка. Оплодотворение яиц происходит в воде вне организма или в клоакальном сифоне, куда сперматозоиды проникают с током воды через жаберные отверстия. Оплодотворенные яйца выносятся из клоакального сифона и развиваются вне организма.
|
|
|
В результате развития оплодотворенного яйца образуется хвостатая личинка, резко отличающаяся по строению от взрослых асцидий (рис. 2). личинка асцидии обладает основными характерными признаками хордовых: хордой (рис. 2, 11), расположенной над ней нервной трубкой (рис. 2, 9), глоткой с жаберными отверстиями (рис. 2, 19), но она не питается.
Рис. 2. Схема строения личинки асцидии: 1 – присоска, 2 – закладка атриальной полости, 3 – рот, 4 – статоцист, 5 – глазное пятно, 6 – мозговой пузырек, 7 – атриопор, 8 – висцеральный ганглий, 9 – нервная трубка, 10 – мускульные клетки, 11 – хорда, 12 – свободные клетки в тунике, 13 – эпидермис, 14 – желудок, 15 – кишечник, 16 – сердце, 17 – эндостиль, 18 – жаберные отверстия |
Стадия свободно плавающей личинки продолжается всего несколько часов. На переднем конце ее тела образуются эктодермальные вырос-
ты – сосочки прикрепления (рис. 2, 1), выделяющие клейкую слизь. При их помощи личинка, обнаружив пригодный грунт, прикрепляется к подводному предмету (камню, крупной раковине и т. п.) и проходит регрессивный метаморфоз. Хвост (хорда, нервная трубка, мускульные клетки) подвергается резорбции и постепенно исчезает. Разрастается глотка, в которой резко увеличивается число жаберных отверстий; дифференцируется кишечная трубка, а ее конец прорывается в разросшуюся атриальную полость. Одновременно формируется кровеносная система, образуются гонады (половые железы), перемещаются ротовой и клоакальный сифоны, и тело приобретает характерный для взрослой асцидии мешкообразный вид. В ходе метаморфоза исчезает пигментный глазок (рис. 2, 5) и статоцист (рис. 2, 4), а нервные клетки стенок мозгового пузырька группируются в компактный нервный узел – спинной ганглий.
|
|
|
Помимо полового у асцидии широко распространено и бесполое размножение. Развившаяся из оплодотворенного яйца, осевшая на дно и прошедшая метаморфоз асцидия растет; затем в нижней части ее тела образуется вырост – почкородный столон (иногда их бывает несколько), в который врастают, отростки всех внутренних органов. На конце столона формируются вздутия – почки; в каждой из них путем сложной дифференцировки формируются органы взрослой половой особи. Образовавшиеся в результате почкования животные либо отрываются от столона, падают на грунт и прикрепляются рядом с материнским организмом (одиночные асцидии), либо сохраняют с ним тесную связь (колониальные асцидии).
Специализированная и недолго существующая форетическая личинка, развивающаяся из оплодотворенного яйца, дает асцидиям возможность, расселяясь, занимать части морского дна, отдаленные от места рождения.
Класс асцидий объединяет три отряда: одиночные асцидии (Monascidiae), сложные асцидии (Synascidiae) и огнетелки (Pirosomata).
Обособленное положение занимают пиросомы – сальпоподобные колониальные асцидии (рис. 3). Колония образуется путем почкования. Из оплодотворенного яйца развивается асцидиеподобный зооцид – основатель колонии. Путем почкования возникает группа из четырех крестообразно расположенных особей, лежащих в общей тунике. На их брюшных столонах формируются почки, которые, преобразуясь в зооиды, отрываются от столона и занимают в тунике определенное положение. В результате возникает колония в виде конуса или замкнутой с одного конца пробирки (рис.3, А); она может включать несколько сотен отдельных особей – зооидов (рис.3, Б, 15). Их ротовые сифоны открываются на поверхности колонии (рис.3, 2), а клоакальные – в ее внутреннюю полость (рис.3, 9). Благодаря такому расположению сифонов колония способна к реактивному движению. Около ротового сифона каждого зооида образуется пальцеобразный вырост туники (рис.3, 1). Подвижная расселительная личинка отсутствует. Огнетелками эти животные названы потому, что по бокам передней части глотки у каждого зооида имеются группы клеток, в которых живут симбиотические светящиеся бактерии (рис 3, 6).
Рис 3. Строение пиросомы: А – внешний вид колонии; Б – продольный разрез колонии; В – строение зооида пиросомы: 1 – околоротовой вырост туники; 2 – ротовой сифон; 3 – глотка с жаберными щелями; 4 – спинная пластинка; 5 – эндостиль; 6 – светящиеся органы; 7 – кишечник; 8 – клоака; 9 – клоакальные отверстия; 10 – столон; 11 – волокнистые тяжи туники; 12 – общеколониальная туника; 13 – отверстие полости колонии; 14 – полость колонии; 15 – зооиды |
Сальпы – плавающие (пелагические) морские животные, имеющие общие с асцидиями черты строения, но отличающиеся способностью к реактивному движению – ротовой и клоакальный сифоны расположены на противоположных концах тела (рис. 4), окруженного тонкой, студенистой, полупрозрачной туникой (рис.4, 1). Мантия образована однослойным эпителием, к внутренней поверхности которого прилегают мускульные ленты, наподобие обручей охватывающие тело животного (рис.4, 6). В отличие от взрослых асцидий, имеющих гладкую мускулатуру, у сальп волокна мускульных лент поперечнополосатые. Почти всё тело занимает глоточная и атриальная полости, разделённые перегородкой – спинным выростом. Эта перегородка прободена несколькими жаберными отверстиями – стигмами. По дну глотки проходит хорошо развитый эндостиль (рис.4, 3). От задней части глотки отходит короткий пищевод, переходящий в желудок (рис.4, 10); кишечник открывается в атриальную полость анальным отверстием (рис.4, 11). Сердце лежит под пищеводом (рис.4, 12). В передней части тела на спинной стороне имеется нервный узел – ганглий (рис.4, 5), к которому пимыкает пигментированный глазок (орган световых восптиятий). Под ганглием расположена невральная желёзка, а на некотором расстоянии от него лежит орган равновесия – статоцист, соединённый с ганглием нервом (рис.4, 4).
| Рис. 4. Внешнее и внутреннее строение сальпы: А – внешний вид: 1 – туника; 2 – мышечные тяжи; 3 – ротовой сифон; 4 – глотка; 5 – эндостиль; 6 – жаберное отверстие; 7 – кишка; 8 – клоака; 9 – клоакальный сифон. Б – внутреннее строение сальпы: 1 – туника; 2 – мантия; 3 – ротовой сифон; 4 – глотка; 5 – эндостиль; 6 – жабра; 7 – пищевод; 8 – желудок; 9 – пищеварительная железа; 10 – кишка; 11 – клоака; 12 – клоакальный сифон; 13 – сердце; 14 – почкородныйстолон; 15 – н е р в н ы й г а н глий; 16 – глаз |
Для сальп характерно чередование полового и бесполого поколений (метагенез), обычно связанное с образованием сложных полиморфных колоний.
Представители третьего класса оболочников – аппендикулярии – по внешнему виду и строению похожи на личинок асцидий. Это мелкие плавающие оболочники длиной от нескольких миллиметров до 1–2 см, не имеющие настоящей туники и атриальной полости; жаберных отверстий в глотке только одна пара. Хорда окружена тонкой соединительнотканной оболочкой. Над хордой лежит нервный ствол, а по ее бокам тянутся два мускульных тяжа, образованных гигантскими клетками. Тело окружено прозрачным домиком, форма которого у разных видов неодинакова. Размножаются только половым путем. Таким образом, у аппендикулярий нет чередования поколений, нет бесполого размножения и нет четко выраженной стадии личинки.
Рис. 1. Строение асцидии: А – общий вид; Б – продольный разрез; В – увеличенная часть стенки глотки со стигмами и сосудами: 1 – ротовой сифон, 2 – клоакальный сифон, 3 – ротовые щупальца, 4 – глотка, 5 – кровеносные сосуды, 6 – стигма, 7 – эндостиль, 8 – спинная борозда, 9 – сердце, 10 – туника, 11 – желудок, 12 – семенники, 13 – яичники, 14 – анальное отверстие, 15 – начало пищевода, 16 – нервный узел, 17 – спинной нервный ствол, 18 – суб- невральная железа, 19 – кишечник, 20 – подошва, 21 – эпителий
Рис. 2. Схема строения личинки асцидии: 1 – присоска, 2 – закладка атриальной полости, 3 – рот, 4 – статоцист, 5 – глазное пятно, 6 – мозговой пузырек, 7 – атриопор, 8 – висцеральный ганглий, 9 – нервная трубка, 10 – мускульные клетки, 11 – хорда, 12 – свободные клетки в тунике, 13 – эпидермис, 14 – желудок, 15 – кишечник, 16 – сердце, 17 – эндостиль, 18 – жаберные отверстия
Рис 3. Строение пиросомы: А – внешний вид колонии; Б – продольный разрез колонии; В – строение зооида пиросомы: 1 – околоротовой вырост туники; 2 – ротовой сифон; 3 – глотка с жаберными щелями; 4 – спинная пластинка; 5 – эндостиль; 6 – светящиеся органы; 7 – кишечник; 8 – клоака; 9 – клоакальные отверстия; 10 – столон; 11 – волокнистые тяжи туники; 12 – общеколониальная туника; 13 – отверстие полости колонии; 14 – полость колонии; 15 – зооиды






