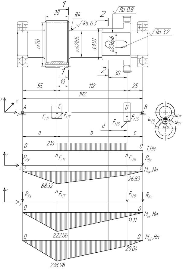
Вал изображен на рисунке 5.1.Материал вала – сталь 25ХГМ, имеющая следующие характеристики:
предел прочности
,
предел текучести при изгибе
,
предел текучести при кручении
,
предел выносливости при изгибе
,
предел выносливости при кручении
,
коэффициенты чувствительности к асимметрии цикла
и
.
Вал упрочнен с помощью закалки ТВЧ.
Из расчетов зубчатых передач редуктора: максимальный крутящий момент
; силы в зацеплении
,
;
,
;
,
; диаметры колес
,
,
.
Размеры по длине вала: установочную базу для подшипников 7607А определяем согласно таблице 2.1:
; из чертежа редуктора:
,
.

Рис. 5.1. Расчетная схема и эпюры моментов промежуточного вала.






